User Manuals

MILO LED PENDANT MOUNT LIGHT
CHANDELIER À DEL MILO
MONTAJE COLGANTE LED MILO

Questions, problems, need help?
Call our customer service department at
1-866-839-2888, 8:00 am – 5:00 pm (EST) Monday to Friday
English and French speaking representatives available
Questions, problèmes ou besoin d’aide?
Contacter notre service à la clientèle au
1-866-839-2888, 8 h à 17 h (HE), du lundi au vendredi
Représentants francophones et anglophones disponibles
¿Preguntas, problemas o necesita ayuda?
Llame a nuestro departamento de servicio al cliente al
1-866-839-2888, 8:00 am – 5:00 pm (HDE) Lunes a Viernes
Representantes disponibles para inglés y francés
Teléfono no válido en México
[email protected]
www.ovedecors.com



CAUTION
Read carefully the following before starting the installation:
- Before starting the installation of this fixture or the removal of a previous fixture, disconnect the power by turning off the circuit breaker or by removing the fuse at the fuse box.
- If you have any doubts or questions about the installation of this fixture, consult a qualified electrician.
- Carefully unpack this fixture, handle with care and place on a soft surface to prevent scratching.
- Before beginning assembly of product, make sure all parts are present. Compare parts with package contents list and hardware contents list. If any part is missing or damaged, do not attempt to assemble the product.
Operation is subject to the following two conditions: - This device may not cause interference.
- This device must accept any interference, including interference that may cause undesired operation of the device.
AVERTISSEMENT
Lisez attentivement ce qui suit avant de commencer l’installation
- Avant de commencer l’installation de ce luminaire ou le démontage d’un luminaire précédent, coupez l’alimentation en éteignant le disjoncteur ou en retirant le fusible au niveau de la boîte à fusibles.
- Si vous avez des doutes ou des questions concernant l’installation de ce luminaire, veuillez faire appel à un électricien qualifié.
- Déballez soigneusement cet appareil, manipulez-le avec soin et placez-le sur une surface souple pour éviter les rayures.
- Avant de commencer l’assemblage du produit, assurez-vous que toutes les pièces sont présentes. Comparez les pièces avec la liste du contenu du paquet et la liste du contenu du matériel. Si une pièce est manquante ou endommagée, n’essayez pas d’assembler le produit.
Le fonctionnement est soumis aux deux conditions suivantes : - Cet appareil ne doit pas causer d’interférences.
- Cet appareil doit accepter toutes les interférences, y compris celles susceptibles de provoquer un fonctionnement indésirable de l’appareil
PRECAUCIÓN
Lea atentamente lo siguiente antes de iniciar la instalación:
- Antes de comenzar la instalación de esta unidad o de retirar una unidad anterior, desconecte la alimentación eléctrica apagando el disyuntor o retirando el fusible de la caja de fusibles.
- Si tiene alguna duda o pregunta sobre la instalación de este aparato, consulte a un electricista cualificado.
- Desembalar cuidadosamente este aparato, manipularlo con cuidado y colocarlo sobre una superficie blanda para evitar que se raye.
- Antes de comenzar el montaje del producto, asegúrese de que todas las piezas estén presentes. Compare las piezas con la lista de contenido del paquete y la lista de contenido del hardware. Si falta alguna pieza o está dañada, no intente montar el producto.
La operación está sujeta a las siguientes dos condiciones: - Este dispositivo no puede causar interferencias.
- Este dispositivo debe aceptar cualquier interferencia, incluida la interferencia que pueda causar un funcionamiento no deseado del dispositivo.


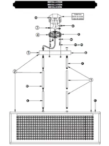
1. Pass the electrical wire of the lamp (C) through the tubes (D & E & F). Screw the tubes (D & E & F) and the lamp (C) together.
1. Passez le fil électrique de la lampe (C) au travers des tubes (D & E & F). Vissez les tubes (D & E & F) et la lampe (C) ensemble.
1. Pase el cable eléctrico de la lámpara (C) a través de los tubos (D y E y F). Atornille los tubos (D y E y F) y la lámpara (C) juntos.
2. Install the lamp (C) to the back plate (B) with tube (F) and the provided nut.
2. Installez la lampe (C) à la plaque arrière (B) avec le tube (F) et l’écrou fourni.
2. Instale la lámpara (C) a la placa posterior (B) con la tubo (F) y la tuerca proporcionada.
3. Pass the electrical wires of the lamp through the mounting plate (A). Connect the lamp’s neutral (N) and live (L) wires to your own, using the twist-cap connectors (EE). Fix the lamp’s grounding wire to the mounting plate (A) by wrapping it around the bolt, and then tightening the bolt. Connect the lamp’s grounding wire to your main grounding wire with a twist-cap connector (EE). Safely stuff the wires inside your outlet box.
3. Passez les fils électriques de la lampe au centre de la plaque de montage (A). Connectez le fil sous tension (L) et le fil neutre (N) de la lampe à vos fils en utilisant les capuchons de connexion dévissables (EE). Fixez le fil de mise à la terre de la lampe à la plaque de montage (A) en l’enroulant autour du boulon et ensuite serrer bien le boulon. Connectez le fil de mise à la terre de la lampe à votre propre fil de mise à la terre en utilisant le capuchon de connexion dévissable (EE). Soigneusement, insérez les fils dans la boîte de sortie.
3. Pasar los cables eléctricos de la lámpara a través de la placa de montaje (A). Conecte el cable neutro (N) y el cable conductor (L) a su cuenta usando los conectores con cabeza de rosca (EE). Sujete el polo a tierra de la lámpara a la placa de montaje (A) envolviéndolo alrededor del perno y apriete bien el perno. Conecte el polo a tierra de la lámpara a su polo a tierra con el conector con cabeza de rosca (EE). Cuidadosamente coloque los cables en el interior de la caja de salida.
4. Install the mounting plate (A) to your outlet box with washers (BB), screws (CC / DD) and nuts (AA).
4. Installez la plaque de montage (A) à votre boîte de sortie avec les rondelles (BB), les vis (CC / DD) et les écrous (AA).
4. Instale la placa de montaje (A) a la caja de salida con las arandelas (BB), los tornillos (CC / DD) y las tuercas (AA).
5. Install the back plate (B) to the mounting plate (A) with provided bolts and nuts. Strongly tighten the nuts.
5. Installez la plaque arrière (B) à la plaque de montage (A) avec les boulons et les écrous fournis. Serrer fermement les écrous.
5. Instalar la placa posterior (B) a la placa de montaje (A) con los pernos y las tuercas suministradas. Apretar fuertemente las tuercas.
CONSUMER RESPONSIBILITIES
The DISTRIBUTOR’s products will remain beautiful for many years it is properly cared for.
The DISTRIBUTOR does not recommend the use of harsh abrasive cleansers on any of its products. Harsh cleansers will damage the finish of your product.
MAINTENANCE
▶For daily maintenance, use a dry cloth.
▶Never use abrasive cleaners or strong bleach, scrapers, metallic brushes, or other objects or any products which can graze or tarnish surfaces.
LIMITED 5 YEAR WARRANTY
This warranty extends only to the original owner user for personal household use only. For commercial uses, additional limitations may apply.
- The DISTRIBUTOR warrants your satisfaction with each product. Should any product not meet your satisfaction due to a visual defect, simply return it to your retailer with the original packaging, PRIOR TO INSTALLATION, for a replacement.
- The DISTRIBUTOR warrants, products to be free from defects in workmanship and materials under normal use and service for a period of 5 year.
- The DISTRIBUTOR will, at its election, repair, replace, or make appropriate adjustment where the DISTRIBUTOR optional inspection discloses any such defects occurring in normal usage within the warranty periods.
- Please note that the DISTRIBUTOR is not responsible for installation or removal costs.
- The DISTRIBUTOR is not responsible for damages caused by electrical surges from lightning or other catastrophic acts of god.
- The DISTRIBUTOR is not responsible for damages caused installations where ambient temperatures exceeds 95 degrees Fahrenheit (35°C).
- Modification of any product’s components may void the warranty. This warranty does not cover any claim arising from abuse, misuse, negligence, accident, improper installation or operation on the part of the purchaser. This warranty is void if the DISTRIBUTOR’s product is subject to alterations, or if repairs were done to the product.
- This warranty does not extend to any components installed by dealers, installers or by any party other than the DISTRIBUTOR.
- Implied warranties, including that of merchantability or fitness for a particular purpose, are expressly limited in duration to the duration of this warranty.
- The DISTRIBUTOR disclaims any liability for special, incidental or consequential damages.
RESPONSABILITÉS DU CLIENT
Les produits du DISTRIBUTEUR garderont leur belle apparence pendant de nombreuses années si l’entretien est approprié.
Le DISTRIBUTEUR ne recommande pas l’utilisation de nettoyants abrasifs sur aucun de ses produits. Les nettoyants abrasifs endommagent le fini de votre produit.
ENTRETIEN
▶Pour l’entretien journalier, utiliser un chiffon sec.
▶Ne jamais utiliser des nettoyants abrasifs contenant de l’acétone, du chlore ou de l’eau de javel, grattoirs, brosses métalliques, ni autres objets ou produits pouvant égratigner ou ternir les surfaces.
GARANTIE LIMITÉE DE 5 AN
Cette garantie s’applique uniquement au propriétaire/utilisateur d’origine à des fins domestiques seulement. L’utilisation à des fins commerciales peut affecter les limites de la garantie.
- Le DISTRIBUTEUR garantit votre satisfaction avec chacun de vos produits. Si un produit n’est pas satisfaisant à cause d’un défaut visuel apparent, veuillez simplement la retourner dans son emballage d’origine chez votre détaillant, AVANT L’INSTALLATION, pour un échange.
- Le DISTRIBUTEUR garantit la fabrication et les matériaux de ses produits dans des conditions normales d’utilisation et d’entretien pendant une période de 5 an à compter de la date d’achat.
- Le DISTRIBUTEUR réparera, remplacera ou effectuera les corrections nécessaires, à son choix, après inspection facultative de sa part, de toute défectuosité survenant dans des conditions normales d’utilisation durant les périodes de garantie.
- Veuillez prendre note que le DISTRIBUTEUR n’est pas responsable des frais d’installation ou de retrait.
- Le DISTRIBUTEUR n’est pas responsable des dommages causés par des surtensions électriques dues à la foudre ou à d’autres actes de dieu catastrophiques.
- Le DISTRIBUTEUR n’est pas responsable des installations endommagées par des dommages où la température ambiante dépasse 35 °C (95 °F).
- Toute modification de toute composante du produit peut entraîner l’annulation de la garantie. Cette garantie est nulle si le produit du DISTRIBUTEUR a été altéré ou si des réparations y ont été effectuées. La garantie n’inclut pas les réclamations résultant d’abus, d’utilisation inadéquate, de négligence, d’accident, d’installation ou de manoeuvre inadéquate de la part de l’acheteur.
- Cette garantie n’inclut pas les composantes installées par le détaillant, l’installateur ou par tout autre parties que le DISTRIBUTEUR.
- Les garanties tacites, incluant la qualité marchande ou l’utilisation pour un usage particulier, sont expressément limitées à la durée de cette garantie.
- Le DISTRIBUTEUR décline toute responsabilité pour dommage particulier, accidentel ou indirect.
RESPONSABILIDADES DEL CONSUMIDOR
Los productos del DISTRIBUIDOR permanecerán hermosos durante muchos años si los cuida correctamente.
El DISTRIBUIDOR no recomienda el uso de limpiadores abrasivos ásperos en ninguno de sus productos. Los limpiadores ásperos dañarán acabado de su productos.
MANTENIMIENTO
▶Para el mantenimiento diario, use un paño seco.
▶Nunca utilice abrasivos o limpiadores que contenga acetona, cloro o blanqueadores fuertes, espátulas o cepillos de cerdas metálicas, ni objetos o productos que puedan raspar o deslucir las superficies.
GARANTÍA LIMITADA DE 5 AÑO
Esta garantía se aplica únicamente al propietario/usuario original para fines domésticos solamente. Para usos comerciales algunas limitaciones adicionales pueden aplicarse.
- El DISTRIBUIDOR garantiza su satisfacción con cada producto. Si cualquier producto no es satisfactoria debido a un defecto visual, sólo tiene que devolverlo en su empaque original a su vendedor, ANTES DE LA INSTALACIÓN, para que sea remplazado.
- El DISTRIBUIDOR garantiza que los productos están libres de defectos en mano de obra y materiales bajo uso y servicio normales, por un periodo de 5 año.
- El DISTRIBUIDOR, a su elección, reparará, remplazará o hará los ajustes apropiados en caso de que la inspección opcional del DISTRIBUIDOR revele la presencia de cualquiera de esos defectos que haya ocurrido en condiciones normales de uso dentro de los periodos de la garantía.
- Sírvase notar que el DISTRIBUIDOR no es responsable de los costos de instalación ni de desinstalación.
- El DISTRIBUIDOR no se responsabiliza por los daños causados por descargas eléctricas de rayos u otros actos catastróficos de Dios.
- El DISTRIBUIDOR no es responsable de los daños causados en instalaciones donde la temperatura ambiente supere los 35 °C (95 °F).
- La modificación de los componentes de contención del producto puede anular la garantía. Esta garantía no cubre reclamaciones surgidas de abuso, mal uso, negligencia, accidente, instalación u operación inapropiada por parte del comprador. Esta garantía será nula si el producto del DISTRIBUIDOR es sujeto a alteraciones, o si se ha hecho reparaciones a el producto.
- Esta garantía no se extiende a ninguna pieza ni componente de plomería instalados por vendedores, instaladores o por cualquier otro diferente del DISTRIBUIDOR.
- Garantías implícitas, incluyendo aquellas de viabilidad comercial o conveniencia para un fin particular, las garantías quedan expresamente limitadas a la duración de esta garantía.
- El DISTRIBUIDOR se deslinda de toda responsabilidad por daños cuantificables, incidentales o indirectos.
Questions, problems, need help?
Call our customer service department at
1-866-839-2888, 8:00 am – 5:00 pm (EST) Monday to Friday
English and French speaking representatives available
Questions, problèmes ou besoin d’aide?
Contacter notre service à la clientèle au
1-866-839-2888, 8 h à 17 h (HE), du lundi au vendredi
Représentants francophones et anglophones disponibles
¿Preguntas, problemas o necesita ayuda?
Llame a nuestro departamento de servicio al cliente al
1-866-839-2888, 8:00 am – 5:00 pm (HDE) Lunes a Viernes
Representantes disponibles para inglés y francés
Teléfono no válido en México
[email protected]
www.ovedecors.com
MADE IN CHINA / FABRIQUÉ EN CHINE / HECHO EN CHINA
Read More About This Manual & Download PDF:
OVE Decors Milo LED Pendant Mount Light – Optimized PDF
OVE Decors Milo LED Pendant Mount Light – Original PDF

















