S10WPK/850/DD/BZ/HD 10 Inch Daylight Bronze LED Wall Pack Security Light
User Guide
S10WPK/850/DD/BZ/HD 10 Inch Daylight Bronze LED Wall Pack Security Light
Questions, problems, missing parts? Before returning to the store, call Commercial Electric Customer Service 8 a.m. – 7 p.m., EST, Monday – Friday, 9 a.m. – 6 p.m., EST, Saturday 1-877-527-0313 HOMEDEPOT.COM
THANK YOU
We appreciate the trust and confidence you have placed in Commercial Electric through the purchase of this LED Wall Mount Pack. We strive to continually create quality products designed to enhance your home. Visit us online to see our full line of products available for your home improvement needs. Thank you for choosing Commercial Electric!
Safety Information
For your safety, always remember to:
- Turn off the power supply at the fuse or circuit breaker box before you install the fixture.
- Ground the fixture to avoid potential electric shock and to ensure reliable starting.
- Double-check all connections to be sure they are tight and correct.
- Wear rubber soled shoes and work on a sturdy wooden ladder.
- Account for small parts and destroy packing material, as these may be hazardous to children.
This fixture is designed for use in a circuit protected by a fuse or circuit breaker. It is also designed to be installed in accordance with local electrical codes. If you are unsure about your wiring, consult a qualified electrician or local electrical inspector, and check your local electrical code. Account for small parts and destroy packing material, as these may be hazardous to children.
Product Specifications:
- 120 VAC, 60 Hz, 20.7 Watts
- Not Dimmable
- Wet Location
Dusk to Dawn Operation:
The light will turn on at dusk and remain on through the night until dawn. The light will remain off throughout the day, until dusk.
NOTE: To make sure this function works properly, always have the switch in the ‘ON’ poistion (including daytime).
WARNING: RISK OF SHOCK. House electric current can cause painful shock or serious injury unless handled properly.
CAUTION: Turn off the main power at the circuit breaker before installing the fixture, in order to prevent possible shock.
WARNING: Changes or modifications to this unit not expressly approved by the party responsible for compliance could void the user’s authority to operate the equipment.
WARNING: RISK OF CUTS. Some metal parts in the fixture may have sharp edges. To prevent cuts and scrapes, wear gloves when handling the parts.
NOTICE: All electrical connections must be in accordance with local and National Electrical Code (N.E.C.) standards. If you are unfamiliar with proper electrical wiring connections obtain the services of a qualified electrician.
Remove the fixture and the mounting package from the box and make sure that no parts are missing by referencing the illustrations on the installation instructions.
Supplier’s Declaration of Conformity:
47 CFR § 2.1077 Compliance Information
Responsible Party:
Feit Electric Company
4901 Gregg Road,
Pico Rivera, CA 90660, USA
562-463-2852
Unique Identifier:
S10WKPK/850/DD/BZ/HD
FCC STATEMENT:
This device complies with part 15 of the FCC Rules. Operation is subject to the following two conditions: (1) This device may not cause harmful interference, and (2) this device must accept any interference received, including interference that may cause undesired operation. Note: This equipment has been tested and found to comply with the limits for a Class B digital device, pursuant to part 15 of the FCC Rules. These limits are designed to provide reasonable protection against harmful interference in a residential installation. This equipment generates, uses and can radiate radio frequency energy and, if not installed and used in accordance with the instructions, may cause harmful interference to radio communications. However, there is no guarantee that interference will not occur in a particular installation. If this equipment does cause harmful interference to radio or television reception, which can be determined by turning the equipment off and on, the user is encouraged to try to correct the interference by one or more of the following measures: Reorient or relocate the receiving antenna. Increase the separation between the equipment and receiver. Connect the equipment into an outlet on a circuit different from that to which the receiver is connected. Consult the dealer or an experienced radio/TV technician for help. Any changes or modifications not expressly approved by the manufacturer could void the user’s authority to operate the equipment.
Limited Warranty
This product is warranted to be free from defects in workmanship and materials for up to 5 years from date of purchase. If it fails to do so, please contact the Customer Service Team at 1-877-527-0313 or visit www.HomeDepot.com.
Pre-Installation
NOTE: Hardware not shown to actual size.
TOOLS REQUIRED
Phillips screwdriver
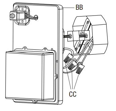
PACKAGE CONTENTS

| Part | Description | Quantity |
| AA | Front Cover (Wall Mount Security Light) | 1 |
| BB | Back Plate | 1 |
| CC | Wire Nuts | 3 |
| DD | J-box Screws | 2 |
| EE | Fixture Screws | 2 |
| FF | Fixture Nuts | 2 |
| GG | Crossbar | 1 |
Wall Mount Installation
- Turning Off the Power
□ Turn the power OFF at the switch and fusebox or the circuit breaker. - Removing Mounting Bracket
□ Remove the Front Cover (AA) from the Back Plate (BB) by unscrewing the 2 Fixture Screws (EE) on the Front Cover (AA). Then remove the Crossbar (GG) from the Back Plate (BB) by unscrewing the 2 Fixture Nuts (FF) holding the Crossbar.
- Mounting the Crossbar
□ Make sure power is off. Mount Crossbar (G) onto J-box using 2 J-box Screws (DD).
- Connecting the Wires
□ Connect the power supply wires to the Back Plate (BB) wires using the Wire Nuts (CC) Connect bare copper wire from Fixture Back Plate (BB) to green or bare copper ground (house) wire, neutral to white and hot to black. Feed the wires into the J-box.
- Mounting Mounting Bracket
□ Mount Mounting Bracket (BB) onto the Crossbar (GG). Hand tighten the Fixture Nuts (FF) to secure it.
- Mounting the Front Cover
□ Mount Front Cover (AA) and 2 Fixture Screws (EE) onto the Back Plate (BB). Hand tighten the 2 Fixture Screws (EE) with a screw driver. To prevent water or moisture from entering the fixture between the fixture and mounting surface, waterproof silicon, caulk or gel should be applied to seal any gaps around the junction point.
Troubleshooting
| Problem | Possible Cause | Solution |
| The light will not illuminate. | The power is off. | Make sure the power supply is on. |
| There is a faulty wire connection. | Check the wiring. Contact a qualified and licensed electrician if you are not comfortable troubleshooting wiring problems. | |
| There is a faulty wire switch. | Test or replace the switch. | |
| The light does not automatically turn off during daylight hours. | The photocell is covered. | Remove any debris and clean the photosensor. |
| The photocell is in a dark or shaded area. | Allow the photocell to recieve direct sunlight. |
Questions, problems, missing parts? Before returning to the store, call Commercial Electric Customer Service
8 a.m. – 7 p.m., EST, Monday – Friday, 9 a.m. – 6 p.m., EST, Saturday
1-877-527-0313
HOMEDEPOT.COM
Retain this manual for future use.






















