
Model No. PRWX50-H-PC-4K-BZ
PRWX80-H-PC-4K-BZ
PRWX50-H-PC-4K-WH
PRWX80-H-PC-4K-WH
POWERWALL X
LED WALLPACK
INSTALLATION,
USAGE, & CARE GUIDE
Visit us online anytime or call us to get information on our product range, download detailed spec & photometric files, find product and mounting accessories, view installation tutorials and videos, and learn about our DLC® rebate eligible products.
Safety Information
IMPORTANT
THIS PRODUCT MUST BE INSTALLED IN ACCORDANCE WITH THE APPLICABLE NATIONAL ELECTRICAL CODE AND LOCAL BUILDING CODES BY A PERSON FAMILIAR WITH THE CONSTRUCTION AND OPERATION OF THE PRODUCT AND THE HAZARDS INVOLVED.
PRECAUTIONS
- Please read and understand this entire manual before attempting to assemble, install, or operate this light fixture.
- This light fixture requires a 120-277 Volt AC power source.
- Some codes require installation by a qualified electrician.
- This light fixture must be properly grounded.
- Make sure connections are secure using wire nuts, crimp-on lugs or other approved connecting devices.
- This light fixture should be installed outdoors to the wall.
WARNING: Before installation or servicing, turn the power OFF at the circuit breaker or fuse. Place tape over the circuit breaker switch and verify power is OFF at the light fixture.
WARNING: Risk of fire. Keep the lamp heads at least 3 in. (76mm) from combustible materials.
CAUTION: Burn hazard. Allow the light fixture to cool before touching.
NOTICE: For dimming use a 0-10V dimming switch
NOTICE: FCC Regulations state that any unauthorized changes or modifications to this equipment not expressly approved by the manufacturer could void the user’s authorization to operate this equipment.
INFORMATION: The device is tested and found to comply with Part 15 of the FCC Rules. Operation is subject to two conditions: (1) This device may not cause harmful interference and, (2) this device must accept any interference received, including any interference that may cause undesired operation. This equipment has been tested and found to comply with the limits for a Class A digital device, pursuant to part 15 of the FCC rules. These limits are designed to provide reasonable protection against harmful interference when the equipment is operated in a commercial environment. The equipment generates, uses, and can radiate radio frequency energy and, if not installed and used in accordance with the instruction manual, may cause harmful interference to radio communications. Operation of the equipment in a residential area is likely to cause harmful interference in which case the user will be required to correct the interference at his own expense.
Pre-Installation
PLANNING INSTALLATION
Before installing the light fixture, ensure that all parts are present. Compare parts with the Hardware Included and Package Contents sections. If any part is missing or damaged, do not attempt to assemble, install, or operate this light fixture.
SPECIFICATIONS
| Lumens (Light Output) | 6500 Lumens | 10,000 Lumens |
| Watts (Power Consumption) | 50 Watts LED | 80 Watts LED |
| Replaces | 450W Incandescent | 650W Incandescent |
| Lumens/Watts (Efficacy) | 130 Lumens per watt | 125 Lumens per watt |
| Power Requirements (Input Voltage) | 120-277VAC | |
| Light Color (CCT) | 4000 Kelvin (Bright White) | |
| Dimmable | Dimming (When used with a 0-10V dimming switch) | |
| Operating Modes | Dusk-to-Dawn: Automatically turns light fixture ON during night and OFF during day. Switch-Controlled: Flip the switch to turn the light fixture ON and OFF (Use included light sensor cap on the fixture’s light sensor to utilize this mode setting). | |
TOOLS REQUIRED

Pre-Installation (continued)
PACKAGE CONTENTS
| Part | Description | Quantity |
| A | Light fixture | 1 |
| B | Mounting plate tightening screw (pre-installed) | 2 |
| C | Conduit entry knock-out feature | 1 |
| D | Photocell black opaque cap cover | 1 |
| E | Leveling bubble | 1 |
| F | Mounting plate | 1 |
HARDWARE KIT
NOTE: Hardware not shown to actual size.

| Part | Description | Quantity |
| AA | #8-32 x 3/4″ Philips head screw | 2 |
| BB | Wire nut | 3 |
| CC | Hex head screwdriver | 1 |
| DD | Clear photocell cover cap | 1 |
Preparing for Installation
- The fixture can be mounted in the following two ways:
- Junction Box Mount: Use a junction box to mount the fixture.
- Surface Conduit Mount: The fixture can also be mounted directly on the wall surface using conduit entry.

- When mounting fixture, for Dusk to Dawn operation, make sure the photocell orientation is at the top for wall mount, in an area that receives daylight and is not too close to reflective surfaces.
- When installing two fixtures on one switch, make sure the switch is rated for at least a 1A inductive load.
- If dimming, use a 0-10V dimming switch.

NOTE: Mounting base (D) mounts to recessed mounted standard junction boxes or to the surface directly. The junction box must be at least 1-1/2 inch in depth for proper installation for recessed mount application (fig 1).
SHUT OFF ELECTRIC POWER OFF
- Verify wall switch is in the OFF position (fig 2).
- At the main electrical panel, turn off the circuit breaker that supplies power to the junction box you are working on (fig 3).
- For screw-in-type fuses, unscrew the fuse that supplies power to the junction box you are working on (fig 4).

Installation (continued)
REMOVE THE MOUNTING PLATE
- Loosen the mounting plate tightening screw (C) using a hex head screwdriver (CC) and remove the mounting plate (F) from the fixture. (fig.5)

NOTE: The mounting plate tightening screw (B) comes pre-installed on the light fixture. The tightening screw should not be completely removed.
INSTALLING THE MOUNTING PLATE
FOR MOUNTING TO A JUNCTION BOX
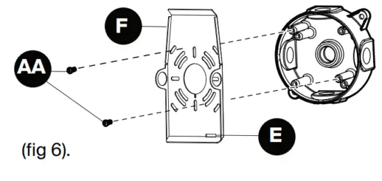
- Route the junction box wires through the large center hole in the mounting plate (F).
- Align the holes on the mounting plate (F) with the holes on your junction box. Use two #8 screws (AA), depending on the size of the holes in your junction box, to attach the mounting plate (F) to your junction box. (fig.6)

NOTE: Use the leveling bubble (E) inside the mounting plate (F) to adjust mounting for a level install.
Installation (continued)
ELECTRICAL CONNECTIONS
- If necessary, strip 3/8″ of insulation from the junction box and lighting fixture wires (fig 8).
- Affix the fixture hands-free hanging wire hook (the metal cable found on the back of the fixture) to the small U-Shaped slot located on the bottom of the mounting plate
(F) (fig 9). This hanging wire allows the fixture to hang in place while freeing both hands for your electrical connections.

WHEN USING SIDE CONDUIT ENTRIES
(No junction box present)
- Remove the conduit entry knock-out (B) on the sides of the light fixture (A)
- Thread the wires through the conduit entry on the mounting plate (F) as shown in fig 10. Secure the conduit to the mounting plate (F) and make wire connections as shown in fig 11 or 12.
- Hang light fixture (A) on mounting plate (F)
- Tighten the mounting plate tightening screw (C) to secure the light fixture to the mounting plate (F)

Installation (continued)
FOR NON-DIMMING ELECTRICAL WIRING
(Follow these steps when NOT wiring to a 0-10V dimmer)
- Connect lighting fixture black wire to junction box black wire (line), lighting fixture white wire to junction box white wire (common), and the lighting fixture green wire to the junction box ground wire (fig 11).
- For the purple and gray fixture wires either leave the wires unstripped or individually terminate the fixture’s purple and gray wires with wire nuts to prevent shorting (fig 11).
TIP: Hold stripped ends near each other and align any frayed strands (do not twist wires). Push the wires into the wire nut (BB) and use your fingers to twist the wire nut clockwise until tight. Check for tightness by pulling wires.

NOTICE: Leave Purple & Gray wires terminated & separated when NOT connecting to a 0-10V dimmer. DO NOT connect the purple and gray wires to any other wire unless wiring to a 0-10V dimmer.
FOR ELECTRICAL WIRING TO O-10V DIMMER
(Follow these steps when wiring to a 0-10V dimmer)
- Connect lighting fixture black wire to junction box black wire (line), lighting fixture white wire to junction box white wire (common), and the lighting fixture green wire to the junction box ground wire.
- For dimming, when connecting to a 0-10V dimmer, connect the lighting fixture purple wire to the dimmer switch purple wire (+ DIM) and the lighting fixture gray wire to
the dimmer switch gray wire (- DIM). (fig 12)

Installation (continued)
MOUNTING THE LIGHT FIXTURE
- Once electrical connections are complete, push wires and connections into the junction box and hang the fixture by attaching the back of the fixture to the mounting plate (F)
- Tighten the one mounting plate tightening screw (C) to secure the fixture to the mounting plate (F). (fig. 13)

CAULKING AROUND THE LIGHT FIXTURE
- Caulk around the back face of the light fixture shown in fig 14 with silicone sealant (not included).
NOTICE: Failure to properly caulk around the back face of the light fixture and mounting surface could lead to water damage and is not covered under warranty.
NOTE: When attaching this light fixture to an extruded surface mount junction box, caulk between the junction box and the mounting plate.
Operation
SELECTING DUSK-TO-DAWN OR SWITCH-ACTIVATED CONTROL OPTION 1: DUSK-TO-DAWN OPERATION
Dusk-to-dawn operation enables the light fixture to automatically turn ON when dark outside and turn OFF when the sun rises, thus saving you energy.
- To enable dusk-to-dawn operation, remove the black opaque cap cover (D) installed on the fixture. Note: Ensure the photocell is unobstructed. (fig 15)

- Ensure the switch powering the outlet connected to the light fixture is turned to the ON position and leave it ON at all times to enable dusk-to-dawn functionality to operate automatically.
TIP: To test if the light fixture and photocell work properly, run power to the fixture and cover the photocell to turn fixture ON. Shine a light into the photocell to see if the fixture turns OFF.
NOTE: If the photocell is located in an area under heavy shade, the photocell may not detect enough light and may turn the light fixture on.
OPTION 2: SWITCH CONTROLLED
Switch-controlled operation enables the light fixture to turn ON and OFF by flipping a switch that controls the electricity to the outlet powering the fixture. The light fixture will not turn ON and OFF automatically but is manually controlled.
- To enable switch activated operation leave the black cap cover (D) on the photocell. (fig 16)

Care and Cleaning
- Shut off the main power supply before cleaning the product. To prolong the original appearance, clean the light fixture with clear water and a soft, damp cloth only.
- Do not use abrasive cleaners or cleaners that contain alcohol. Do not apply paints, solvents, or any other chemicals to this light fixture. They could cause premature deterioration of the finish and may void the warranty.
- Do not spray the light fixture with a hose or power washer.
Troubleshooting
| Problem | Possible Cause | Solution |
| Light does not turn ON | No power to the fixture | Check if the circuit breaker is tripped Confirm the wall switch is ON Verify wiring to fixture is correct (turn power off to fixture beforehand) |
| Fixture is sensing daylight | Cover photocell. Wait several seconds until the fixture turns ON. | |
| Light cycles ON and OFF continuously | Photocell light sensor is sensing reflected light | Relocate the light fixture to a location where there is no reflected light. OR place the black cap cover over the photocell and use the wall switch to turn the light fixture ON and OFF. |
| Light FLICKERS | The light fixture is wired through an unsuitable dimmer | Replace the dimmer with a 0-10V dimming switch or a standard ON/OFF wall switch. |
| Light stays ON | Photocell is in a shaded area | Shine a flashlight into the photocell and wait a couple minutes. If the light turns OFF, the fixture should be moved to a location with enough light in the daylight hours for the photocell to work. OR place the optional opaque cover over the photocell and use the wall switch to turn the light ON and OFF. |
| Photocell is faulty | If the light does not turn off when a flashlight is shone on the photocell for a few minutes, then the photocell may be faulty. Please contact customer service. |
NOTE: Photocell may have a few minutes delay during troubleshooting. When testing, shine a light and/or cover the photocell and allow a few minutes for the fixture to function properly.
5-Year Limited Warranty
This is a limited warranty offered by Probrite for a period of five years from the date of purchase to its customers. Probate warrants to customers that the products will be free from defects in material and workmanship. The obligation of Probrite under this warranty is limited to the provision of replacement of products and is extended to the original purchaser of the product on presenting a valid purchase receipt or other proof of date of original purchase acceptable to Probate. The receipt is required for rendering the warranty performance. Any warranty claims without original proof of purchase would not be accepted.
It should be noted that the warranty does not apply to Probrite products that have been altered or repaired by unauthorized personnel or have been subjected to neglect, abuse, misuse or accident or damages caused during shipping. Any other products not manufactured by Probrite which have been supplied, installed, and/or used in conjunction with Probrite products are not covered under this warranty. Any damages caused by replacements bulbs, LEDs or corrosion or discoloration of brass components are also not covered by this warranty.
Limitation of Liability:
In no event, Probrite shall be liable for indirect, consequential, incidental or special damages, or lost profits. Probate is not liable for any claims or damage arising out of or connected with the manufacture, sale, delivery, use, maintenance, and repair or modification of Probrite products, or supply of any replacement parts that, exceed the purchase price of Probrite products giving rise to a claim. Labor charges to remove or install the fixtures will not be accepted.
To Claim:
Please contact PROBRITE customer service at 1-844-507-5651 or email [email protected] and include your name, address and contact number, along with a copy of the purchase receipt and a brief description of the problem.
Installation (continued)
WHEN DIRECT SURFACE MOUNTING USING SIDE CONDUIT ENTRY WIRING
(No junction box present)
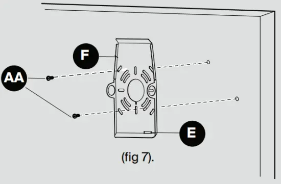
- Mark and drill two to four holes on the wall surface as per the desired location for attaching the mounting plate (F).
- Use two or more suitable screws (not included) to attach the mounting plate (F) to the surface. (fig.7)

NOTE: Use the leveling bubble (E) inside the mounting plate (F) to adjust mounting for a
![]()
Questions? / Missing Parts? / Need Accessories?
Before returning to the store, call, text, or email us
1-844-507-5651
[email protected]
www.probrite.com
RETAIN THIS MANUAL FOR FUTURE USE
Para las translaciones en español,
visit www.probrite.com/install

















