PMD 200 Jobsite Layout Tool
Instruction Manual
![]() | ![]() |
![]() | |
Information about the documentation
1.1 About this documentation
- Read this documentation before initial operation or use. This is a prerequisite for safe, trouble-free handling and use of the product.
- Observe the safety instructions and warnings in this documentation and on the product.
- Always keep the operating instructions with the product and make sure that the operating instructions are with the product when it is given to other persons.
1.2 Explanation of symbols used
Warnings
Warnings alert persons to hazards that occur when handling or using the product. The following signal words are used:
DANGER
DANGER!
- Draws attention to imminent danger that will lead to serious personal injury or fatality.
WARNING
WARNING!
- Draws attention to a potential threat of danger that can lead to serious injury or fatality.
CAUTION
CAUTION!
- Draws attention to a potentially dangerous situation that could lead to personal injury or damage to the equipment or other property.
Symbols in the documentation
The following symbols are used in this document:
| Read the operating instructions before use. | |
| Instructions for use and other useful information | |
| Dealing with recyclable materials | |
| Do not dispose of electric equipment and batteries as household waste |
Symbols in the illustrations
The following symbols are used in illustrations:
| 2 | These numbers refer to the corresponding illustrations found at the beginning of these operating instructions |
| 3 | The numbering reflects the sequence of operations shown in the illustrations and may deviate from the steps described in the text |
| 11 | Item reference numbers are used in the overview illustrations and refer to the numbers used in the product overview section |
| This symbol is intended to draw special attention to certain points when handling the product. |
1.3 Product-dependent symbols
Symbols on the product
The following symbols can be used on the product:
| The device supports near-field communication (NFC) technology, which is compatible with Android platforms. | |
| Hilti Li-ion battery type series used. Observe the information given in the section headed Intended use. | |
| Li-ion battery | |
| Battery state of charge indicator | |
| On/off button | |
| Never use the battery as a striking tool. | |
| Do not drop the battery. Never use a battery that has suffered an impact or is damaged in any other way. |
1.4 Sticker on the product
Laser information
| Laser class 2, based on the IEC/EN 60825-1:2014 standard and corresponding to CFR 21 Sec. 1040. Do not look straight into the laser beam. |
1.5 Product information
products are designed for professional users and only trained, authorized personnel are permitted to operate, service, and maintain the products. This personnel must be specifically informed about the possible hazards. The product and its ancillary equipment can present hazards if used incorrectly by untrained personnel or if used not in accordance with the intended use.
The type designation and serial number are printed on the rating plate.
- Write down the serial number in the table below. You will be required to state the product details when contacting Hilti Service or your local Hilti organization to inquire about the product.
Product information
| Layout tool | PMD 200 |
| Generation | 1 |
| Serial no. |
1.6 Declaration of conformity
We declare, on our sole responsibility, that the product described here complies with the applicable directives and standards.
Conditions: Not USA
A copy of the declaration of conformity can be found at the end of this documentation.
The technical documentation is filed and stored here:
Hilti Entwicklungsgesellschaft mbH | Tool Certification | Hiltistrasse 6 | 86916 Kaufering, Germany
Safety
2.1 General safety rules
WARNING! Read all safety precautions and other instructions. Failure to observe the safety instructions and other instructions can result in electric shock, fire, and/or serious injury.
Keep all safety precautions and instructions for future reference.
Personal safety
- Stay alert, watch what you are doing, and use common sense when operating a measuring tool. Do not use a measuring tool while you are tired or under the influence of drugs, alcohol, or medication. A moment of inattention while operating the measuring tool can result in serious injuries.
- Do not allow yourself to be lulled into a false sense of security and do not flout the safety rules for tools, even if you are familiar with the tool after using it many times. Carelessness can result in serious injury within a fraction of a second.
- Keep children and other persons away from the working area.
Electrical safety
- Do not expose the product to rain or moisture. Water entering an electric device increases the risk of electric shock.
Using and handling the measuring tool
- Due to the principle employed, the results of measurements may be negatively affected by the surrounding conditions. This includes, for example, close proximity to products that generate powerful magnetic or electromagnetic fields, taking measurements from unsuitable surfaces, and use of unsuitable reflectors.
- When the product is brought into a warm environment from very cold conditions, or vice-versa, allow it to become acclimatized before use.
- Check the accuracy of the product if it has been dropped or subjected to other mechanical stresses.
- Do not use the product for purposes for which it was not intended. Use it only as directed and when in faultless condition.
Using and handling the cordless power tool - Use only the specified batteries in the measuring tools. The use of other batteries can result in injury and a risk of fire.
- Recharge only with the charger specified by the manufacturer. A charger that is suitable for a certain type of battery may present a risk of fire when used with other types of battery.
- Paper clips, coins, keys, nails, screws, and other small metal objects that could short-circuit the electrical contacts must be kept away from batteries that are not in use and away from battery chargers. Shortcircuiting the contacts on a battery or charger can cause burn injuries or start a fire.
- Under abusive conditions, liquid may be ejected from the battery. Avoid contact with the liquid. Liquid leaking from the battery may cause skin irritation or burns.
- Disconnect the plug from the power source and/or remove the battery before making any adjustments, changing accessories, or storing the appliance. This precaution reduces the risk of the power tool starting accidentally.
- Remove the battery before storing or transporting the product. Store the product in a dry place where it cannot be accessed by children or unauthorized persons.
2.2 Product-specific safety instructions
Using and handling the measuring tool
- Rapidly changing measuring conditions can falsify the result of measurement.
- Keep the product clean and dry at all times.
- Always check the device settings before using it.
- Use the product only within its specified limits.
2.3 Additional safety instructions
Work area safety
- Keep the work area clean and uncluttered and watch out for supply cords routed in the work area.
Carelessly routed supply cords can constitute trip hazards and lead to injuries. Measuring tools mounted
on tripods can topple and be damaged if a supply cord is accidentally pulled. Make sure you are aware of
everything that is happening around you when you change position while using the remote control unit.
Personal safety
- The product complies with Laser Class 2 in accordance with IEC/EN 60825-1:2014 in accordance with CFR 21 Sec. 1040 (FDA). This product may be used without the need for further protective measures.
Nevertheless, as with the sun, do not look directly into the light source. If you do inadvertently look into the laser beam, immediately close your eyes and move your head clear of the laser beam. Do not aim the laser beam at persons. - If the product falls from an elevated position there is a risk of injury to persons. Use only tripods recommended by Hilti.
- Wear your personal protective equipment and always wear protective glasses. Depending on the type of product you are using and its purpose, wearing personal protective equipment such as a dust mask, non-slip safety shoes, hard hat, or hearing protection reduces the risk of injury.
Using and handling the measuring tool
- Maintain the measuring tool carefully. Check that moving parts are in full working order and do not jam and make sure there are no parts that are broken or damaged in such a way as to impair the operation of the measuring tool. Have damaged parts been repaired before using the tool? Poor maintenance of measuring tools is the cause of many accidents.
- Make sure that the scanning tool is standing firmly on all three of its rests or is correctly secured to the tripod recommended by Hilti.
- To avoid inaccuracies, always make sure that the target plate is always perfectly plumb when points are marked. Use the adjusting screw and the bubble level for adjusting and checking.
- Never use a damaged target plate. Risk of inaccurate measurement.
- Check the accuracy of the product before use and several times during use.
- Although the measuring tool complies with the strict requirements of the applicable directives, Hilti cannot entirely rule out the possibility of interference caused by powerful electromagnetic radiation, possibly leading to incorrect operation.
2.4 Careful handling and use of batteries
- Observe the special guidelines applicable to the transport, storage, and use of lithium-ion batteries.
- Do not expose batteries to high temperatures, direct sunlight, or fire.
- Do not disassemble, crush or incinerate batteries and do not subject them to temperatures over 80 °C (176 °F).
- Do not use or charge batteries that have suffered the mechanical impact, have been dropped from a height, or show signs of damage. In this case, always contact your Hilti Service.
- If the battery is too hot to touch it may be defective. Put the battery in a place where it is clearly visible and where there is no risk of fire, at an adequate distance from flammable materials. Allow the battery to cool down. If it is still too hot to touch after an hour, the battery is faulty. Contact Hilti Service.
Description
3.1 Product overview (PMD 200 layout tool) 1
| 1. Battery | 3. Laser exit window |
| 2. Grip | 4. On/off button |
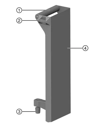
3.2 Product overview (PMDA 200 target plate) 2

| 1. Grip | 3. Adjusting screw |
| 2. Bubble level | 4. Target plate |
3.3 Intended use
The product described is a layout tool that is controlled with the PMD 200 application pre-installed on the tablet (PMC 200). It is designed to enable the operator to transfer points from the drawing to the job site without the assistance of a second person. The layout tool has a green (vertical) laser line and a built-in laser range-finder module (red dot).
- Documentation of the tablet (PMC 200): See the supplier’s documentation (enclosed).
- With this product, use only the Hilti Liion batteries of the B 12 series stated at the end of this document.
- Use only Hilti-approved battery chargers to charge these batteries. More information is available from your Hilti Store or from: www.hilti.group
3.4 Bluetooth®
This layout tool has Bluetooth.
Bluetooth is a wireless data transfer protocol with which two Bluetooth-enabled devices can communicate with each other over a certain distance. The layout tool pairs with the tablet by means of the pre-installed PMD 200 application.
products are delivered with Bluetooth switched on by default.
3.5 Third-party wordmarks, trademarks and logos
The Bluetooth® wordmark and the logo are registered trademarks and the property of Bluetooth SIG, Inc.
and Hilti has been granted a license to use these trademarks.
Google Play and Android™ are trademarks of Google LLC.
All other trademarks and wordmarks used, even when not expressly stated or marked as such, are the property of their applicable owners.
3.6 Items supplied
Layout tool, 2 batteries, charger, tablet with charger and protective cover, target plate, manufacturer’s certificate, operating instructions and Hilti case Other system products approved for use with this product can be found at your local Hilti Store or at: www.hilti.group
Technical data
Conditions (with 2 σ standard deviation)
* favorable conditions: moderate temperature range, no strong ambient light sources (e.g. direct sunlight), bright and diffusely reflective target background
** unfavorable conditions: temperatures at the low or high end of the tolerance range, strong or direct ambient light sources, target background with very low or very high reflection
| PMD 200 | ||
| Typical battery life with B 1W4.0 battery at 23 °C/73 °F | 8 h | |
| Weight in accordance with EPTA procedure 01 | 2.9 kg (6.4 lb) | |
| Self-leveling range | ±3.5° | |
| Working range (radius) under favorable conditions* | 25 m (85 ft) | |
| Laser class | Line laser (green) | 2 |
| Range-finding laser (red) | 2 | |
| Output power | Line laser (green) | < 1 mW |
| Range-finding laser (red) | < 1 mW | |
| Pulse duration | Range-finding laser (red) | < 2 ns |
| Frequency | Range-finding laser (red) | < 100 MHz |
| Beam angle | Line laser (green) | 90° |
| Wavelength | Line laser (green) | 510 nm |
| Range-finding laser (red) | 635 nm | |
| Beam divergence | Line laser (green) | 0.05 mrad … 0.08 mrad |
| Range-finding laser (red) | 0.2 mrad … 0.45 mrad | |
| Bluetooth version | Bluetooth Low Energy 5.0 | |
| Bluetooth power | 6.31 mW | |
| PMD 200 | |
| Bluetooth frequency | 2,400 MHz … 2,483.5 MHz |
| Degree of protection (IEC 60529) without battery | IP 54 |
| Tripod mount (BSW) | 5/8 in |
| System measuring accuracy under favorable conditions* | ±3 mm (±0.1 in) |
| System measuring accuracy under unfavorable conditions** | ±5 mm (±0.2 in) |
| Storage temperature | -20 °C … 70 °C (-4 ‘F … 158 °F) |
| Ambient temperature for operation | -10 °C … 40 °C (14 -F … 104 °F) |
| Rated voltage | 10.8 V |
| Rated current | 350 mA |
| Max. site elevation | 2000 m / 6560 ft AMSL |
| Max. humidity | 80 °/0 |
4.1 Tablet
The technical data below constitute the minimum requirements for running the PMD 200 application.
| PMC 200 | |
| Operating system | Android 7.0 |
| Bluetooth | BLE |
| Display resolution | 1,920 x 1,200 |
4.2 Battery
| Battery operating voltage | 10.8 V |
| Ambient temperature for operation | −17 ℃ … 60 ℃ (1 ℉ … 140 ℉) |
| Storage temperature | −20 ℃ … 40 ℃ (−4 ℉ … 104 ℉) |
| Battery charging starting temperature | −10 ℃ … 45 ℃ (14 ℉ … 113 ℉) |
Preparations at the workplace
Observe the safety instructions and warnings in this documentation and on the product.
5.1 Charging the battery
- Before charging the battery, read the operating instructions for the charger.
- Make sure that the contacts on the battery and the contacts on the charger are clean and dry.
- Use an approved charger to charge the battery. → page 15
5.2 Inserting the battery
WARNING
Risk of injury by short circuit or falling battery!
▶ Before inserting the battery, make sure that the contacts on the battery and the contacts on the product are free of foreign matter.
▶ Make sure that the battery always engages correctly.
- Charge the battery fully before using it for the first time.
- Push the battery into the product until it engages with an audible click.
- Check that the battery is seated securely.
5.3 Removing the battery
- Press the battery release button.
- Remove the battery from the product.
Operation
Observe the safety instructions and warnings in this documentation and on the product.
6.1 Viewing detailed operating instructions, 3
- For a step-by-step description of operating procedures, scan the QR code at the end of these operating instructions or follow the instructions in the Help function of the app.
▶ You will be taken to the online version. - There is a quick-start guide to the operating procedures at the start of these operating instructions.
Care and maintenance
WARNING
Risk of injury with the battery inserted!
▶ Always remove the battery before carrying out care and maintenance tasks!
Care and maintenance of the tool
- Carefully remove stubborn dirt from the tool.
- Carefully remove dust with a dry brush or cloth.
- Use only a slightly damp cloth to clean the casing. Do not use cleaning agents containing silicone as these may attack the plastic parts.
Care of the Liion batteries
- Keep the battery free from oil and grease.
- Use only a slightly damp cloth to clean the casing. Do not use cleaning agents containing silicone as these may attack the plastic parts.
- Avoid ingress moisture.
Maintenance
- Check all visible parts and controls for signs of damage at regular intervals and make sure that they all
function correctly. - Do not operate the cordless tool if signs of damage are found or if parts malfunction. Have the tool
repaired by Hilti Service immediately. - After cleaning and maintenance, fit all guards or protective devices and check that they function correctly.
Cleaning the laser exit window
- Blow the dust off the laser exit window.
- Do not touch the laser exit window with your fingers.
Coarse cleaning materials can scratch the glass, impairing the accuracy of the device. Use only pure alcohol or water for cleaning, as other liquids can attack the plastic parts.
Observe the temperature limits when drying the equipment.
Transport and storage of cordless tools
Transport
- Remove the battery.
- Never transport batteries in bulk form (loose, unprotected).
- Check tools and batteries for damage before use after long periods of transport.
Storage
WARNING
Accidental damage caused by defective or leaking batteries!
- Always store your products with the batteries removed!
- Store the tool and battery in a place that is as cool and dry as possible.
- Never store batteries in direct sunlight, on heating units, or behind a window pane.
- Store the tool and batteries in a place where they cannot be accessed by children or unauthorized persons.
- Check the tool and batteries for damage before use after long periods of storage.
Troubleshooting
If the trouble you are experiencing is not listed in this table or you are unable to remedy the problem by yourself, please contact Hilti Service.
| Trouble or fault | Possible cause | Action to be taken |
| Layout tool and/or tablet can- not be switched on. | The battery is low. | ► Charge the battery. |
| The PMD 200 app is not available. | The app is in a submenu on the tablet. | ► Look for the PMD 200 app in the tablet’s submenu. |
| The app was uninstalled. | ► Download the PMD 200 app again from the Google Play store. | |
| Wrong language in the app | Language setting of the tablet | ► Change the language in the tablet settings. If the language is not supported, English is used by default in the app. |
| The app is not working. | Software malfunction | ► Shut the app down completely and then restart it. |
| End User License Agreement not accepted | ► Accept the End User License Agreement. | |
| Unexpected closure of the app. | Tablet’s power-saving mode is activated | ► Deactivate the power saving mode in the tablet settings. |
| The layout tool and tablet cannot be paired. | The layout tool is switched off. | ► Switch the layout tool on. |
| The layout tool is experiencing a fault. | ► Switch the layout tool off and then on again. If the problem persists, consult Hilti Service. | |
| Too far away from the layout tool | ► Move considerably closer to the layout tool. | |
| The wrong layout tool selected | ► Check that you have selected the right layout tool (serial number). | |
| The layout tool cannot level. | The surface is uneven or too steeply sloping. | ► Place the layout tool on an even, horizontal surface. |
| The layout tool cannot measure. | Lighting conditions on site are too bright. | ► Darken or shade the working area. |
| Unsuitable target surface | ► Change the target surface (e.g. white paper). | |
| Red laser dot or green laser line not visible. | Lighting conditions on site are too bright. | ► Darken or shade the working area |
| The layout tool and tablet are not paired | ► Pair layout tool and tablet. | |
| The layout tool is experiencing a fault. | ► Switch the layout tool off and then on again. If the problem persists, consult Hilti Service. | |
| The green laser line is not per- fectly vertical. | Leveling faulty | ► Switch the layout tool off and then on again. If the problem persists, consult Hilti Service. |
| The layout tool is experiencing a fault. | ► Switch the layout tool off and then on again. If the problem persists, consult HiRi Service. | |
| The green laser line and the red laser dot are not perfectly superimposed. (Deviations of +/- 1-2 mm (0.04-0.08 in) are normal.) | The layout tool is experiencing a fault. | ► Switch the layout tool off and then on again. If the problem persists, consult Hilti Service. ► Make sure that the layout tool is checked at regular intervals. |
| Layout points are not correct/existing layout points are not correct after a reposition- ing | The target plate is not leveled | ► Before each marking, level the target plate with the adjusting screw. |
| The target plate is damaged | ► Check the target plate for deformation; replace it if necessary. | |
| The control line is too short | ► Exit the current layout. Repeat the station setting of the layout tool with a longer control line. | |
| The layout tool was moved | ► Exit the current layout. Repeat the station setting of the layout tool. |
Disposal
WARNING
Risk of injury due to incorrect disposal! Health hazards are due to escaping gases or liquids.
- DO NOT send batteries through the mail!
- Cover the terminals with a non-conductive material (such as electrical tape) to prevent short-circuiting.
- Dispose of your battery out of the reach of children.
- Dispose of the battery at your Hilti Store, or consult your local governmental garbage disposal or public health and safety resources for disposal instructions.
Most of the materials from which Hilti products are manufactured can be recycled. The materials must be correctly separated before they can be recycled. In many countries, your old tools, machines, or appliances can be returned to Hilti for recycling. Ask Hilti Service or your Hilti sales representative for further information.
▶ Do not dispose of power tools, electronic equipment, or batteries as household waste!
FCC statement (applicable in US) / IC statement (applicable in Canada)
This device has been tested and found to comply with the limits for a class A digital device, pursuant to part 15 of the FCC rules. These limits are intended to ensure adequate protection against electromagnetic interference when the device is operated in areas used for commercial purposes.
This equipment generates, uses, and can radiate radio frequency energy and, if not installed and used in accordance with the instructions, may cause interference to radio communications. The user must bear costs incurred due to interference that operation of this device in residential areas can cause.
This device is in compliance with paragraph 15 of the FCC rules and the RSS210 specifications of ISED.
Operation is subject to the following two conditions:
- This device shall cause no harmful interference.
- This device must accept any interference received, including interference that may cause undesired operation.
Changes or modifications not expressly approved by Hilti may restrict the user’s authorization to operate the equipment.
Manufacturer’s warranty
- Please contact your local Hilti representative if you have questions about the warranty conditions.

Hilti Corporation LI-9494 Schaan
Tel.:+423 234 21 11
Fax:+423 234 29 65
www.hilti.group
https://hilti.to/ontrackapp
Hilti = registered trademark of Hilti Corp., Schaan





















