HILTI DD 110W Diamond Core Drill
Original operating instructions
About this documentation
- Read this documentation before initial operation or use. This is a prerequisite for safe, trouble-free handling and use of the product.
- Observe the safety instructions and warnings in this documentation and on the product.
- Always keep the operating instructions with the product and make sure that the operating instructions are with the product when it is given to other persons.
Explanation of symbols used
Warnings
Warnings alert persons to hazards that occur when handling or using the product. The following signal words are used:
DANGER !
Draws attention to imminent danger that will lead to serious personal injury or fatality.
WARNING
Draws attention to a potential threat of danger that can lead to serious injury or fatality.
CAUTION !
Draws attention to a potentially dangerous situation that could lead to personal injury or damage to the equipment or other property.
Symbols in the operating instructions
The following symbols are used in these operating instructions:
Symbols in illustrations
The following symbols are used in illustrations:
Warning signs
The following warning signs can be used:
“Must do” symbols
The following “must do” symbols can be used:
Symbols on the product
The following symbols can be used on the product:
Stickers on the product
Overhead drilling
Overhead drilling using water cooling is prohibited.
Ground fault circuit interrupter (PRCD)
Operate the system only with a fully functional PRCD.
Product information
products are designed for professional users and only trained, authorized personnel are permitted to operate, service and maintain the products. This personnel must be specifically informed about the possible hazards. The product and its ancillary equipment can present hazards if used incorrectly by untrained personnel or if used not in accordance with the intended use. The type designation and serial number are printed on the rating plate.
Write down the serial number in the table below. You will be required to state the product details when contacting Hilti Service or your local Hilti organization to inquire about the product.
Product information
| Diamond core drilling machine | DD 110W |
| Generation | 01 |
| Serial no. |
INSTALLATION INSTRUCTION


Safety
General power tool safety warnings
WARNING Read all safety warnings, instructions, illustrations and specifications provided with this power tool. Failure to follow all instructions listed below may result in electric shock, fire and/or serious injury. Save all warnings and instructions for future reference.
The term “power tool” in the warnings refers to your mains-operated (corded) power tool or battery-operated (cordless) power tool.
Work area safety
- Keep work area clean and well lit. Cluttered or dark areas invite accidents.
- Do not operate power tools in explosive atmospheres, such as in the presence of flammableliquids, gases or dust. Power tools create sparks which may ignite the dust or fumes.
- Keep children and bystanders away while operating a power tool. Distractions can cause you to lose control.
Electrical safety
- Power tool plugs must match the outlet. Never modify the plug in any way. Do not use any adapter plugs with earthed (grounded) power tools. Unmodified plugs and matching outlets will reduce risk of electric shock.
- Avoid body contact with earthed or grounded surfaces, such as pipes, radiators, ranges and refrigerators. There is an increased risk of electric shock if your body is earthed or grounded.
- Do not expose power tools to rain or wet conditions. Water entering a power tool will increase the risk of electric shock.
- Do not abuse the cord. Never use the cord for carrying, pulling or unplugging the power tool. Keep cord away from heat, oil, sharp edges or moving parts. Damaged or entangled cords increase the risk of electric shock.
- When operating a power tool outdoors, use an extension cord suitable for outdoor use. Use of a cord suitable for outdoor use reduces the risk of electric shock.
- If operating a power tool in a damp location is unavoidable, use a residual current device (RCD) protected supply. Use of an RCD reduces the risk of electric shock.
Personal safety
- Stay alert, watch what you are doing and use common sense when operating a power tool. Do not use a power tool while you are tired or under the influence of drugs, alcohol or medication. A moment of inattention while operating power tools may result in serious personal injury.
- Use personal protective equipment. Always wear eye protection. Protective equipment such as a dust mask, non-skid safety shoes, hard hat or hearing protection used for appropriate conditions will reduce personal injuries.
- Prevent unintentional starting. Ensure the switch is in the off-position before connecting to power source and/or battery pack, picking up or carrying the tool. Carrying power tools with your finger on the switch or energising power tools that have the switch on invites accidents.
- Remove any adjusting key or wrench before turning the power tool on. A wrench or a key left attached to a rotating part of the power tool may result in personal injury.
- Do not overreach. Keep proper footing and balance at all times. This enables better control of the power tool in unexpected situations.
- Dress properly. Do not wear loose clothing or jewellery. Keep your hair and clothing away from moving parts. Loose clothes, jewellery or long hair can be caught in moving parts.
- If devices are provided for the connection of dust extraction and collection facilities, ensure these are connected and properly used. Use of dust collection can reduce dust-related hazards.
- Do not let familiarity gained from frequent use of tools allow you to become complacent and ignore tool safety principles. A careless action can cause severe injury within a fraction of a second.
Power tool use and care
- Do not force the power tool. Use the correct power tool for your application. The correct power tool will do the job better and safer at the rate for which it was designed.
- Do not use the power tool if the switch does not turn it on and off. Any power tool that cannot be controlled with the switch is dangerous and must be repaired.
- Disconnect the plug from the power source and/or remove the battery pack, if detachable, from the power tool before making any adjustments, changing accessories, or storing power tools. Such preventive safety measures reduce the risk of starting the power tool accidentally.
- Store idle power tools out of the reach of children and do not allow persons unfamiliar with the power tool or these instructions to operate the power tool. Power tools are dangerous in the hands of untrained users.
- Maintain power tools and accessories. Check for misalignment or binding of moving parts, breakage of parts and any other condition that may affect the power tool’s operation. If damaged, have the power tool repaired before use. Many accidents are caused by poorly maintained power tools.
- Keep cutting tools sharp and clean. Properly maintained cutting tools with sharp cutting edges are less likely to bind and are easier to control.
- Use the power tool, accessories and tool bits etc. in accordance with these instructions, taking into account the working conditions and the work to be performed. Use of the power tool for operations different from those intended could result in a hazardous situation.
- Keep handles and grasping surfaces dry, clean and free from oil and grease. Slippery handles and grasping surfaces do not allow for safe handling and control of the tool in unexpected situations.
Service
- Have your power tool serviced by a qualified repair person using only identical replacement parts. This will ensure that the safety of the power tool is maintained.
Drill safety warnings
Safety instructions for all operations
- Use the auxiliary handle(s). Loss of control can cause personal injury.
- Hold the power tool by insulated gripping surfaces, when performing an operation where the cutting accessory may contact hidden wiring or its own cord. Cutting accessory contacting a “live” wire may make exposed metal parts of the power tool “live” and could give the operator an electric shock.
Safety instructions when using long drill bits
- Never operate at higher speed than the maximum speed rating of the drill bit. At higher speeds, the bit is likely to bend if allowed to rotate freely without contacting the workpiece, resulting in personal injury.
- Always start drilling at low speed and with the bit tip in contact with the workpiece. At higher speeds, the bit is likely to bend if allowed to rotate freely without contacting the workpiece, resulting in personal injury.
- Apply pressure only in direct line with the bit and do not apply excessive pressure. Bits can bend causing breakage or loss of control, resulting in personal injury.
Additional safety instructions
Personal safety
- Use the product and accessories only when they are in perfect working order.
- Never tamper with or modify the product or accessories in any way.
- During hand-held use, always hold the machine securely with both hands on the grips provided. Keep the grips dry, clean and free from oil and grease.
- Respiratory protection must be worn if the machine is used without a dust extraction system for work that creates dust.
- Take frequent breaks and do physical exercises to improve the blood circulation in your fingers. High vibration during long periods of work can lead to disorders of the blood vessels and nervous system in the fingers, hands and wrists.
- Avoid touching rotating parts. Switch the power tool on only after bringing it into position at the workpiece. Touching rotating parts, especially rotating drill bits, discs or blades, etc. may lead to injury.
- When working, always lead the supply cord, the extension cord and the vacuum cleaner hose (if applicable) away from the machine to the rear. This will reduce the risk of tripping and falling over the cord or hose while working.
- Avoid skin contact with drilling slurry.
- Wear protective gloves when changing the accessory tool. The accessory tool can become hot in use.
- Children are not permitted to play with the machine and must be instructed accordingly.
- The power tool is not intended for use by children, by debilitated persons or those who have received no instruction or training.
- Dust from materials such as paint containing lead, some types of wood, minerals and metal can be harmful to health. Contact with or inhalation of the dust can cause allergic reactions and/or respiratory or other diseases to the operator or bystanders.
- Certain kinds of dust such as oakwood and beechwood dust are classified as carcinogenic, especially in conjunction with additives for wood conditioning (chromate, wood preservative). Only specialists are permitted to work on material containing asbestos.
- Use a dust-extraction device wherever possible. To achieve a high level of dust extraction, use a suitable mobile dust extractor of a type that is recommended by Hilti for wood dust and/or mineral dust and which is designed for use with this power tool. Make sure that the workplace is well ventilated. It is advisable to wear a filter class P2 dust mask. Comply with national regulations applicable to the materials you will be working with.
- The user and persons in the vicinity must wear suitable protective goggles, a hard hat, ear defenders, protective gloves, protective footwear and light respiratory protection while the tool is in use.
Power tool use and care
- Secure the workpiece. Use clamps or a vice to secure the workpiece. The workpiece is thus held more securely than by hand and both hands remain free to operate the machine.
- Check that accessory tools are compatible with the machine’s chuck/drive system and that they are installed and secured correctly.
- Switch the appliance off and unplug the supply cord in the event of a power failure or interruption in the electric supply. This will prevent accidental restarting when the electric power returns.
- Do not use damaged insert tools. Check the core bits for chipping, cracks, or heavy wear each time before use. Do not use damaged tools. Fragments of the workpiece or a broken core bit may be ejected and cause injury beyond the immediate area of operation.
- In accordance with the applications for which it is designed, the product produces a high torque. Always use the side handle and hold the product with both hands. The user must be prepared for sudden stalling of the accessory tool and have an absolutely secure stance with both feet.
Electrical safety
- Before beginning work, check the working area (e.g. using a metal detector) to ensure that no concealed electric cables or gas and water pipes are present. External metal parts of the power tool may become live, for example, if an electric cable is damaged accidentally. This presents a serious risk of electric shock.
- Never operate the appliance without the supplied PRCD (GB version: Never operate the appliance without an isolating transformer). Test the PRCD each time before use.
- Check the appliance’s supply cord at regular intervals and have it replaced by a qualified specialist if found to be damaged. If the machine’s supply cord is damaged it must be replaced with a special approved, ready-made supply cord available from Hilti
- Customer Service. Check extension cords at regular intervals and replace them if found to be damaged. Do not touch the supply cord or extension cord if it is damaged while working. Unplug the supply cord from the power outlet. Damaged supply cords or extension cords present a risk of electric shock.
- Protect yourself from electric shock. Avoid body contact with earthed or grounded objects such as pipes, radiators, kitchen ranges and refrigerators.
- Do not break the connection to earth by using an adapter plug.
- Keep water away from the electrical parts of the power tool and from persons in the working area.
Workplace
- Make sure that the workplace is well ventilated. Exposure to dust at a poorly ventilated workplace may result in damage to the health.
- Connect a dust removal system if the work creates dust. Drilling materials hazardous to the health (e.g. asbestos) is not permissible.
- Approval must be obtained from the site engineer or architect prior to beginning drilling work. Drilling work on buildings and other structures may influence the static equilibrium of the structure, especially when steel reinforcing bars or load-bearing components are cut through.
- It is recommended that rubber gloves and non-skid shoes are worn when working outdoors.
- When drilling through walls, secure (cordon off) the area behind the wall, as material or the core may fall out on the other side of the wall.
- When drilling through ceilings, secure (cordon off) the area below as drilled material or the core may drop out and fall down.
Description
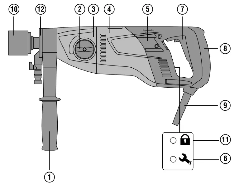
Product overview
- Side handle
- Gear selector
- Gearing section
- Motor
- Carbon brush cover
- Service indicator
- On/off switch
- Grip
- Supply cord with PRCD
- Chuck
- Theft protection indicator (optional)
- Water swivel
Intended use
- The DD 110W is an electrically powered diamond core drilling machine designed for hand‐held dry drilling in masonry and for hand‐held wet drilling in concrete and mineral materials. Drilling in an upward direction in wet-drilling mode is strictly prohibited.
- Drilling into materials that produce electrically conductive dust (e.g. magnesium) is not permissible. Whenever possible, use a mobile dust extractor suitable for the application.
- To avoid injury, use only genuine Hilti core bits and DD 110W accessories.
- Comply with the safety rules and operating instructions for the accessories used. Observe the information printed in the operating instructions concerning operation, care and maintenance.
- The tool is designed for professional use and may be operated, serviced and maintained only by trained, authorized personnel.
- This personnel must be specifically informed about the possible hazards. The tool and its ancillary equipment may present hazards when used incorrectly by untrained personnel or when used not as directed. Possible fields of use: construction site, workshop, renovation, conversion or new construction.
- The tool may be operated only when connected to a power supply providing a voltage and frequency in compliance with the information given on its rating plate.
- Working with materials hazardous to the health (e.g. asbestos) is not permissible.
Modification of the tool is not permitted.
Items supplied
Power tool with side handle and chuck, operating instructions
Other system products approved for use with this product can be found at your local Hilti Store or at: www.hilti.group
TPS theft protection system (optional)
The product can be equipped with the optional TPS theft protection system. It can then be unlocked and made ready for operation only through use of the corresponding TPS key.
Technical data
For rated voltage, rated current, frequency and/or input power, refer to the country-specific rating plate. If the product is powered by a generator or transformer, the generator or transformer’s power output must be at least twice the rated input power shown on the rating plate of the product. The operating voltage of the transformer or generator must always be within +5 % and -15 % of the rated voltage of the device.
| Weight in accordance with EPTA procedure 01/2003 | 5.7 kg | |
| Weight | 5.7 kg (12.6 lb) | |
| Speed | 1st gear | 650 /min |
| 2nd gear | 1,380 /min | |
| Dimensions (length x width x height) | 457 mm x 120 mm x 170 mm (18.0 in x 4.7 in x 6.7 in) | |
| Protection class | I | |
| Permissible water supply pressure | ≤ 6 bar | |
| Ambient temperature for operation | −17 ℃ … 60 ℃ (1 ℉ … 140 ℉) | |
| Storage temperature | −20 ℃ … 70 ℃ (−4 ℉ … 158 ℉) | |
Core bit diameter
| 1st gear | 2nd gear | |
| Ø PCM core bits, dry | 42 mm … 162 mm | •/• |
| Ø HDM core bits, dry | 102 mm … 162 mm | 16 mm … 87 mm |
| Ø HWC core bits, wet | 122 mm … 132 mm | 25 mm … 112 mm |
Noise information and vibration values in accordance with EN 62841
- The sound pressure and vibration values given in these instructions were measured in accordance with a standardized test and can be used to compare one power tool with another. They can also be used for a preliminary assessment of exposure.
- The data given represent the main applications of the power tool. However, if the power tool is used for different applications, with different accessory tools, or is poorly maintained, the data can vary. This can significantly increase exposure over the total working period.
- An accurate estimation of exposure should also take into account the times when the tool is switched off, or when it is running but not actually being used for a job. This can significantly reduce exposure over the total working period.
Identify additional safety measures to protect the operator from the effects of noise and/or vibration, for example: maintaining the power tool and accessory tools, keeping the hands warm, organization of work patterns.
Noise information
| Sound (power) level (LWA) | 95 dB(A) |
| Uncertainty for the sound power level (KWA) | 3 dB(A) |
| Sound pressure level (LpA) | 84 dB(A) |
| Uncertainty for the sound pressure level (KpA) | 3 dB(A) |
Total vibration
| Drilling in sand-lime block (dry) with HDM core bit (ah,DD) | 5.8 m/s² |
| Drilling in sand-lime block (dry) with PCM core bit (ah,DD) | 12 m/s² |
| Drilling in concrete (wet) with HWC core bits (ah,DD) | 4.6 m/s² |
| Uncertainty (K) | 1.5 m/s² |
Use of extension cords
WARNING
A damaged supply cord presents a hazard! Do not touch the supply cord or extension cord if damaged while working. Disconnect the supply cord plug from the power outlet.
Check the appliance’s supply cord at regular intervals and have it replaced by a qualified specialist if found to be damaged.
- Use only extension cords of a type approved for the application and with conductors of adequate gauge (cross section). The power tool may otherwise suffer a drop in performance and the extension cord may overheat.
- Check the extension cord for damage at regular intervals.
- Replace damaged extension cords.
- When working outdoors, use only extension cords that are approved and correspondingly marked for this application.
Information on recommended minimum conductor cross-sections and cable lengths is accessible via a link, in the form of a QR code, at the end of this document.
Preparations at the workplace
CAUTION
Risk of injury! Inadvertent starting of the product.
Unplug the supply cord before making adjustments to the power tool or before changing accessories.
Observe the safety instructions and warnings in this documentation and on the product.
Adjusting the side handle
- Slacken the side handle by turning it counter-clockwise.
- Position the side handle.
- Secure the side handle by turning it clockwise.
- Check to ensure that the side handle is tightened securely.
Fitting a diamond core bit in a BI+ chuck
CAUTION
Risk of injury when changing the tool! The tool becomes hot as a result of use. It may have sharp edges.
Always wear protective gloves when changing the tool.
Replace diamond core bits as soon as their cutting performance and/or rate of drilling progress drops significantly. This generally is the case when the diamond segments have worn down to a certain height (< 2 mm).
The BR, BT, M16 and M27 chucks require use of a suitable open-end wrench.
The chuck, the adapter and the cutting tool must be clean and free of dirt and dust.
- Open the chuck by turning it in the direction of the symbol .
- From the front, push the diamond core bit into the chuck on the diamond core drilling machine, turning it until the teeth engage.
- Close the chuck by turning it in the direction of the symbol.
- Check that the diamond core bit is seated securely in the chuck.
Removing a diamond core bit from a BI+ chuck
CAUTION
Risk of injury when changing the tool! The tool becomes hot as a result of use. It may have sharp edges.
Always wear protective gloves when changing the tool.
If using a BR, BT, M27 or M16 chuck, prevent rotation of the chuck and use a suitable open-end wrench to remove the core bit.
- Open the chuck by turning it in the direction of the symbol
- Pull the sleeve on the chuck in the direction of the arrow towards the machine. This releases the core bit.
- Remove the core bit.
Installation of socket cutter with dust extraction
- Push the hole-starting aid, point first, as far as it will go, into the connection end for socket cutters with dust removal.
- Fit the connection end into the chuck in accordance with the instructions for fitting a diamond core bit.
- Push the locking ring and the dust extractor back toward the diamond core drilling machine.
- Fit the socket cutter onto the connection end.
- Push the dust removal attachment forward until it is in contact with the socket cutter and then secure it in this position by sliding the locking ring toward the socket cutter.
- Check that the dust extractor is free to rotate relative to the diamond core drilling machine.
Selecting the speed
CAUTION
- Risk of damage! The product is faulty.
- Do not attempt to change gear while the machine is running. Wait until the product has come to a standstill. Set the selector switch according to the core bit diameter used.
- While using one hand to turn the core bit, set the switch to the recommended setting.
Fitting the water supply connection
ATTENTION
Hazard due to incorrect use! Incorrect use can result in irreparable damage to the hose.
- Regularly check the hoses for damage and make sure that the maximum permissible water supply pressure (see “Technical data”) is not exceeded.
- Make sure that the hose does not come into contact with rotating parts.
- Make sure that the hose is not damaged as the carriage advances.
- Maximum water temperature: 40 °C.
- Check the water supply system to ensure there are no leaks.
To avoid damage to the components, use only fresh water containing no dirt particles.
- Connect the water flow regulator to the diamond core drilling machine.
- Connect the water supply (hose coupling).
Types of work
WARNING
Damaged power cords are a safety hazard! If the supply cord or extension cord is damaged while work is in progress, immediately disconnect the device and the cord from the electricity supply. Do not touch the damaged part of the cord.
Regularly check all supply cords. Replace defective extension cords. Have damaged power cords replaced by a qualified specialist.
Use of a ground fault circuit interrupter (residual current device, RCD) with a maximum tripping current of 30 mA is recommended.
TPS Theft Protection System (optional)
The product can be equipped with the optional TPS theft protection system. If the product you own is equipped with this function it can be unlocked and made ready for operation only though use of the corresponding TPS key.
Enabling product
- Make sure that the product is connected to the electricity supply. The yellow theft protection indicator flashes. The product is now ready to receive the signal from the TPS key.
- Hold the TPS key or the TPS watch strap buckle against the lock symbol. As soon as the yellow theft protection indicator goes out, the product is enabled.
If, for example, the electric supply is briefly interrupted due to a power failure or disconnected when moving to a different workplace, the product remains ready for operation for approx. 20 minutes. In the event of a longer interruption, the TPS key must be used again to unlock the theft protection system.
Further detailed information on activation and use of the theft protection system can be found in the operating instructions for the TPS theft protection system.
Use of the two-part hole-starting aid
CAUTION
Risk of injury caused by incorrect use! Parts can come off the hole-starting aid if it is not pressed against the work surface.
When a two-part hole-starting aid is used, do not run the diamond core drilling machine without the hole-starting aid pressed against the work surface.
A different hole-starting aid is required for each core bit diameter.
- Fit the hole-starting aid into the open end of the diamond core bit.
- When you start drilling apply only light pressure until the core bit has centered itself. Then apply more pressure. Drill a guide cut 1/8″-3/16″ deep.
- Release the on/off switch to stop the product. Wait until the core bit comes to a complete stop.
- Remove the hole-starting aid from the core bit.
- Position the core bit in the guide cut, press the on/off switch and resume drilling.
Operating portable residual current device (PRCD)
WARNING
Risk of injury due to electric shock! Do not continue operating the diamond core drilling machine if the indicator on the ground fault circuit interrupter does not go out when the 0 or the TEST button is pressed.
Have your diamond core drilling machine repaired by Hilti Service.
- Plug the diamond core drilling machine’s mains plug into an earthed/grounded power outlet.
- Press the “I” or “RESET” button on the portable residual current device (PRCD).
The indicator lights up. - Press the “0” or “TEST” button on the portable residual current device (PRCD).
The indicator goes out. - Press the “I” or “RESET” button on the portable residual current device (PRCD).
The indicator lights up.
Dry-drilling with dust removal
Allowing dust to build up in quantity inside the core bit can cause imbalance.
When working, always route the suction hose to the rear and away from the diamond core drilling machine, so that it cannot come into contact with the core bit.
To prevent electrostatic effects, use an anti-static vacuum extractor.
Dry drilling with vacuum cleaner via built-in power outlet for electric devices
Use slotted core bits only when working without a dust removal system.
- Secure the side handle in the desired position.
- Optional: Install and use the two-part hole-starting aid. → page 10
- Plug the diamond core drilling machine’s supply cord into the power outlet of the vacuum extractor.
- Plug the vacuum extractor’s supply cord into the power outlet.
- When connected: Press the Reset switch or I button of the PRCD.
- Center the diamond core drilling machine where the hole is to be drilled.
- Press the on/off switch on the diamond core drilling machine.
The vacuum extractor will start after the power tool has started. When you switch off the power tool the vacuum extractor will run on for a short time before switching itself off.
Dry-drilling with using a vacuum extractor without power outlet for power tools
Use slotted core bits only when working without a dust removal system.
- Secure the side handle in the desired position.
- Optional: Install and use the two-part hole-starting aid. → page 10
- Plug the vacuum cleaner’s supply cord into the power outlet and switch the vacuum cleaner on.
- Plug the supply cord of the diamond core drilling machine into the power outlet and then press the “Reset button or I button of the PRCD.
- Center the diamond core drilling machine where the hole is to be drilled.
- Press the on/off switch on the diamond core drilling machine.
- To ensure removal of residual material, let the vacuum cleaner run on for a few seconds after you switch off the diamond core drilling machine.
Dry drilling without dust removal
If dry drilling without a dust removal system is carried out, use slotted core bits. Wear suitable breathing protection!
Do not drill upward when working without a dust removal system.
Remove the dust removal attachment or secure it to prevent rotation.
- Secure the side handle in the desired position.
- Optional: Install and use the two-part hole-starting aid. → page 10
- Plug the supply cord into the power outlet and press the Reset button or I button of the PRCD.
- Center the diamond core drilling machine where the hole is to be drilled.
- Press the on/off switch on the diamond core drilling machine.
Wet drilling
Danger of electric shock! There is a possibility of water flowing over the motor and cover if the vacuum removal system is faulty.
Cease operations immediately if the vacuum removal system is not working.
For drilling upward, the use of a wet vacuum cleaner in conjunction with a water collection system is a mandatory requirement!
- Secure the side handle in the desired position.
- Optional: Install and use the two-part hole-starting aid. → page 10
- Center the diamond core drilling machine where the hole is to be drilled.
- Slowly open the water flow regulator until the desired volume of water is flowing.
- Press the on/off switch on the diamond core drilling machine.
- When you start drilling apply only light pressure until the core bit has centered itself. Then apply more pressure.
Using an open-end wrench to free the core bit
In the event of the core bit sticking, the clutch will slip until the user switches the power tool off.
- Unplug the supply cord from the power outlet.
- Grip the diamond core bit with a suitable open-end wrench close to the connection end and turn the diamond core bit to free it.
- Plug the supply cord into the power outlet.
- Resume the drilling operation.
Switching off
The core bit is filled with dust/water and drilled-out material. Allow for the extra weight in the core bit and make sure you have a firm stance before you remove the core bit from the drillhole.
- Remove the diamond core bit from the hole.
- Switch off the diamond core drilling machine.
- Close the water flow regulator, if applicable.
- Care and maintenance
WARNING
Electric shock hazard! Attempting care and maintenance with the supply cord connected to a power outlet can lead to severe injury and burns.
Always unplug the supply cord before carrying out care and maintenance tasks.
Care
- Carefully remove stubborn dirt from the tool.
- Clean the air vents carefully with a dry brush.
- Use only a slightly damp cloth to clean the casing. Do not use cleaning agents containing silicone as they can attack the plastic parts.
Maintenance
WARNING
Danger of electric shock! Improper repairs to electrical components may lead to serious injuries including burns.
Repairs to the electrical section of the tool or appliance may be carried out only by trained electrical specialists.
- Check all visible parts and controls for signs of damage at regular intervals and make sure that they all function correctly.
- Do not operate the product if signs of damage are found or if parts malfunction. Have it repaired immediately by Hilti Service.
- After cleaning and maintenance, fit all guards or protective devices and check that they function correctly.
To help ensure safe and reliable operation, use only genuine Hilti spare parts and consumables. Spare parts, consumables and accessories approved by Hilti for use with the product can be found at your local Hilti Store or online at: www.hilti.group.
Risk of injury due to electric shock !
The machine may be operated, serviced and repaired only by trained, authorized personnel. This personnel must be specially informed of any possible hazards.
- Open the carbon brush covers on the left-hand and right-hand side of the motor.
- Take note of how the carbon brushes are fitted and how the conductors are positioned. Remove the worn carbon brushes from the diamond core drilling machine.
- Fit the new carbon brushes so that they are positioned exactly the same as the old ones fitted previously.
Take care to avoid damaging the insulation on the indicator lead as you insert the brushes. - Close the carbon brush covers on the left-hand and right-hand side of the motor and tighten the retaining screws.
- Run in the carbon brushes by letting the machine run under no load for at least 1 minute without interruption.
After replacing the carbon brushes the indicator lamp will go out after the machine has run for approx. 1 minute.
Transport and storage
Transport
- Do not transport this product with an accessory tool installed.
- Make sure that the equipment is held securely throughout all transport operations.
- After transporting, always check all visible parts and controls for signs of damage and make sure that they all function correctly.
Storage
- Always store this product with the electric supply cable unplugged from the electricity supply.
- Store this product in a dry place, where it cannot be accessed by children or unauthorized persons.
- Open the water flow regulator before stowing away the product.
- At temperatures below the freezing point, make sure that no water remains in the product.
- After a long period of storage, always check all visible parts and controls for signs of damage and make sure that they all function correctly.
Troubleshooting
If the trouble you are experiencing is not listed in this table or you are unable to remedy the problem by yourself, please contact Hilti Service.
| Malfunction | Possible cause | Action to be taken |
The service indicator lights. | The carbon brush wear limit has almost been reached. The diamond core drilling machine will continue to run for a few hours until it shuts down automatically. | Have the carbon brushes replaced at the next opportunity. |
| The diamond core drilling machine doesn’t achieve full performance. | Supply network fault – undervolt- age occurred. | Check whether other power consumers are disrupting the power supply from the network or generator. Check the length of the extension cord used. |
| The diamond core bit doesn’t rotate. | The gear selector isn’t engaged. | Operate the gear selector until it engages. |
| Malfunction | Possible cause | Action to be taken |
| The diamond core bit doesn’t rotate. | The diamond core bit has become jammed in the base material. | Guide the diamond core drilling machine in a straight line. Use an open-end wrench to release the diamond core bit: Disconnect the mains plug from the power outlet. Grip the diamond core bit with a suitable open-end wrench close to the connection end and release the diamond core bit by rotating it. |
| The drilling speed is decrees- ing. | Maximum drilling depth has been reached. | Remove the core and use a core bit extension. |
| The core is stuck in the diamond core bit. | Remove the core. | |
| Wrong core bit specification for the base material. | Select a more suitable diamond core bit specification. | |
| High steel content (indicated by clear water containing metal cut- tings). | Select a more suitable diamond core bit specification. | |
| The diamond core bit is defective. | Check the diamond core bit for damage and replace it if necessary. | |
| Wrong gear selected. | Select the right gear. | |
| Contact pressure is too low. | Increase the contact pressure. | |
| The machine has too little power. | Select the next lower gear. | |
| The diamond core bit is polished. | Sharpen the diamond core bit by drilling into a sharpening plate. | |
| The water flow rate is too high. | Reduce the water flow rate by adjusting the water flow regulator. | |
| The water flow rate is too low. | Check the water supply to the diamond core bit or, respectively, increase the water flow by adjusting the water flow regulator. | |
| Dust is hindering drilling progress. | Use a suitable dust removal system. | |
| The diamond core bit can’t be fitted into the chuck. | The core bit connection end or chuck is dirty or damaged. | Clean and grease the conneclion end and/or the chuck or replace these parts. |
| Water escapes at the water swivel or gear housing. | The water pressure is too high. | Reduce the water pressure. |
| Water escapes from the chuck during operation. | The diamond core bit isn’t securely tightened in the chuck. | Tighten the diamond core bit securely. Remove the core bit. Rotate the diamond core bit approx. 90° about its own axis. Refit the diamond core bit. |
| The core bit connection end / chuck is dirty. | Clean and grease the conneclion end and/or the chuck. | |
| The seal at the chuck or at the connection end is defective. | Check the seal and replace it if necessary. |
| Malfunction | Possible cause | Action to be taken |
| The drilling system has too much play. | The diamond core bit isn’t securely tightened in the chuck. | Tighten the diamond core bit securely. Remove the core bit. Rotate the diamond core bit approx. 90° about its own axis. Refit the diamond core bit. |
| The core bit connection end / chuck is defective. | Check the connection end and chuck and replace them if necessary. |
The diamond core drilling machine is not in working order
| Malfunction | Possible cause | Action to be taken |
The service indicator shows nothing. | The PRCD isn’t switched on. | ▶ Check that the PRCD is functioning and switch it on. |
| Interruption in the electric supply. | ▶ Plug in another electric tool or appliance and check whether it works. ▶ Check the plug connections, supply cord, power supply line and main supply fuse. | |
| Water in the motor. | ▶ Allow the diamond core drilling machine to dry out completely in a warm, dry place. | |
The service indicator lights. | The carbon brushes are worn out. | ▶ Replace the carbon brushes.→ page 12 |
The service indicator blinks. | Motor speed error. | ▶ Disconnect the diamond core drilling machine from the power supply and then switch it back on again. |
The theft protection indicator blinks. | The diamond core drilling machine has not been unlocked (machines with optional theft protection sys- tem). | ▶ Use the TPS key to unlock the diamond core drilling machine. |
Disposal
Most of the materials from which Hilti tools and appliances are manufactured can be recycled. The materials must be correctly separated before they can be recycled. In many countries, your old tools, machines or appliances can be returned to Hilti for recycling. Ask Hilti Service or your Hilti representative for further information.
Do not dispose of power tools, electronic equipment or batteries as household waste!
Manufacturer’s warranty
Please contact your local Hilti representative if you have questions about the warranty conditions..
EC Declaration of Conformity,UK Declaration of Conformity
Manufacturer: Hilti Corporation FeldkircherstraBe 100 9494 Schaan I Liechtenstein
Importer: Hilti (Gt. Britain) Limited 1 Trafford Wharf Road, Old Trafford Manchester, M17 1 BY
- Serial Numbers: 1-99999999999
- 2006/42/EC I Supply of Machinery (Safety) Regulations 2008
- EN 62841-1:2015 + AC:2015
- EN 62841-2-1:2018, A11:2019
- 2014/30/EU I Electromagnetic Compatibility Regulations 2016
- EN 55014-1:2021
- EN 55014-2:2021
- 2011/65/EU I T he Restriction of the Use of Certain Hazardous Substances in Electrical and Electronic Equipment Regulations 2012
- EN 61000-3-2:2019, A1:2021
- EN 61000-3-3:2013 + A1:2019

Further information
For more information on operation, technology, environment and recycling, follow this link: qr.hilti.com/manual/?id=0000000
This link is also to be found at the end of the documentation, in the form of a QR code.
Hilti Corporation
LI-9494 Schaan
Tel.:+423 234 21 11
Fax:+423 234 29 65
www.hilti.group




The service indicator lights.
The service indicator shows nothing.
The service indicator blinks.
The theft protection indicator blinks.


















