LEONARD AQUATROL 4500 Pressure Balancing Machine Valve

AQUATROL® 4500
PRESSURE BALANCING MIXING VALVE (1/2”)
INSTALLATION, ADJUSTMENT, & SERVICE
Serial No. 450015125 and higher
- INSTALLATION THROUGH WALL WITH SERVICE STOPS OR CHECKSTOPS.
- Cut finished hole in wall 6” (152 mm) max. diameter.
- Install plaster mask/mounting bracket over body of valve, and line up holes with the holes on the valve body tabs.
- Finish wall flush with plaster mask front.
- Remove and discard plaster mask.

- INSTALLATION FOR FIBERGLASS, METAL OR PLASTIC ENCLOSURES. 1/16” (1.6mm) to 7/8” (22mm)
- Cut finished hole in enclosure to 5” (127mm) max. diameter.
- Break away plaster mask from mounting bracket, discard plaster mask and install mounting bracket over valve body. Line up holes of mounting bracket with the holes on the valve body tabs.
- Install escutcheon and dial plate over enclosure by securing with screws furnished.

- INSTALLATION WITHOUT SERVICE STOPS OR CHECKSTOPS
- Cut finished hole in wall to 4” (102mm) max. diameter.
- Break away mounting bracket from plaster mask and discard mounting bracket. Install plaster mask over valve body
- Finish wall.
- Remove and discard plaster mask.

INSTALLATION INSTRUCTIONS
- Determine what type of installation will be utilized.
- standard installation with plaster guard/mounting bracket.
- thin wall installation with mounting bracket.
- valve only installation with plaster guard (service stops or check stops are recommended).
- Install hot to the left inlet and cold to the right inlet (see H and C marks on valve body).
- Thread sealant, or solder flux must be used sparingly. After installation, flush pipes thoroughly (remove internal parts if necessary), to eliminate debris that may become lodged on the working parts of the valve.
- Shower only applications require the bottom outlet to be plugged, tub only applications require the top outlet to be plugged.
A tub diverter is required for tub/shower combinations. - Apply foam pointer gasket to wall flange. Mount wall flange and dial plate to the valve body with the wall flange screws provided.
- We recommend to seal the flange to the wall with silicone to prevent water from penetrating the wall.
- Check high temperature limit stop (see instructions, page 2).
- Attach the pointer to the valve stem (using the pointer screw with Loctite #242 if required and washer), and insert snap cap.
The top (short) end of the pointer should point to “OFF” on the dial plate.
!!! WARNING !!!
WARNING! THIS MIXING VALVE IS EQUIPPED WITH AN ADJUSTABLE HIGH TEMPERATURE LIMIT STOP FACTORY SET AT APPROXIMATELY 110°F (43°C) WITH AN INCOMING HOT WATER SUPPLY OF 135°F (57°C) IF INCOMING HOT WATER ON THE JOB IS HIGHER THAN 135°F, THE VALVE WHEN TURNED TO FULL HOT MAY DELIVER WATER IN EXCESS OF 110°F, AND THE HIGH TEMPERATURE LIMIT STOP MUST BE RESET BY THE INSTALLER (SEE PAGE 2).
WARNING! HOT WATER IN EXCESS OF 110°F IS DANGEROUS AND MAY CAUSE SCAULDING!
WARNING: This product can expose you to chemicals including lead, which is known to the State of California to cause cancer.
For more information, go to www.P65Warnings.Ca.gov
1360 Elmwood Avenue, Cranston, RI 02910 USA
Phone: 401.461.1200 Fax: 401.941.5310
Email: [email protected]
Web Site: http://www.leonardvalve.com
OPERATION
The AQUATROL® is a pressure-actuated water-mixing valve, which will compensate for changes in the pressure of hot and cold supplies and maintain bathing temperatures. The easy to read dial with directional indicators help to eliminate confusion as to where the handle should be located for a particular temperature. Turn the handle counter-clockwise from the “OFF” position through the BLUE (or COLD) area on the dial plate, the shower is on and the temperature is cold. As the handle enters the lighter RED area, shower temperature becomes progressively WARMER until the high temperature limit is reached in the full RED (or HOT) position. To turn OFF, move handle back in clockwise direction to the “OFF” position.

SERVICING INSTRUCTIONS
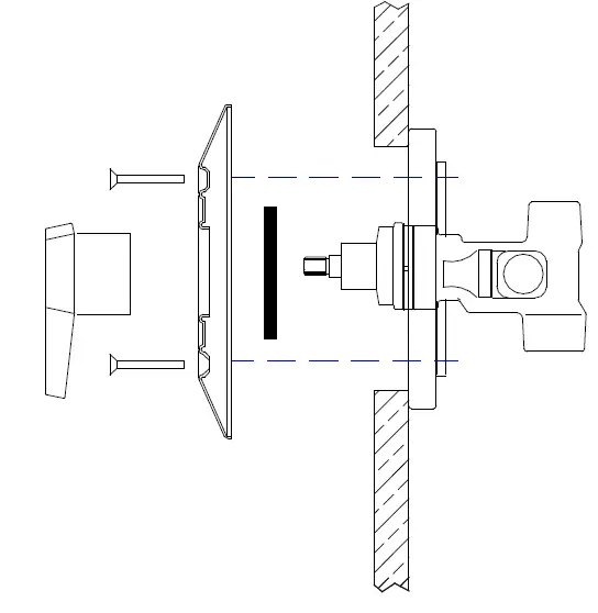
- Remove pointer (MU-5D) and wall flange (4855) (See DWG 1).
- Turn off hot and cold supplies using check stops.
- Temporarily place escutcheon pointer on spline and turn LEFT to maximum “HOT” position.
Unscrew cover and remove complete interior assembly (See DWG 4). - If the valve will not shut off (ie. It drips), replace PV-8-1 upper packing, PV-2 lower packing, (or complete stem PV-CR-2) and inspect upper and lower valve seats in PV-3 sleeve (DWG 4).
- If the valve will not mix properly, piston in PV-CR-2 control rod group may be sticking due to some deposit of foreign matter (DWG 4). To free piston,
- Submerge lower end of PV-CR-2 control rod group in a non-corrosive cleaning solution and flush with clean water.
- Tap either end of control rod against a wooden surface or hit with a plastic mallet.
- Remove PV-2 packing and screw and tap piston loose with a small drift pin.
NOTE: Before reinserting assembly in valve (with cover gasket) make sure pointer has been turned LEFT to the maximum RED (“HOT”) position.
!!! WARNING !!!
THIS VALVE IS EQUIPPED WITH AN ADJUSTABLE HIGH TEMPERATURE LIMIT STOP FACTORY SET AT APPROXIMATELY 110°F (43°C) WITH AN INCOMING HOT WATER SUPPLY TEMPERATURE OF 135°F. THE VALVE WHEN TURNED TO FULL HOT MAY DELIVER WATER IN EXCESS OF 110°F, AND THE HIGH TEMPERATURE LIMIT STOP MUST BE RESET BY THE INSTALLER, (SEE BELOW).

TO RESET HIGH TEMPERATURE LIMIT STOP (DWG 2.)
- Remove pointer (MU-5D). Loosen 1354 stop screw, until it is flush with cover. DO NOT LOOSEN MORE THAN FLUSH WITH COVER, ANY MORE AND WATER WILL COME OUT OF SCREW HOLE!!
- Replace pointer and turn to left or right until the valve is delivering the highest temperature of 110°F (43°C) or LOWER and remove pointer.
- Tighten 1354 Stop Screw.
- Reinstall pointer so small end is pointing to the extreme RED (“HOT”) position, shut valve off.
IMPORTANT! TEST THE NEW HIGH TEMPERATURE SETTING USING A DIAL THERMOMETER TO MAKE CERTAIN IT IS AS DESIRED. HOT WATER IN EXCESS OF 110°F IS DANGEROUS AND MAY CAUSE SCALDING!!
REMEMBER!! THIS IS A CONTROL DEVICE WHICH MUST BE CLEANED AND MAINTAINED ON A REGULAR BASIS (SEE MAINTENANCE GUIDE AND RECORD MGR-1000).
1360 Elmwood Avenue, Cranston RI 02910 USA
Phone : 401-461-1200, Fax: 401-941-5310
Email: [email protected]
Web Site: http://www.leonardvalve.com

SERVICING INSTRUCTIONS

INSTALLATION, FINAL DIMENSIONS BELOW MUST BE APPROVED BY ENGINEER


LIMITED WARRANTY
Leonard Valve Company warrants the original purchaser that products manufactured by them (not by others) will be free from defects in materials and workmanship under normal conditions of use, when properly installed and maintained in accordance with Leonard Valve Company’s instructions, for a period of one year from date of shipment. During this period the Leonard Valve Company will at its option repair or replace any product, or part thereof, which shall be returned, freight prepaid, to the Leonard factory and determined by Leonard to be defective in materials or workmanship. There are no warranties, express or implied, which extend beyond the description contained herein. There are no implied warranties of merchantability or of fitness for a particular purpose. In no event will Leonard be liable for labor or incidental or consequential damages. Any alteration or improper installation or use of the product will void this limited warranty.
© 2021 Leonard Valve Company Printed in USA
1360 Elmwood Avenue, Cranston RI 02910 USA
Phone: 401-461-1200, Fax: 401-941-5310
Email: [email protected]
Web Site: http://www.leonardvalve.com























