iLOQ D5S.XXX(A).SB, D5S.XXX(L).SB Europrofile Lock Cylinder

BEFORE INSTALLING
- These instructions should be carefully followed during installation. These instructions and any maintenance instructions should be passed on by the installer to the user.
- iLOQ D5S cylinders must be installed and used carefully without excessive force.
- The product should not be modified in any way except in accordance with the modifications described in these instructions.
- Where the D5S cylinder is manufactured in more than one size it is critical that the correct size is selected.
- Care should be taken to ensure that any seals or weather-stripping fitted to the complete door assembly, does not inhibit the correct operations of D5S cylinder.
- Care should be taken to ensure that no projection of the D5S cylinder and associated parts, can prevent the door swinging freely.
- All components necessary for the specific installation should be fitted in order to ensure compliance with EN 15684 standard.
- The cylinder must project less than 1 mm on outside of the door to ensure proper operation.
- No liability is accepted for damage to the doors or components due to incorrect installation.
- Before fitting D5S cylinder to a fire/smoke resisting door, the fire certification should be examined, to ensure conformity.
- To extend the cylinder length use only the associated D5 cylinder extensions (AD5.Exx).
- It is not allowed to uninstall resp. demount the anti-panic mechanism because due to that the mechanism and functionality of the panic functionality can not be guaranteed anymore.
- In the case the panic mechanism of the panic mortise locks can be blocked or influenced in a negative way by the cylinder cam, it is mandatory to install the panic cylinder (D5S.7xx). The use of the other cylinder types (D5S.1xx/2xx/3xxx/4xx/5xx etc.) are only allowed if the lock do not need a specific cam position resp. the cam could not block the panic functionality. Please double-check the letter of conformity of the mortise lock manufacturers.
- When used in combination with panic locks, it is essential to ensure after installation that all parts of the lock are in an operational condition and that the panic function of the mortise lock is guaranteed.
- The long neck versions are specially developed for doors where the Euro-profile cut out is not existing inside the door frame and only a round hole is possible to find.
- To meet the German VdS (VdS Schadenverhütung GmbH) requirements class CZ+ on burglary threatened doors use D5S.XX0A.SB high security cylinder installed with a VdS approved security lock furniture of class B or C.
- The cylinders may only be used for the purpose of opening and locking doors; other use is not permitted.
- We reserve the right to make modifications or further technical developments without further notice.
- If there are any deviations from the contents in foreign language versions of the documentation, the English original shall apply in case of doubt.
AFTER INSTALLATION
Test the cylinder functionality after installation to ensure that it does not prevent the lock case from working properly.
CARE
After 5-10,000 usages, clean contact rolls lightly with lint-free cotton pad. Spray small amount of high-quality lock oil i.e. CRC lock oil (with PTFE) onto contact rolls.
In the case the cylinder is not working in an appropriate way anymore, we recommend cleaning the cylinder with e.g. compressed air spray or similar.
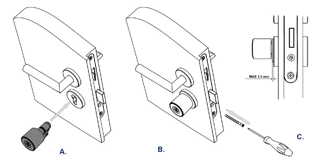
INSTALLATION OF ILOQ D5S.1XX SERIES
- A. Ensure the cam is pointing downwards and slide lock cylinder through the lock case.
- B. Fix cylinder into lock case by iLOQ fixing screw (A10.64, part of the delivery), use tightening torque 0.9 …1.1 Nm. If necessary, cut the screw to the correct length.
(calculation screw length: L = backset + 10 mm).
The screw has cutting grooves to make the cutting easier. - C. Make sure the cylinder frame is a maximum of 1.0 mm from the door leaf or escutcheon.
INSTALLATION OF ILOQ D5S.2XX SERIES
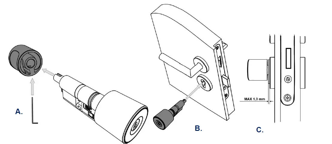
- A. Remove knob from the other side of the cylinder as described in chapter 9.
- B. Ensure the cam is pointing downwards and slide lock cylinder through the lock case.
- C. Fix cylinder into lock case by iLOQ fixing screw (A10.64, part of the delivery), use tightening torque 0.9 … 1.1 Nm. If necessary, cut the screw to the correct length (calculation screw length: L = backset + 10 mm).
- D The screw has cutting grooves to make the cutting easier. D. Install the power knob as described in chapter 9.
- E. Make sure the cylinder frame is a maximum of 1.0 mm from the door leaf or escutcheon

INSTALLATION OF ILOQ D5S.3XX SERIES
- A. Loosen screw from thumb turn with 2 mm Allen key, turn them counterclockwise, that it is possible to remove the knob (but do not screw them out completely).
- B. Ensure the cam is pointing downwards and slide lock cylinder through the lock case.
- C. Make sure the cylinder frame is a maximum of 1.0 mm from the door leaf or escutcheon.

- D. Fix cylinder into lock case by iLOQ fixing screw (A10.64, part of the delivery), use tightening torque 0.9…1.1 Nm. If necessary, cut the screw to the correct length (calculation screw length: L = backset + 10 mm).

The screw has cutting grooves to make the cutting easier. - E. Thump turn knob in place.
- F. Tighten screw by turning the screw clockwise. Use tightening torque 1.5 Nm.
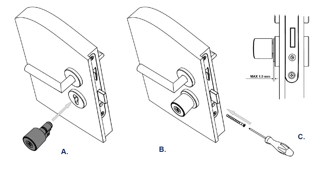
INSTALLATION OF ILOQ D5S.4XX SERIES
- A. Ensure the cam is pointing downwards and slide lock cylinder through the lock case.
- B. Fix cylinder into lock case by iLOQ fixing screw (A10.64, part of the delivery), use tightening torque 0.9 …1.1 Nm. If necessary, cut the screw to the correct length (calculation screw length: L = backset + 10 mm).

The screw have cuting grooves to make the cutting easier. - C. Make sure the cylinder frame is a maximum of 1.0 mm from the door leaf or escutcheon.
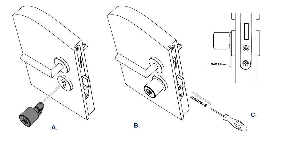
INSTALLATION OF ILOQ D5S.7XX SERIES
- A. Ensure the cam is pointing downwards and slide lock cylinder through the lock case.
- B. Fix cylinder into lock case by iLOQ fixing screw (A10.64, part of the delivery), use tightening torque 0.9 …1.1 Nm. If necessary, cut the screw to the correct length (calculation screw length: L = backset + 10 mm).

- C. Make sure the cylinder frame is a maximum of 1.0 mm from the door leaf or escutcheon.
REMOVING AND INSTALLING THE OUTSIDE KNOB
In some installation locations it is necessary to remove the outside knob from the lock cylinder. Follow these instructions to remove the knob. Re-installing with the same instructions in the opposite order. Be careful when inserting knob not to break the connections on the cylinder. The removal of the knob is only possible for people who have access rights for the cylinder.
- A. Insert a key with access into the lock cylinder. Turn the key about 15 degrees clockwise.
- B. By turning the key, the blocker hatch will open automatically at the bottom of the outside knob. The hatch protects the fixing screw for unauthorized access.
- C. Use Torx 6 tool to open the screw that holds cover cup, turn the Torx tool clockwise.
- D. Remove the cover cup.

- E. Remove the side screw and carefully detach the knob with the PCB.
- F. Remove the back-plate screw with a Torx 6 tool (not necessary to screw them completely out).
- G. Remove the backplate by rotating it counterclockwise.
CYLINDER EXTENSIONS
One side
Cylinder length is easily adjustable in 5mm increments from 30 mm (basic length) to 100 mm by extension piece system. One extension piece can be added to both sides of the cam for the following cylinders:
- D5S.2xx Double cylinder
- D5S.3xx knob cylinder
- D5S.4xx Cylinder with dummy inside
Half (D5S.1xx) can be extended on the knob side only, anti-panic cylinders (D5S.7xx) coming with fix lengths due to safety reasons and cannot be extended.
Do not use more than one extension on one side of the lock cylinder. It is not possible to concatenate multiple extension pieces
- A. Remove the three body fixing screws, by using a screwdriver Torx 6
- B. Separate modules.

- C. Insert the round extension piece inside the housing extension part opposite the side with the black sealing, so that the recess is placed next to the black O-ring. Please check if the O-ring is not damaged otherwise use a new one (spare part kit available “A5.005”).
- D. Insert the extension piece. Fix the extension piece with the fixing screw by using a T10 Torx tool (tightening torque 2,5 Nm).
- E. Insert the lock unit with extension piece back to the backbone of the cylinder housing. Fix the lock unit into the cylinder by 3 fixing screws. Tighten screws. Use tightening torque 0.55 …0.65 Nm.

Both sides
Same concept and doing than for the one-side extensions, please see chapter 10.1 One side.
Long neck
In the case the outside housing of long-neck version will be extended instead three only two screws can be used to fix the backbone (see below).
In the case the long-neck version will be used in a door with the complete DIN cut-out we recommend changing the long-neck backbone, which is slightly shorter, against the DIN backbone (A5.009) to improve the pulling protection safety of the cylinder. Or alternatively possible to turn the existing backbone, means outside to inside.
GENERAL NOTES
- To meet the German VdS (VdS Schadenverhütung GmbH) requirements class CZ+ on burglary threatened doors use D5S.XX0A.SB high security cylinder installed with a VdS approved security lock furniture of class B or C. Such security lock furniture corresponds to DIN 18 257 class ES 2 and ES 3.
- To meet the Dutch SKG*** requirements use the D5S.XXXA.SB high security cylinder. Consult iLOQ sales representative for correct configuration.
- Before fitting the cylinder to a fire/smoke resisting door, the fire certification should be examined to ensure conformity. Consult iLOQ sales representative for correct configuration.
- The iLOQ cylinders are successfully tested according the EN 1634-1 (EUFI29-19003368) for 120 minutes in a hinged single leaf steel door.
- In the case the panic mechanism of the panic mortise locks can be blocked or influenced in a negative way by the cylinder cam, it is mandatory to install the panic cylinder
(D5S.7xx). The use of the other cylinder types (D5S.1xx/2xx/3xxx/4xx/5xx etc.) are only allowed if the lock do not need a specific cam position resp. the cam could not block the panic functionality. Please double-check the letter of conformity of the mortise lock manufacturers. - When used in combination with panic locks, it is essential to ensure after installation that all parts of the lock are in an operational condition and that the panic function of the mortise lock is guaranteed.
- Care should be taken to ensure that any seals or weather-stripping fitted to the complete door assembly, does not inhibit the correct operations of the cylinder.
- Care should be taken to ensure that no projection of the cylinder and associated parts, can prevent the door swinging freely.
- All components necessary for the specific installation should be fitted.
- The key is to be kept securely so that only authorized person may have access.
- In case of losing a key, blacklisting of the lost key shall be done with the iLOQ Manager software and affected locks shall be reprogrammed.
- Especially in industrial areas or near the sea, impurities can cause deposits in the form of rust and attacked the material. This equipment should be cleaned and maintained frequently.
- Cylinder will lock, for security reasons, itself after 10 seconds, the key can then be removed by turning it back to the 12 o’clock position (either clockwise or anti-clockwise).
- In case of problems with functionality please check following points:
- Check, if the locking cylinder is damaged.
- Check, if foreign particles are present in keyway.
- A wrongly located cylinder within the lock case due to incorrectly mounted furniture.
- A defective mortise lock.
- Incorrectly mounted locking plates.
- A warped door etc.
iLoQ Oy-Oulu, Finnland – www.ilOQ.com– iLOQ ist ein eingetragenes Warenzeichen von iLOQ Oy



























