SAFEGUARD SUPPLY ERA-PRDCR-Strobe Warehouse and Business Motion Entry Alert Strobe Chime Kit Owner

ERA-PRDCR-STROBE
Owner’s Manual
Introduction
The ERA-PRDCR-STROBE is a doorbell/entry alert kit that features the ERA-PIR motion sensor, the ERA-DCRX and a strobe light. The ERA-PIR is a passive infrared (PIR) sensor/transmitter compatible with the ERA-DCRX Receiver. The ERA-PIR is activated when a combination of heat & movement is detected in the monitored zone. When the transmitter is activated, it will send a signal to the receiver which will sound one (1) of twelve (12) different melodies or tones for a few seconds, and trigger the 12V DC outputs and/or activate the relay output (if activated). For details on the ERA-DCRX, please consult its user manual.
Helpful Tips
- Do not mount the transmitter (ERA-PIR) to the wall or door frame until you have successfully paired & tested the device.
- Each receiver (ERA-DCRX) is capable of pairing with four (4) transmitters per zone.
- There is virtually no limit to the number of receivers (ERA-DCRX) a transmitter may be paired to.
- Each zone on the ERA-DCRX features 1 x 12V DC output.
- Output duration for the 12V DC output may be set to 5 sec, 10 sec, 1 min, & 2 min.
- The receiver (ERA-DCRX) features 1 x C-Form relay assignable to one (1) or multiple zones & will take on the duration of the 12V DC output.
- Volume control: 4 levels plus mute, plus off.
- Each transmitter must be paired to a zone on the receiver.
- Each zone on the receiver is programmed to the “ding-dong” sound from the factory. User may change this melody.
ERA-PIR Battery Installation
The sensor is powered by a 9V alkaline battery. Follow the steps below to remove the cover and install the battery. Note: Program the tone and volume level prior to reassembling the unit.
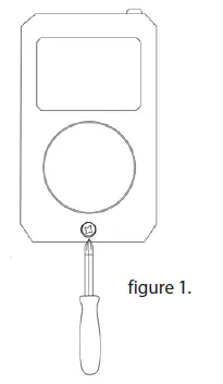
- Remove the screw located on the backside of the case using a phillips head screwdriver (see figure 1). Once the screw is removed, open the case.
- Remove top half of case from lower half of the case to find the battery holder (see figure 2).
- Install a fresh 9-volt alkaline battery.
- Follow the instructions for

Programming the Sensor/Transmitter to a Receiver
(Always test unit prior to final installation)
The sensor/transmitter works with the ERA-DCRX receiver & basic programming calls for the user to program each transmitter with a receiver & select a melody for the transmitter to instruct the receiver to play when triggered. For quick setup, however, each zone defaults to a basic “ding-dong” sound allowing you to easily pair the transmitter for a faster set up process.
- On the ERA-DCRX receiver, hold down the “mode” (left button in figure 2 below) button until you hear a short tone sound & the “zone 1” LED flashes (approx 3 sec).
- If you are programming the transmitter to zone 1, push the small test button on the circuit board or wave your hand over the lens. You will hear the receiver play a short musical note (zone 1 will continue to flash).
- If necessary, to program a transmitter to a different zone, press the “zone” button on the receiver to scroll to the appropriate zone . The zone you want to program will flash. Repeat step 2 above.
- Once you have programmed all transmitters to a zone on the receiver, move to the next step.
- To exit program mode, hold down the “mode” button until you hear a short tone sound (approx 3 sec).

Changing the Zone Melody
By default, each zone is programmed by the factory to play the dingdong sound. You can skip this step if you are ok with that sound.
- Hold down the “zone” button until you hear a short tone & all LEDs on front panel of receiver are red (approx 3 seconds). The zone you are programming will flash (see figure 2).
- Press the “volume” button to scroll through the 12 available melodies for selection. Once you find a melody you like, move to step 3.
- Press the “zone” button to scroll to the next zone & repeat step 2 to program a melody to other zones.
- Once you have programmed a melody to all necessary zones, move to step 5.
- Hold down the “zone” button until you hear a short tone sound (approx 3 seconds) notifying the receiver is out of melody programming mode.
Volume, Mute, Off
The volume button on the side of the receiver controls the four different volume levels, mutes & turns off the receiver. Pushing the volume button controls these functions.
- When all four zone LED lights are red, this indicates maximum volume.
- Three zone LED lights indicate the third volume level.
- Two zone LED lights indicate the second volume level.
- One zone LED light indicates the minimum volume level.
- No zone LED lights & a red power indicator light means the receiver is muted.
- No LED lights (no zone LED or power indicator) means the unit is off. Pushing volume again turns it back on to max volume.
Mounting the Transmitter
- The PIR sensor (transmitter) may be mounted in a variety of locations such as; on the ceiling, directly above the door, or side mounted. The most common mounting location is above the door.
- For best results, mount the transmitter above the door frame slightly canted in towards the door. You may cant (tilt) the unit to ensure the monitored zone is covering the area you want it to cover. Avoid placing the transmitter near heating & A/C ducts, or in direct sunlight to help eliminate false signals.
- The mounting height of the sensor (see table 1) changes the size of the monitored zone.


- Height of Sensor (in feet) Changes Width and Depth of Monitored Zone.
- Use included screw to mount the metallic bracket. We recommend mounting the bracket so that the openings on each end of the bracket are facing up (shaped liked a “U”).
- Each side of the transmitter has a screw protruding. That screw slides into the u-shaped openings of the bracket.
- Insert the unit into the bracket. Each screw on the sides of the sensor should rest on open ends of the u-shaped bracket.
- Tighten the screws on the side of the case just enough to keep it in place (do not let it fall out).
- Tilt sensor in bracket to create desired monitored zone and test.
- Tighten the screws on each side of the case to secure it to the bracket.
Connecting a 12V DC Strobe to the ERA-DCRX Receiver
The ERA-DCRX receiver features a live 12V DC output for each of the four zones of the receiver. In this kit, the Strobe Light will be connected to a zone of the ERA-DCRX receiver. To access the live 12V DC outputs and C-Form relay, separate the top half of the receiver case from the lower half. The outputs and relay are located on the PC board and are shown below. (Figure 4)
- Pair the transmitter to the receiver per the instructions for that transmitter.
- Each zone features 1 x 12V DC output that is activated when that zone is triggered. The positive (+) & negative (-) screws for each output are shown in figure 4 below.
- The output duration for the 12V DC output may be set to 5 sec, 10 sec, 1 min, & 2 min by adjusting dip switches (Figure 5). The duration setting applies to all zones.
- The C-Form Relay, labeled “Relay” (Figure 4), may be associated with a specific zone or multiple zones & will take on the duration of the 12V DC output.
- 12V DC output current: 400mA maximum.
- The form “C” relay is rated for 24 VDC at 3 Amp maximum current.
- Form “C” relays DOES NOT supply power to external device.


- Unplug the receiver & separate the top half from the lower half of the case.
- Located the positive (+) and negative (-) wires on the strobe. The Red is the positive wire & the negative wire is black/red stripped.
- Locate the external 12V DC terminal connection block that corresponds to the respective zone on the ERA receiver. (Figure 4).
- Loosen the positive (+) and negative (-) screws for the zone on the receiver one you are connecting the strobe light to. For example, if a push button is paired to zone 1, and you want the siren to sound for zone 1, wire the siren into the terminal block for zone 1.
- Insert the positive wire on the strobe to the positive screw on the zone terminal block and negative wire on the strobe to the negative screw on the zone terminal block.
- Re-tighten screws on the terminal blocks of the ERA-DCRX receiver.
- Plug in the receiver.
- To ensure the transmitter triggers the receiver and the accessory is triggered by the 12V output on the ERA-DCRX.
- Ensure the volume is turned on the receiver, the battery is installed in the transmitter, and the transmitter is programmed to the receiver.
- Snap the cover back on the ERA-DCRX.
TECHNICAL SUPPORT
If you encounter any difficulty in the operation of this product after reading the manual, please contact us. You can reach us by phone at 904-245-1184 from 8:00 AM to 5:00 PM Monday through Friday (Eastern Standard Time). We will be happy to answer your questions and help you in any way we can.
WARRANTY
Safeguard Supply warrants this product to be free of defects in material and workmanship for a period of one year from the date of purchase. This warranty does not cover damage resulting from accident, abuse, act of god or improper operation. If this product does become defective, simply return it to Safeguard Supply. Please include a note
LEGAL NOTICES
This device complies with Part 15 of the FCC Rules. Operation is subject to the following two conditions: (1) this device may not cause harmful interference, and (2) this device must accept any interference received, including interference that may cause undesired operation. Changes or modifications not expressly approved by the party responsible for compliance could void the user’s authority to operate the equipment. This equipment has been tested and found to comply with the limits for a Class B digital device, pursuant to Part 15 of the FCC Rules. These limits are designed to provide reasonable protection against harmful interference in a residential installation. This equipment generates, uses, and can radiate radio frequency energy and, if not installed and used in accordance with the instructions, may cause harmful interference to radio communications. However, there is no guarantee that interference will not occur in a particular installation. If this equipment does cause harmful interference to radio or television reception, which can be determined by turning the equipment off and on, the user is encouraged to try to correct the interference by one or more of the following measures: Reorient or relocate the receiving antenna.
WARNING: Cancer and Reproductive Harm. Go to www.P65Warnings.ca.gov for more information.Safeguard Supply – 2260 Moon Station Ct. NW #110 , Kennesaw, GA 30144 www.safeguardsupply.com





















