SP1117B Sprinter Rear Tire Carrier
Product Information
The Sprinter Rear Tire Carrier (SP1104B) is a product manufactured by Flatline Van Co. It is designed to be attached to your vehicle and can carry a spare tire. The product comes with a
wheel bracket, drill template, backer plate, lock rod, lower hinge backing plate, tire carrier frame, upper hinge backing plate, and door mounting boss. The product also comes with hardware such as screws, bolts, nuts, washers, and lug nuts to help with installation.
Product Usage Instructions
- Before beginning the installation process, ensure that the product is properly assembled and secured. Improper attachment could result in an automobile accident, and could cause serious bodily injury or death to you or to others involved.
- Always use a professional to install any aftermarket accessories to your vehicle if you have no mechanical experience and are not thoroughly familiar with the installation procedures. The responsibility is yours and must be taken seriously for everyone’s safety.
- Refer to the estimated install time of 2 hours and ensure that you have additional help for a few of the install steps.
- Use the tools provided such as a 9/16 wrench, 3/4 wrench, 7/32 allen key, 5mm allen key, and ratchet. You will also need a 9/16 deep socket, 13/16 deep socket, and a multidiameter drill bit.
- Remove your interior door panel and anything that may be in the way, like insulation, etc. Note that you may have any number of different door configurations which require their own removal method.
- Start drilling the third mount hole into the door of the van using the provided template to mark the location of your hole as shown in Figure 1. The top and right side of the template align with the body lines of the van as shown. Mark your hole, then proceed with drilling a 3/16 pilot hole.
- If you have the panel style door trim, drill through again using a 1/4 or similar bit that is long enough to reach to the sheet metal on the backside of the door (see Figure 2). Then, drill the hole on the inside of your door to 7/8 to fit the panel plug. This hole is sized to fit a 9/16 deep well socket to make fastening easier.
THANK YOU!
ARE YOU EXCITED ABOUT YOUR NEW TIRE CARRIER? HERE ARE A FEW THINGS TO DO BEFORE BEGINNING THE INSTALLATION PROCESS.
- PLEASE INSPECT THE PRODUCT TO ENSURE THERE WAS NO DAMAGE INCURRED DURING SHIPPING.
- IF THERE IS DAMAGE TO REPORT, PLEASE CONTACT OUR CUSTOMER SERVICE DEPARTMENT AS SOON AS POSSIBLE.
- NEXT, USING THE “PACKAGE CONTENTS” PAGE, CHECK INVENTORY AND FAMILIARIZE YOURSELF WITH THE PARTS AND HARDWARE.
- GATHER ALL TOOLS REQUIRED FOR INSTALL.
- 9/16 BOX WRENCH
- 9/16 DEEP SOCKET
- 3/4 BOX WRENCH OR SOCKET
- 7/32 HEX KEY ALLEN WRENCH
- 5MM HEX KEY ALLEN WRENCH
- 3/16 DRILL BIT
- 1/4 DRILL BIT
- 3/8 DRILL BIT
- POWER DRILL
- RED LOCTITE
ESTIMATED INSTALL TIME- 2 HRS
ADDITIONAL HELP IS SUGGESTED FOR A FEW OF THE INSTALL STEPS. A PRINTABLE DRILL TEMPLE IS LOCATED ON PAGE 11.
TOOLS

PACKAGE CONTENTS

HARDWARE

LET’S GET STARTED
- FIRST STEP IS TO REMOVE YOUR INTERIOR DOOR PANEL AND ANY THING THAT MAY BE IN THE WAY, LIKE INSULATION, ETC.
NOTE: YOU MAY HAVE ANY NUMBER OF DIFFERENT DOOR CONFIGURATIONS- STOCK FULL TRIM, STOCK HALF TRIM, STOCK PANEL, UPHOLSTERED WOOD, ETC. EACH REQUIRE THEIR OWN REMOVAL METHOD PLEA. SE NOTE THAT THE PANEL STYLE TRIMMED DOOR REQUIRES ADDITIONAL DRILLING AND THE USE OF THE PROVIDED PANEL PLUG. - NEXT WE’LL START DRILLING THE THIRD MOUNT HOLE INTO THE DOOR OF THE VAN. THIS IS A MULTI-STEP PROCESS.
- GRAB THE PROVIDED TEMPLATE TO MARK THE LOCATION OF YOUR HOLE AS SHOWN IN FIGURE 1. THE TOP AND RIGHT SIDE OF THE TEMPLATE ALIGN WITH THE BODY LINES OF THE VAN AS SHOWN. MARK YOUR HOLE, THEN PROCEED WITH DRILLING A 3/16” PILOT HOLE.
- IF YOU HAVE THE PANEL STYLE DOOR TRIM, AT THIS POINT YOU NEED DRILL THROUGH AGAIN USING A 1/4” OR SIMILAR BIT THAT IS LONG ENOUGH TO REACH TO THE SHEET METAL ON THE BACKSIDE OF THE DOOR (SEE FIGURE 2) THEN DRILL THE HOLE ON THE INSIDE OF YOUR DOOR TO 7/8“ TO FIT THE PANEL PLUG. THIS HOLE IS SIZED TO FIT A 9/16 DEEP WELL SOCKET TO MAKE FASTENING EASIER.
NOTE: SKIP THIS STEP IF YOU HAVE THE OPENING ON THE INSIDE OF YOUR DOOR AS SEEN WITH FULL AND HALF TRIM DOORS. SEE OUR INSTALL VIDEO FOR THIS PRODUCT FOR MORE INFO. - DRILL THROUGH ALL WITH THE 3/8” DRILL BIT
- USING THE STEP BIT, DRILL THE OUTSIDE HOLE ON YOUR DOOR OUT TO 5/8” TO FIT THE DOOR MOUNTING BOSS (DO NOT INSTALL YET) NOTE- WE LIKE TO MARK THE STEP BIT AS SHOWN BELOW TO AVOID DRILLING TOO FAR.

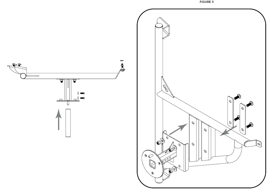
- NOW YOU CAN BEGIN ASSEMBLING THE TIRE CARRIER. ATTACH THE WHEEL BRACKET TO THE TIRE CARRIER FRAME AS SHOWN IN FIGURE 3 USING THE (4) 1/2-13 X 1.5 SQUARE NECK CARRIAGE BOLTS, (4) 1/2 SCREW FLAT WASHERS, AND (4) 1/2-13 NYLON INSERT LOCKNUTS. ENSURE THAT THE (2) BACKER PLATES ARE INSTALLED BENEATH THE CARRIAGE BOLTS AS SHOWN IN FIGURE 3. TIGHTEN THIS DOWN.
- OPTIONAL STEP- SINCE WE PROVIDE LOCKING LUG NUTS, YOU DO NOT NEED TO INSTALL THE LOCK ROD UNLESS YOU WANT THE EXTRA PROTECTION. LEAVING IT UNINSTALLED PROVIDES A CLEAN LOOK IF YOU HAVE COOL CENTER CAPS FOR YOUR WHEELS. IT CAN ACCEPT VARIOUS LOCKS, BUT OUR FAVORITE IS A TRADITIONAL HITCH LOCK. TO INSTALL- INSERT INTO THE WHEEL BRACKET AS SHOWN BELOW AND FASTEN USING THE (2) 3/8-16 X 1 HEX HEAD SCREW, AND (2) 3/8 SCREW FLAT WASHER. THE DEPTH IS ADJUSTABLE TO SUIT YOUR SPECIFIC WHEEL SETUP. ENSURE IT STICKS OUT ENOUGH FOR THE LOCK TO HAVE CLEARANCE WITH YOUR WHEEL INSTALLED.

- NOW SLIDE THE 5/8 SCREW WEATHER RESISTANT SEALING WASHER ONTO THE DOOR MOUNTING BOSS AND PRESS INTO THE DOOR AS SHOWN
IN FIGURE 4. - THE NEXT FEW STEPS WILL REQUIRE A SECOND PERSON TO HELP OUT. GRAB BOTH THE HINGE BACKING PLATES AND (4) 3/8-16 X 1.5 HEX DRIVE BUTTON HEAD SCREW AND INSERT THEM INTO THE DOOR AS SHOWN BELOW. ONE PERSON WILL NEED TO HOLD THESE IN PLACE FOR THE SECOND PERSON TO PERFORM THE NEXT STEP.

- WHILE SOMEONE HELPS TO HOLD HINGE BACKING PLATES AND HARDWARE IN PLACE, FIRST INSERT THE 3/8-16 X 2.25 HEX DRIVE BUTTON HEAD SCREW 3AND /8 SCREW FLAT WASHER THROUGH THE 3RD MOUNT OF THE TIRE CARRIER AND INTO THE DOOR MOUNTING BOSS AS SHOWN IN FIGURE 5. THEN FIT THE TIRE CARRIER ON TO THE PROTRUDING HARDWARE ON THE HINGES OF THE VAN AND SECURE WITH (4) 3/8-16 FLANGED NYLON INSERT LOCKNUTS. LEAVE THESE A LITTLE LOOSE TO ALLOW MOVEMENT OF THE TIRE CARRIER FOR ALIGNMENT.
NOTE: THIS STEP IS TRICKY AND REQUIRES A BIT OF JUGGLING BETWEEN THE TIRE CARRIER FRAME AND REQUIRED HARDWARE.
- FASTEN THE REMAINING 3/8-16 FLANGED NYLON INSERT LOCKNUT INSIDE THE DOOR (FIGURE 6) AND THEN PROCEED WITH ALIGNING THE TIRE CARRIER. ALIGN WITH THE DOOR/WINDOW BODY LINES AS SHOWN IN FIGURE 7. CAREFULLY OPEN THE DOOR AND ENSURE THAT THE DOOR STOP ON THE LOWER HINGE BRACKET ENGAGES THE FACTORY BUMP STOP. NOW TIGHTEN ALL FASTENERS ON THE HINGES AND INSIDE DOOR.
NOTE- MORE DETAIL ON BUMP STOP IN OUR INSTALL VIDEO FOR THIS PRODUCT.
- NOW WE NEED TO GET READY TO INSTALL THE WHEEL. GRAB THE WHEEL STUDS AND LUG NUTS. APPLY RED LOCTITE TO THE WHEEL STUDS ON THE SHORT END OF THE STUD AND SCREW INTO THE WHEEL BRACKET. TIGHTEN WITH 5MM ALLEN KEY.
- LIFT YOUR WHEEL ONTO THE CARRIER AND FASTEN DOWN THE LUG NUTS USING THE SUPPLIED LUG NUT KEY. YOU WILL NEED A 13/16 SOCKET TO TURN LTHE UG NUT KEY. ENSURE THEY ARE TIGHTENED WELL, AND THEN YOU ARE READY TO HIT THE ROAD

DRILL TEMPLATE

GET OUT AND EXPLORE
LEAVE US A REVIEW
Happy with your new FVC product? We would love to hear (and see) from you! Head to the product page and click “Leave Review.” Add a short review and upload a few photos to be showcased on the product page.
SHARE YOUR PHOTOS WITH US
We love seeing how our customers use their FVC products and following along with your adventures. Tag us in your photos with @flatlinevanco or send them to us via email. We love posting customer pictures in our feed!
CUSTOMER SUPPORT
If you are having any issues with your product, please reach out, and we will make it right. FVC is a company of van and outdoor enthusiasts that design and use our own products, so we want you to be as stoked on your new parts as we are.
























