POR015 Spare Tire Carrier
Installation Guide
SPARE TIRE CARRIER
CAN AM X3
POR015
THANK YOU!
FOR PURCHASING AT AFX MOTORSPORTS
HOW TO INSTALL
Pieces included
(4x) 3/8” x 1” Bolt
(2x) 5/16 x 3″ Bolt
(4x) 3/8” Lock nut
(2x) 5/16” Lock nut
(2x) 5/16” Plain Washer
(4x) 3/8” Plain Washer
(4x) 10M Special Nut
Tools needed (Not Included)
15 mm Combination Wrench 1/2” Combination Wrench
Liability Statement
AF1 Motorsports products are designed to best fit user’s ATV/UTV under stock conditions. Adding, modifying, or fabricating any factory or aftermarket parts will void any warranty provided by AF1 Motorsports and is not recommended. AF1 Motorsports products could interfere with other aftermarket accessories. If user has aftermarket products on machine, contact AF1 Motorsports to verify that they will work together. Although AF1 Motorsports has thousands of satisfied customers, user should be aware that installing bumpers, rock sliders, spare tire carriers, etc. will change the ride of machine and may increase maintenance and part wear. Operating any off-road machine while, or after, consuming alcohol and/or drugs increases risk of bodily harm or death. No warranty or representation is made as to this product’s ability to protect user from severe injury or death. AF1 Motorsports urges operators and occupants to wear a helmet and appropriate riding gear at all times. By purchasing and installing AF1 Motorsports products, user agrees that should damages occur, AF1 Motorsports will not be held responsible for loss of time, use, labor fees, replacement parts, or freight charges. AF1 Motorsports, nor any 3rd party, will not be held responsible for any direct, indirect, incidental, special, or consequential damages that result from any product purchased from AF1 Motorsports. The total liability of seller to user for all damages, losses, and causes of action, if any, shall not exceed the total purchase price paid for the product that gave rise to the claim. AF1 Motorsports will warranty only parts provided by AF1 Motorsports. Any damage or problems with OEM housings, bearings, seals, or other manufacturers’ products will not be covered by AF1 Motorsports. AF1 Motorsports parts and products are not warrantied if item was not installed properly, misused, or modified.
- Locate two perforations on the top rear of the vehicle´s roll cage.

- Place the Tire Carrier on the back of the vehicle.
Align the perforations of the vehicle with the perforations placed on top of the tire carrier. Secure with a 5/16” x 3“ bolt, a plain washer and lock nut on eah side.(Do not tighten yet)
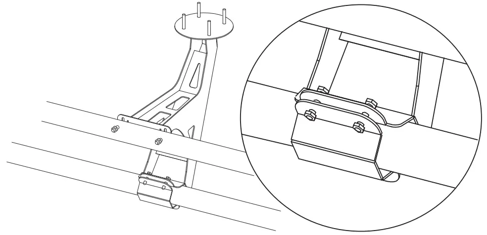
- Secure the bottom of the tire carrier with the special clamp, use four 3/8” x 1” Screws with a plain washer lock nuts on each side.

- Place the tire over the tire carrier, and secure it with four 10M Special Nuts. Tighten all the hardware.

For technical support , please write us to: [email protected] or call us at: Ph. 956-242-6521
HAVE FUN AND A SAFE RIDE!
www.afxmotorsports.com 4610
Modern Lane, Laredo, TX 78041 Ph. 956-242-6521
INS PRODUCT IS FOR OFF ROAD USE OILY






















