Niceboy HIVE Kiddie Wireless Headphone

The Niceboy HIVE Kiddie wireless headphones come with a USB-C charging cable, audio cable, and operating instructions. The headphones have the following features:
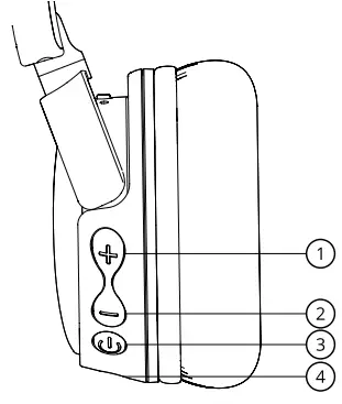
- Button for increasing volume/next song (1)
- Button for decreasing volume/previous song (2)
- Button for power on/off and play/pause (3)
- 3.5 mm jack AUX input (4)
- Operating LED (5)
- Hearing protection switch (6)
- USB-C charging input (7)
To turn the headphones on or off, press and hold button (3) for 3 seconds. The headphones will automatically turn off after 5 minutes of inactivity to conserve energy.
Connecting to a Device
- Press the power on/off button (3) for three seconds to activate the headphones.
- The headphones are now in pairing mode for a wireless connection. Pairing mode is signaled by flashing red and blue operating LED inside button (5).
- Activate Bluetooth on your device and select “Niceboy HIVE Kiddie” from the list of available devices.
- The device will connect to the headphones. An acoustic prompt announces successful pairing, and the operating LED (5) will start flashing blue at long intervals.
The headphones will automatically connect to the last paired device after subsequent turning on.
Playback and AUX Mode
- To start or pause a track, briefly press button (3).
- To control the volume, briefly press buttons (1) and (2). Press and hold buttons (1) and (2) to skip to the next or previous track.
- In AUX mode, insert the 3.5mm jack cable into the audio input (4) and use the device to control the music being played.
Phone Calls and Hearing Protection
- To answer and then end a phone call, press button (3). Press and hold the same button to reject an incoming call. Press this button twice to dial the last number dialed.
- The hearing protection switch (6) can limit the volume to 85dB/95dB. For children, it is recommended to keep the switch at the 85dB position.
Parameters
- BT version:
- Frequency band:
- Radiofrequency power:
- Transmission distance:
- Supported codecs:
- Supported profiles:
- Speaker size:
- Impedance:
- Sensitivity:
- Frequency range:
- Battery:
- Battery life:
The battery or accumulator that may be included with the product has a service life of six months as it is consumable.
The user manual is available for download in electronic form at www.niceboy.eu in the support section. NICEBOY s.r.o. declares that the Niceboy HIVE Kiddie complies with Directives 2014/53/EU, 2014/30/EU, 2014/35/EU, and 2011/65/EU. The full EU Declaration of Conformity is available at the following website: https://niceboy.eu/en/declaration/hive-kiddie
PACKAGE CONTENTS
- Wireless headphones Niceboy HIVE Kiddie
- USB-C charging cable
- Audio cable
- Operating instructions
PRODUCT DESCRIPTION

- Increase volume / Next song button
- Decrease volume / Previous song button
- Power on / off, Play / Pause
- 3.5 mm jack AUX input
- Operating LED
- Hearing Protection Switch
- USB-C charging input
CHARGING
It is recommended that you fully charge the headphones before using them for the first time to maximize battery life. Full charging takes approximately 2 hours. An audio signal indicates a low battery. To charge the loudspeaker battery, connect the supplied USB-C cable to the charging port (8) and connect it to any charging adapter (5V voltage and at least 1A output current) or a USB in a PC. The progress of charging is signalled by a red LED (5); after reaching full charge, the LED goes out.
POWER ON / OFF
To turn the headphones on or off, press and hold the button (3) for 3 seconds. *If the headphones are not in use, they will automatically turn off after 5 minutes to save energy.
CONNECTING TO A DEVICE
- Press the on/off button (3) for three seconds after the headphones have been activated. The headset is now in pairing mode for a wireless connection. Pairing mode is signalled by flashing of the red and blue operating LED inside the button (5).
- Activate Bluetooth on your device. Then select „Niceboy HIVE Kiddie“ in the list of available devices.
- The device will connect to the headphones. An acoustic prompt announces successful pairing, and the operating LED (5) will start flashing blue at long intervals.
The headphones will automatically connect to the last paired device after subsequent turning on.
PLAYBACK
To start or pause a track, briefly press the button (3). To control the volume, briefly press buttons (1) and (2). Press and hold buttons (1) and (2) to skip to the next or previous track.
AUX MODE
- Insert the 3.5mm jack cable into the INPUT audio input (4). If they were turned on before, they would be turned off and disconnected from the paired device.
- Use the device to which you have connected the headphones to control the music being played.
PHONE CALLS
To answer and then end the phone call, press the button (3). Press and hold the same button to reject an incoming call. Press this button twice to dial the last number dialled.
HEARING PROTECTION
You can set the volume limits to 85dB / 95dB with the (6) button. For children, we recommend keeping the switch at 85dB position.
PARAMETERS
- BT version: 5.0
- Frequency band: 2.4 GHz
- Radiofrequency power: ≤ 2,5 mW
- Transmission distance: 10 meters
- Supported codecs: AAC, SBC
- Supported profiles: A2DP, AVRCP, HFP
- Speaker size: 40 mm
- Impedance: 32 Ω
- Sensitivity: 85dB / 95dB ±3 dB
- Frequency range: 20 Hz – 20 kHz
- Battery: Li-Ion 300 mAh
- Battery life: 15 hours
SAFETY INFORMATION
Listening to music at a very high volume can damage your hearing. Do not expose the device to fluids or humidity. Do not expose the device to extreme temperatures or try to disassemble it. Protect the device from sharp objects and falls from height. Batteries – improper handling (prolonged charging, short circuit, breakage by other objects, etc.) may result in fire, overheating or battery leakage.
The battery or accumulator that may be included with the product has a service life of six months, as it is consumable.
The manual is available for download in electronic form at www.niceboy.eu in the support section. NICEBOY s.r.o. hereby declares that the Niceboy HIVE Kiddie complies with Directives 2014/53 / EU, 2014/30 / EU, 2014/35 / EU, and 2011/65 / EU. The full EU Declaration of Conformity is available at the following website: https://niceboy.eu/en/declaration/hive-kiddie
DISPOSAL
INFORMATION FOR USERS ON DISPOSAL OF ELECTRICAL AND ELECTRONIC EQUIPMENT (HOUSEHOLDS)
The above symbol on the product or accompanying documentation means that used-up electrical or electronic products must not be disposed of as communal waste. To dispose of the product correctly, bring it to designated waste collection points, where it will be disposed of free of charge. Proper disposal of the product helps preserve valuable natural resources and prevent potential negative impacts on the environment and human health caused by improper waste disposal. For more information, contact local authorities or the nearest waste collection point. Improper disposal of this type of waste may result in a fine pursuant to national legislation. Information for Users on Disposal of Electrical and Electronic Equipment (Corporate Use). To properly dispose of electrical and electronic equipment for corporate use, contact the manufacturer or importer of the product. They will provide you with information on disposal methods for the product and will inform you on who is obligated to fund the disposal of the electrical device based on the date the product was put on the market. Information on Disposal in Countries outside the European Union. The above symbol only applies to EU countries. To properly dispose of electrical and electronic equipment, request more information from your local authority or the seller of the product.





















