
HIVE PODSIE 2021
User Manual / Wireless Earphones
PACKAGE CONTENTS:
Niceboy HIVE possible headphones
Charging box
Backup earphone attachment
USB-C cable
Manual
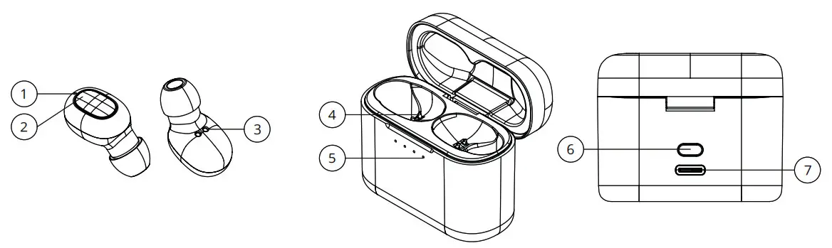
PRODUCT DESCRIPTION
- LED diode
- Multifunctional button
- Charger input
- Charger output
- LED charging indicator
- Button signalling the state of the battery
- Charging USB-C port

INITIAL START-UP AND PAIRING
- Take both headphones out of the charging box and take off the labels protecting the charging pins (3) on the headphones.
- Power on the headphones with one long press of the multifunctional button (2) on both headphones.
- The headphones will power on and pair together. After the LED diode (1) begins to flash both blue and red, the headphones are prepared to connect to Bluetooth.
- Open the Bluetooth settings on your own device and search for “Niceboy HIVE podsie” on the list of available devices.
- Once the pairing is successful it will be announced by an audible queue and the LED diode (1) will stop shining.
Just take the headphones out of the box to connect them again to a previously connected device. The headphones will automatically power on and connect to the device.
POWERING ON AND OFF:
Just take the headphones out of their charging box to power them on or manually power on the headphones by long pressing both multifunctional buttons (2).
To power the headphones off, just place them back in their charging box. They will power off themselves and disconnect from your device. The diode (1) will shine red once the headphones have been correctly stored in their box. The diode will stop hining when the headphones have charged 100%. You can also power off the headphones by long pressing both multifunctional buttons for about 10 seconds.
One press of any button – playback/pause, accept/end call
Press the right button twice – increase the volume by 1
Press the left button twice – decrease the volume by 1
Long press the right button – next track, reject call
Long press the left button – last track, reject call
CHARGING:
To charge the charging box itself, connect the charging cable to the USB port (7). The diode (5) flashes when charging and stops flashing once a full battery has been reached.
FACTORY SETTINGS
Remove one headphone from the charging case and connect it to your device. Press and hold the multifunctional button. First, your device will disconnect from the headphone. Continue holding the button. Your device will then display its former onnection. In that moment, release the multifunctional button. Place the headphone back in the charging case. Repeat this same process with the other headphone. Once completed, the headphones will have been returned to their factory settings.
FREQUENTLY ASKED QUESTIONS (FAQ)
The headphones are paired with the phone but only one is playing sound
Restart the headphones (see “Factory settings“); the headphones will pair again.
I see the headphones two times in Bluetooth settings of the phone
The headphones are not paired (diodes on both headphones are blinking blue-red). Pair the headphones manually, see “Factory settings“.
Music playback is interrupted constantly (due to signal loss)
- Make sure that the Bluetooth signal is not blocked by anything and that you and the headphones are near the paired device.
- The headphones communicate with each other on the same frequency as Wi-Fi (2.4 GHz). If any interference is present, try to change the channel set on your Wi-Fi router.
- Charge your headphones; the signal may vary when the battery is weak.
The headphones cannot be connected to the mobile phone
- Make sure that Bluetooth is on your mobile device. Put the headphones closer to the mobile phone.
- Alternatively, restart the headphones and pair them manually again, see “Factory settings“.
The red diode does not light up when the headphones are placed in the case
If the red diode fails to light up (is off or blinking) when a headphone is placed in the case, try to remove and store the eadphone again; alternatively, try to slightly move the headphone to establish a proper contact.
TIP: Let the headphones fit in the case gently using the little magnets; the headphones will thus ideally connect to their charging ins. If the red diode does not come up, gently seat the headphones in their place.
SUPPORT
How to take care of the headphones:
Keep the headphones in the charging box. Avoid exposing the headphones and the charging box to extreme temperatures. The recommended temperature range for using the headphones is 0°C to 45°C. Protect the headphones and the charging box from rain and moisture.
NICE BOY HIVE PODSIE – TECHNICAL SPECIFICATIONS
| BT version: | 5.1 |
| IP code: | IP54 |
| Master&slave: | YES |
| Auto on: | YES |
| Auto pairing: | YES |
| Hands free: | YES |
| Signal range | 10 m |
| Headphone battery: | polymer/60 mAh*2 |
| Converter size: | ø 8 mm |
| Frequency range: | 20 Hz–20 kHz |
| Converter sensitivity: | 110 dB±3dB – 1 kHz 1 mW |
| Impedance: | 16 Ω |
| BT profiles: | HFP, A2DP, AVRCP, SPP, PBAP,AAC,SBC |
| BT frequency range: | 2.4–2.48 GHz |
| USB type: | USB–C |
| Charging box battery: | polymer/500 mAh |
| Charging time: | 2 hours |
| Total playback time: | ≥ 35 hours |
| Integrated microphone: | YES – Clear Voice Capture (CVC) |
| Sweat resistance: | YES |
| Siri/Google Now: | YES |

Importer to EU: RTB media s.r.o., Pretlucka 16,
Prague 10, 100 00, Czech Republic, ID: 294 16 876
Made in China.




















