niceboy HIVE Sport 2 Wireless Earphones
PACKAGE CONTENTS
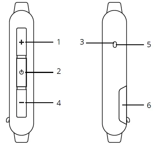
PRODUCT DESCRIPTION
- Increase volume/Next track
- Multifunctional button – accept, end, reject a call, playback, pause, power on/off
- LED indicator
- Decrease volume/Last track
- Microphone
- Charging micro USB port
CHARGING
Before their first use, we recommend completely charging the headphones. Connect the enclosed micro USB cable to the charging micro USB port (6) and charge using any charging adapter (like from a mobile phone, for instance) with 5V voltage and a maximum outgoing electrical current of 1A. The headphones can also be charged using a USB connection on a PC or power bank. The LED indicator shines blue after a complete charge.
When the LED indicator begins to flash red, charge the headphones. An audio signal will alert you of your remaining few minutes of use. Completely charging the battery takes about 1.5 hours (the len-gth of the charging times depends on the outgoing electrical current of your charging adapter).
POWERING ON THE HEADPHONES AND CONNECTING TO BLUETOOTH
- Press and hold the multifunctional button (2) until the LED indicator (3) flashes blue twice and the audio signal sounds. Then the indicator will begin to flash alternatively blue and red. This means that the headphones are in their pairing mode.
- Activate Bluetooth on your device and select “Niceboy HIVE sport 2” from the list of available devices. Your device will connect to the headphones. A successful pairing is announced by an audio queue. Connection to your phone is then signaled by the LED indicator flashing blue every 14 seconds.
Note
The headphones automatically connect to the device they were last connected to. For the purpose of saving the battery, the headphones automatically power off after 10 minutes after having last connection to your device of if they are not connected to any device.
POWERING OFF THE HEADPHONES
To power off the headphones, press and hold the multifunctional button (2) until the audio signal sounds, and the LED indicator (3) begins to blink red twice.
MUSIC CONTROLS
- Playback/pause: short press the multifunctional button (2).
- Next track: long press the “+” button (1).
- Last track: long press the “-” button (4).
- Increase volume: short press the “+” button (1).
- Decrease volume: short press the “-” button (4).
TELEPHONE CONVERSATIONS
To accept or end ongoing phone calls, short press the multifunctional button (2). Press the multifunctional button for about 3 seconds to reject an incoming call. By pressing the multifunctional button twice you can dial the last number you called.
Note: Some phones have calls preferentially set to their own microphone and headphones. In such a case, change the selection according to the instructions on your mobile phone.
SIRI AND GOOGLE NOW
Active in the emergency mode or while playing music by long-pressing the multifunctional button (2) until the audio signal sounds (about 3 seconds).
SAFETY INFORMATION
Listing to music on above-average volume can damage your hearing. Do not expose the headphones to liquids or moisture. Do not expose the headphones to too high/low temperatures and do not try to take the headphones apart. Keep the headphones away from sharp objects and do not drop them from high places.
SPECIFICATIONS
- BT version: 5.0
- Supported BT
- profiles: HFP, A2DP, AVRCP, HSP
- Degree of protection: IPX4
- Playback period: up to 16 hours (on 50% volume)
- Conversation period: up to 16 hours
- Range: up to 10 m
- Battery: 160mAh
- Charging period: 1.5 hours
- Weight: 22,5 g























