LOCTITE 2804957 EQ CL42 LED Dual Controller

Emphasized Sections
Warning!
Refers to safety regulations and requires safety measures that protect the operator or other persons from injury or danger to life.
Caution!
Emphasizes what must be done or avoided so that the unit or other property is not damaged.
Notice:
A notice gives recommendations for better handling of the unit during operation or adjustment as well as for service activities.
For Your Safety
For the safe and successful operation of the unit, read these instructions completely. If the instructions are not observed, the manufacturer can assume no responsibility.
- Do not expose the connecting cable to heat, oil, or sharp edges.
- Make sure the Unit stands stable and secure.
- Use only original equipment replacement parts.
- Always disconnect the power supply before servicing the unit.
- Observe general safety regulations for the handling of chemicals such as Loctite® adhesives and sealants. Observe the manufacturer’s instructions as stated in the Safety Data Sheet. While under warranty, the unit may be repaired only by an authorized Loctite service representative.
WARNING!
- It is the responsibility of the user to ensure that all devices being driven by the LED Flood Controller are set up in a safe manner.
- The manufacturer is in no way responsible for injuries or damage to persons or property resulting from devices being driven by the LED Flood Controller.
- For the safe and successful operation of the unit, read these instructions completely. If the instructions are not observed, the manufacturer can assume no responsibility.
- Removing, bypassing or putting out of operation any of the safety devices can result in radiation damage to persons and damage to the unit and is therefore prohibited!
- Do not look directly at LED-UV light, or at LED-UV light reflected in a mirror or other reflective surface. Doing so could cause eye damage.
- Install the LED head in a way that humans are not exposed to LED-UV light.
- Exposure could injure the skin or cause another injury.
- If there is a risk of the LED-UV light being exposed to UV reflective light, place the product inside a cover with proper reflectance and heat characteristics to block that reflected light.
- When operating the controller, set up the system so that the path of the LED-UV light is not at eye level.
- It is strongly recommended to place a protective barrier around the product so that people cannot approach it while it is operating.
- Wear protective UV glasses and other protective clothing during operation.
- Never operate this product in a manner not described in this manual. Doing so risks exposure to LED UV light.
- Damage to the power cord or the housing can result in contact with live electrical parts. Check the power cord and the unit before each use. If the power cord or the unit is damaged, do not operate! Replace a damaged power cord with a new one.
- The unit may be opened and repaired only by authorized service personnel.
Unpacking and Inspection
Carefully unpack the Loctite® EQ CL42 LED Dual Controller and examine the items contained in the carton. Inspect the unit for any damage that might have occurred in transit. If such damage has occurred, notify the carrier immediately. Claims for damage must be made by the consignee to the carrier and should be reported to the manufacturer.
Packing List
- EQ CL42 LED Dual Controller x 1
- Equipment Manual x 1
- Power Cord x 1
- Footswitch x 1
Features
- Capacity for up to two UV LED Heads.
- Works with Loctite EQ CL42 Flood Heads.
- Touch screen HMI
- running modes: Timer, Continue, and Advance.
- Friendly UI
Usage
The Loctite EQ CL42 LED Dual controller is used with the EQ CL42 365nm and 405nm LED flood heads for use with light cure products that cure when exposed to ultraviolet and/or visible light. The system can be operated manually, operated with the integrated timer, or controlled with an external switch. The system is designed for intermittent or constant duty cycles.
Description
Theory of Operation
The EQ CL42 LED Flood Controller provides electrical power to the leds through the connecting cable (not included). Indicator lights located on the front panel of the power supply provide visual confirmation that the LEDs are in or out of their acceptable range. In the event of a temperature fault, the power supply will automatically shut down to protect the LED array. When the cure cycle is initiated, light is immediately irradiated at or near maximum intensity from the leds. The curing process begins when the adhesive is placed under the leds. The two primary variables that control the curing process are the time of exposure and the strength of the light (irradiance). For a given irradiance, the exposure time required to fully cure the adhesive depends primarily on the properties of the adhesive and the optical properties of the substrate that the light is transmitted through.
Note:
If the temperature of the LED Head is below 500C at the end of the exposure cycle the fan will immediately turn OFF If the temperature of the LED Head exceeds 500C at the end of the exposure cycle the fan will continue to operate for 2 minutes to cool the LED head. At the end of 2 minutes, the cooling fan will turn OFF.
Display, operating elements, and connections
- Power Supplier Inlet and Fuse
- Power Switch ON/OFF
- Socket XS3: LED Head
- Socket XS1: Start for CH1(The footswitch is connected here).
- Socket XS2: Start for CH2(The footswitch is connected here).
- Socket XS5: RS232
- Socket XS9: PLC Interface
- Cooling Fan
- Screen.
Technical Data
- Dimensions (W x H x D): 217x123x307.4 mm
- Total weight: lbs. (Kg) 14
- Operating voltage: 110~240 VAC 50/60Hz
- Power consumption: 1100 Watts
- Operating Temperature: +10 °C to +40 °C (+50 °F to +104 °F)
- Storage Temperature: -10 °C to +60 °C (+14 °F to +140 °F)

Installation
Before using the equipment for the first time check it carefully for signs of external damage. If any shipping damage is found DO NOT USE THE EQUIPMENT – return it to your supplier immediately.
Environmental and Operating Conditions
- No direct sunlight.
- Recommend operating temperature; +10 °C to +40 °C (+50 °F to +104 °F)
- No splashing waters.
- No sudden temperature changes, vibrations or shocks.
- No high magnetic and intense electric.
Connecting the Unit
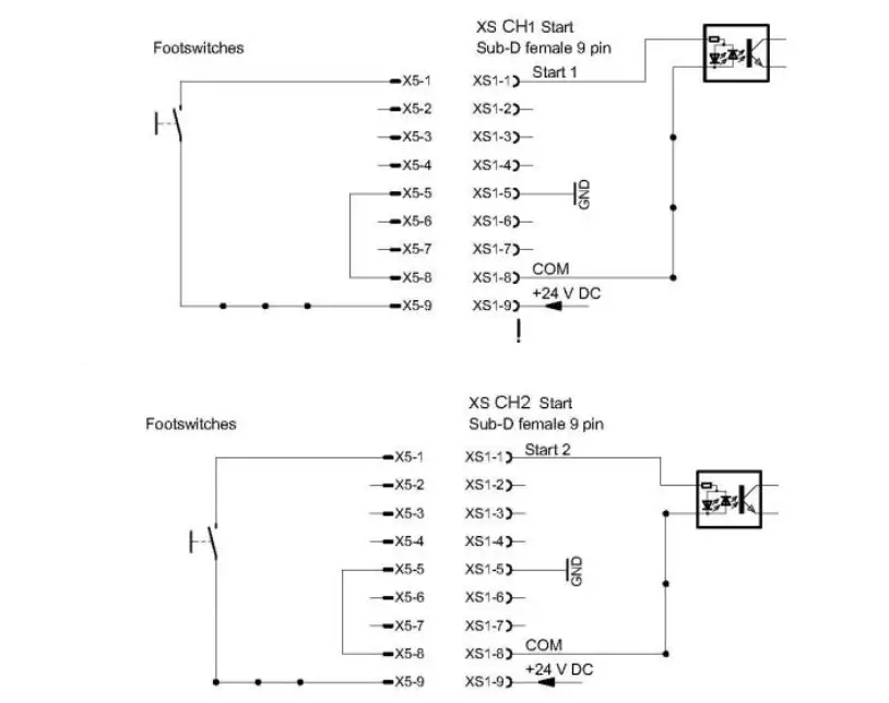
- Connect the Sub D 9 pin connector of the footswitch 97201 or a higher-ranking controller to XS 1.
- Connect the 15-pin Sub D connector to the LED Head Array to XS 31~34.
- Connect the power cord to the appropriate plug.
Operation
- Plug the female end of the LED power cable into the 15-pin D-sub connector located on the rear panel of the LED Array housing. Plug the male end into the 15 pin D-sub connector located on the rear panel of the controller.
- Make sure that the connections at both ends are secure.
- Plug the AC power cord into the back of the controller and connect to a power source.
- For manual operation, plug the footswitch into the 9-pin D-sub connector marked XS1, located on the rear panel of the CL30 controller.
- For automated control, connect the external PLC output relay to pins one and nine of XS1.
Turn on the Unit
- Observe the operating manual of the LED head used.
- Turn the power switch 2 to ON
Main Page 
- Channel Manual Switch
- Channel
- LED head running Mode: CONTINUE, TIMER, ADVANCE
- Intensity percentage
- Time (Exposure time)
- Temperature (LED head temperature – For indication only)
- Channel Status Display

- To the Main page
- To Parameter Setting page
- To Warning Message page
Parameter Setting Page
- Running Mode selection: Continue, Timer or Advance Continue Mode: The LED head will turn ON when a footswitch is pressed and remain ON until the footswitch is released. The intensity can be set up for each channel independently. Timer Mode: The LED head will turn ON when a footswitch is pressed and remain ON for the duration that is set on the timer. If the time is set to 0 then when a footswitch is pressed the LED head will turn ON and remain ON until the Footswitch is pressed again. The intensity can be set up for each channel independently. Advance Mode: This enables intensity to change automatically during the curing cycle.
- Link Button: The linked LED head will turn on with a start signal.
- Restore the factory setting.
- Save Setting: Save changes.
- Intensity & Timer setting. When clicked, can enter the below page to set intensity and timer.
Continue Mode: Enter the required intensity percentage setting (normal operation set 100%). 
Timer Mode: Enter the required intensity percentage setting (normal operation set 100%) and curing time required.
Advance Mode: Enter the required intensity percentage setting (normal operation set 100%) and curing time required.
For example, if the operator have defined as below, when start signal comes, the LED head will work step by step. Time and power will follow each step’s setting to run 2 cycles. 

Warning Message Page
- Connection error
- Overheat error
- Emergency stop
- Clear the warnings
Application Hints
As with all adhesives, performance depends on conditions of use. Suggestions or recommendations contained herein are for guidance only since actual conditions of use are outside the supplier’s control.
Troubleshooting
Before proceeding with any repair or maintenance operation disconnect the tool from the main electricity supply. 
Accessories and Spare Parts
- EQ CL42 LED Flood Head, 365nm 2804955
- EQ CL42 LED Flood Head, 405nm 2804956
- EQ CL42 LED Dual Controller 2804957
- EQ CL42 Connection Cable for Head 2804958
- EQ LED Chamber 2804959
- Footswitch 88653
- EQ PM20 UV AB Radiometer/Dosimeter 2436353
- EQ PM20 UV VIS Radiometer/Dosimeter 2436352
- UV & Visible Light Safety Glasses, Orange 717763
Diagrams
XS9: PLC Interface
Warranty
Henkel expressly warrants that all products referred to in this Instruction Manual for Loctite® EQ CL42 LED Dual Controller (hereafter called “Products”) shall be free from defects in materials and workmanship. Liability for Henkel shall be limited, as its option, to replacing those Products which are shown to be defective in either materials or workmanship or to credit the purchaser the amount of the purchase price thereof (plus freight and insurance charges paid therefor by the user). The purchaser’s sole and exclusive remedy for breach of warranty shall be such replacement or credit. A claim of defect in materials or workmanship in any Product shall be allowed only when it is submitted in writing within one month after the discovery of the defect or after the time the defect should reasonably have been discovered and in any event, within (12) months after the delivery of the Products to the purchaser. This warranty does not apply to perishable items, such as fuses, filters, lights, etc.. No such claim shall be allowed in respect of products that have been neglected or improperly stored, transported, handled, installed, connected, operated, used or maintained. In the event of unauthorized modification of the Products including, where products, parts or attachments for use in connection with the Products are available from Henkel, the use of products, parts or attachments which are not manufactured by Henkel, no claim shall be allowed. No Products shall be returned to Henkel for any reason without prior written approval from Henkel. Products shall be returned freight prepaid, in accordance with instructions from Henkel.
NO WARRANTY IS EXTENDED TO ANY EQUIPMENT WHICH HAS BEEN ALTERED, MISUSED, NEGLECTED, OR DAMAGED BY ACCIDENT. EXCEPT FOR THE EXPRESS WARRANTY CONTAINED IN THIS SECTION, HENKEL MAKES NO WARRANTY OF ANY KIND WHATSOEVER, EXPRESS OR IMPLIED, WITH RESPECT TO THE PRODUCTS. ALL WARRANTIES OF MERCHANTABILITY, FITNESS FOR A PARTICULAR PURPOSE, AND OTHER WARRANTIES OF WHATEVER KIND (INCLUDING AGAINST PATENT OR TRADEMARK INFRINGEMENT) ARE HEREBY DISCLAIMED BY HENKEL AND WAIVED BY THE PURCHASER.
THIS SECTION SETS FORTH EXCLUSIVELY ALL OF THE LIABILITY FOR HENKEL TO THE PURCHASER IN CONTRACT, IN TORT OR OTHERWISE IN THE EVENT OF DEFECTIVE PRODUCTS.
WITHOUT LIMITATION OF THE FOREGOING, TO THE FULLEST EXTENT POSSIBLE UNDER APPLICABLE LAWS, HENKEL EXPRESSLY DISCLAIMS ANY LIABILITY WHATSOEVER FOR ANY DAMAGES INCURRED DIRECTLY OR INDIRECTLY IN CONNECTION WITH THE SALE OR USE OF, OR OTHERWISE IN CONNECTION WITH, THE PRODUCTS, INCLUDING, WITHOUT LIMITATION, LOSS OF PROFITS AND SPECIAL, INDIRECT OR CONSEQUENTIAL DAMAGES, WHETHER CAUSED BY NEGLIGENCE FROM HENKEL OR OTHERWISE.
Declaration of Conformity

www.equipment.loctite.com
® and ™ designate trademarks of Henkel Corporation or its affiliates. ® = registered in the U.S. and elsewhere.
© Henkel Corporation. All rights reserved. Data in this operation manual is subject to change without notice.
Manual P/N: 9001271, Rev A, Date: 04/18/2019























