ECT9281G/ECT6281G-Cooker Hood
User Manual
WE’RE THINKING OF YOU
Thank you for purchasing an Electrolux appliance. You’ve chosen a product that brings with it decades of professional experience and Innovation. Ingenious and stylish, it has been designed with you in mind. So whenever you use it. you can be safe in the knowledge that you’ll get great results every time. Welcome to Electrolux.
BEFORE USING YOUR APPLIANCE
Before you use the rangehood, we recommend that you read through the whole user manual which provides a description of the rangehood and its functions. To avoid the risks that are always present when you use an electrical appliance. It Is Important that the rangehood Is installed correctly and that you read the safety instructions carefully to avoid misuse and hazards.
For future reference, please store this booklet in a safe place.
CONDITIONS OF USE
This appliance is intended to be used In households and similar applications such as
- Staff kitchen areas in shops, offices, and other working environments
- Farmhouses
- By clients in hotels, motels, and other residential-type environments
- Bed and breakfast-type environments
BEFORE YOU CALL
Please ensure you read the instruction manual fully before you call for service, or a full-service fee could be applicable
RECORD MODEL AND SERIAL NUMBER HERE:
Model: ————————————–
Serial NO: ———————————
LEGEND
WARNING !: This symbol indicates information concerning your personal safety
CAUTIONS !: This symbol indicates information on how to avoid damaging the range hood.
IMPORTANT !: This symbol indicates tips and information about the use of the range hood.
ENVIRONMENT !: This symbol indicates tips and information about the economical and ecological use of the range hood.
RoHS
Compliant.
If at any time in the future you need to dispose of this product please do not dispose of this product with household waste, please send this product to collecting points where available
This product is RoHS compliant.
SAFETY INFORMATION
This manual explains the proper use of your new Electrolux canopy rangehood. Please read this manual carefully before using the product. This manual should be kept in a safe place for handy reference.
This range hood is a domestic appliance that has been manufactured and tested to comply with International Standard IEC 60335.2.31.
Read the following carefully to avoid damage or injury.
This symbol indicates never to do this
This symbol indicates always do this
WARNING!: Follow these instructions carefully to avoid an electric shock or fire.
Young children should be supervised to ensure they do not play with the range hood.
This appliance is not intended for use by persons (including children) with reduced physical. sensory or mental capabilities, or lack of experience and knowledge. unless they have been given supervision or instruction concerning the use of the appliance by a person responsible for their safety.
Ensure the rangehood is switched off before carrying out maintenance, to avoid any possibility of electric shock.
Never carry out flambe cooking under the range hood.
This range hood is not recommended for barbecues.
This range hood cannot be installed for external use.
Grease filters must be removed every four weeks (maximum) for cleaning to reduce the risk of fire.
The exhaust from the rangehood must not be discharged into any heating flue, which may carry combustion products from other sources. (Fig.1)
The exhaust air must not be discharged into a wall cavity. unless the cavity is designed for the purpose.
There must be adequate ventilation in the room when the rangehood is used at the same time as appliances burning gas or other fuels.
Always cover lit gas burners with pots or pans when the range hood is in use.
Always switch off gas burners before you remove pots or pans.
Do not leave lit gas burners exposed due to the risk of 1 ire. (Fig.2)
Electrical connection
Check that the mains voltage matches the voltage on the data plate inside the range hood. Check that the installation complies with the standards of local building, gas, and electrical authorities. Before connecting to the mains supply ensure that the mains voltage corresponds to the voltage on the rating plate inside the rangehood the supply cord is damaged, it must be replaced by the manufacturer or its service agent or a similarly qualified person in order to avoid a hazard.
Safety warnings For the Installer
When installing the rangehood, make sure you adhere to the minimum and maximum distances from the rangehood base to the hob surface (as per the table on page 6).
Exhaust flue installation: The following rules must be strictly followed to obtain optimal air extraction.
- Keep the exhaust flue short and straight
- Do not reduce the size or restrict the exhaust flue.
- Keep bends in the exhaust flue to a minimum.
- When using flexible flue always Install duct with helix pulled taut to minimize pressure loss.
- Failure to observe these basic instructions will drastically reduce the performance and increase the noise levels of the range hood.
Exhaust air must not be discharged into a wall cavity. unless the cavity is designed for the purpose. The exhaust from the cooker hood must not be discharged into any heating flue, which may carry combustion products from other sources.
NOTE: Some installations may require the telescopic exhaust cover to be cut to length. Cut with sharp tin snips or a line-tooth hack saw blade. taking care not to distort or dent the exhaust cover.

PRODUCT DESCRIPTION
ECT9281G
ECT6281G
COMPONENTS
| Ref | Qty | Product Components |
| 1 | 1 pc | Hood body, complete with controls, lights, blower |
| 2 | 1 pc | Chimney |
| 3 | 1 pc | Oil cup |
| 4 | 1 pc | Aluminum pipe |
| 5 | 1 pc | Hood mounting bracket |
| 6 | 5 pcs | Mounting screws(ST 5X 50MM) |
| 7 | 5 pcs | Drywall Anchors |
| 8 | 3 pc s | Flue cover fixing screws(ST 3.9X 100MM) |
| 9 | 2 pcs | Magnet |
| 10 | 1 set | Damper |
| 11 | 1 pc | Duct fixing tape |
| 12 | 1 pc | User manual |
DIMENSIONS
ECT9281G
ECT6281G
RANGEHOOD INSATLLATION
WARNING!
Refer to the ‘safety information° chapter
BEFORE INSTALLATION
Before the installation of the appliance, record the information below from the rating plate. The rating plate is on the bottom of the appliance casing.
Model: —————————
PNC: —————————–
Serial number: ——————
- Using a spirit level mark a vertical center line on the wall where the cooker hood is to be positioned, and a horizontal line at the cooker hood base position (refer diagram below).
NOTE. The height of the underside of the hood body must be a minimum of 650mm to a maximum height of 800mm
** If the instructions of the hob specify a greater distance than the minimum above, then that shall be the minimum height for installation. - Mark the location of cooker hood mounting points above the hood base as the reference point (Fig.5).

- Install the wall bracket with screws to the wall as marked(Fig.6).

- Hang the hood on the wall bracket(Fig.7).

- Install two additional hood body mounting screws into the auxiliary mounting holes to secure the hood body in place. (Fig.8)

- Fit the flexible flue to the duct transition (Fig.9) . Use fixing tapes to secure the flexible pipe to the duct transition.
NOTE: For ducted mode, we recommend extending the flue pipe through the roof to the external” roof cap” to vent the exhaust externally. We do not recommend venting into the ceiling cavity.
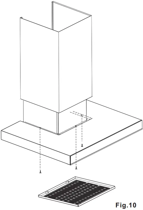
- Installation of telescopic flue covers (Fig.10) 1. Remove the metal grease filter. 2. Reassemble the flue cover onto the hood body and use supplied screws to fix it to the correct position.

- Electrical connection
• Electrical wiring must be done by a qualified person(s) in accordance with all applicable codes and standards. Turn off electrical power at the service entrance before wiring.
• If the power cord is damaged, it must be replaced by the manufacturer, its agent, or similarly qualified persons in order to avoid hazards.
• Do not use the plug and an extension cord other than the ones initially supplied with the hoods.
• The earthing of this hood is compulsory. Do not remove the ground prong of the plug.
USING THE RANGEHOOD

Fan — select speed to suit cooking conditions
— Fan on/off
— light frying/boiling
2 – frying/work cooking/heavy boiling
3 – grilling, intensive frying, and work cooking
— Self-clean
— Light
Self-clean instruction
This product is equipped with self-clean technology.
The self-clean function will be automatically triggered after the motor works for 15 hours.
Users also can tap the self-clean button to trigger the self-clean function.
The red indicator will start glowing during the cleaning process.
The time period for Self-clean is 10 to 15 minutes. The product can be used during self-clean.
Your Electrolux rangehood is now ready to use
MAINTENANCE AND CLEANING
CAUTION!
- Before maintenance or cleaning is carried out, the rangehood should be disconnected from the main power supply. Ensure that the rangehood is switched off at the wall socket and the plug removed if fitted.
- External surfaces are susceptible to scratches and abrasions, so please follow the cleaning instructions to ensure the best possible result is achieved without damage.
- These instructions must be followed to avoid fire risk.
Control panel surface
The control panel can be cleaned using warm soapy water. Ensure the cloth is well wrung before cleaning. Use a dry soft cloth to remove any excess moisture left after cleaning.
Metal grease filter
- Remove the grease filter by unscrewing 2 pcs screws. This will disengage the filter from the hood. Tilt the filter downward and remove it (Fig.11).
- Wash the filter. taking care not to bend them. Allow them to dry before refitting.
- To install the grease filter, push the filter into position and release it. Rescrew two screws. Make sure the filter is securely engaged after assembly.

Replacing lamps (Fig.12)
- Extract the guard by levering it off with a small screwdriver or similar tools.
- Replace the damaged LED, only use. LED DC12V,2W Max.

WARNING:
- Always switch off the electrical supply before carrying out any operation on the appliance.
- Only a qualified and trained service technician can undertake the work of bulb replacement and service.
NOTE: We recommend only using lamps of the same specification as the ones being replaced.
Changing the lamps
Lamps are long-life LED lamps and should not require service. If there is an issue with the lamp please contact the Service Center.
TROUBLESHOOTING
| Problem | Remedy |
| The cooker hood will not start | Check that the hood is connected to an electrical supply Check that a fan speed has been selected |
| The Rangehood is not working | Check that the fan speed is set high enough for the task The grease filters are clean The kitchen is adequately vented to allow the entry of fresh air If set up for recirculation, check that the charcoal filter is still effective If set up for extraction, check that the duct and outlets are not blocked Do not operate the cooktop without pots/pans Do not flambe under the cooktop |
| The range hood has switched off during the operation | If the hood has been installed below the heights indicated in the installation instructions the motor will cut out frequently which will damage the hood |
If you have completed all the above checks and are still experiencing difficulty, please contact your local Electrolux Service Centre.
Note: This product is fitted with a safety cutout device.
- If the rangehood is installed too close to the cooker top, flambe cooking, operating the cooktop without cooking utensils and blocked filters may activate the safety cutout device. If the hood stops during operation. coned the faults and allow time for the safety cutout device to reset. Then the rangehood will function correctly.
- Do not operate the cooktop without pots/pans
- Do not flambe under the cooktop
CONSUMER CARE CENTER
| Thailand Consumer Care Tel : (+66 2) 725 9000 Electrolux Thailand Co., Ltd. Electrolux Building 14th Floor 1910 New Phetchaburi Road, Bangkapi, Huai Khwang, Bangkok 10310 Office Tel : (+66 2) 7259100 Office Fax : (+66 2) 7259299 Email: [email protected] | Malaysia Consumer Care Center Tel: 1300-88-11-22 Electrolux Home Appliances Sdn. Bhd. Corporate Office Address: Unit T2-7, 7th Floor, Tower 2, PJ33, No. 3, Jalan Semangat, Seksyen 13,46200 Petaling Jaya, Selangor. Office Tel : (+60 3) 7843 5999 Office Fax : (+60 3) 7955 5511 Consumer Care Center Address: Lot C6, No. 28, Jalan 15/22, Taman Perindustrian Tiong Nam, 40200 Shah Alam, Selangor Consumer Care Center Fax : (+60 3) 5524 2521 Email: [email protected] |
| Singapore Consumer Care Center Tel: (+65) 6727 3699 Electrolux S.E.A. Pte Ltd. 351 Braddell Road #01-04, 351 On Braddell Singapore 579713 Email: [email protected] | Indonesia Hotline service: 08041119999 PT. Electrolux Indonesia Electrolux Building JI.Abdul Muis No.34, Petojo Selatan, Gambir Jakarta Pusat 10160 Email: [email protected] SMS & WA: 0812.8088.8863 |
| Vietnam Consumer Care Center Toll-Free 1800-58-88-99 Tel: (+84 28) 39105465 Electrolux Vietnam Ltd. Unit 1&2, 1OF Sofic Tower, #10 Mai Chi Tho Street, Thu Thiem Ward, Thu Duc City, Ho Chi Minh City, Vietnam | Philippines Consumer Care Center Toll-Free: 1-800-10-845-CARE(2273) Consumer Care Hotline:(+63 2)845-CARE(2273) Electrolux Philippines,lnc. Unit B 12F Cyber Sigma Bldg, Lawton Avenue, McKinley West, Taguig, Philippines 1634 Trunkline:+63 2 737-4757 Website: www.electrolux.com.ph Email: [email protected] |
| HONG KONG SERVICE HOTLINE: (+852) 3193 9888 DCH ELECTRICAL APPLIANCES SERVICE CENTRE 4/F, DCH BUILDING, 20 KAI CHEUNG ROAD, KOWLOON BAY, HONG KONG EMAIL: [email protected] WEBSITE: www.electrolux.com.hk | |
www.electrolux.com
The Thoughtful Design Innovator.
Do you remember the last time you opened a gift that made you say, “Oh! How did you know? That’s exactly what I wanted!” That’s the kind of feeling that we at Electrolux seek to evoke in everyone who chooses or uses one of our products. We devote time, knowledge, and a great deal of thought to anticipating and creating the kind of appliances that our customers really need and want.
This kind of thoughtful care means innovating with insight. Not design for design’s sake, but design for the user’s sake. For us, thoughtful design means making appliances easier to use and tasks more enjoyable to perform, freeing our customers to experience the ultimate 21st-century luxury: ease of mind. Our aim is to make this ease of mind more available to more people in more parts of their everyday lives, all over the world.
The “Thinking of you” promise from Electrolux goes beyond meeting the needs of today’s consumers. It also means we’re committed to making appliances safe for the environment—now and for future generations.
Electrolux. Thinking of you.
Share more of our thinking at www.electrolux.com
























