Neomounts AFLS-825WH1 Videobar and Multimedia Kit

DIMENSIONS

PARTS

ASSEMBLY
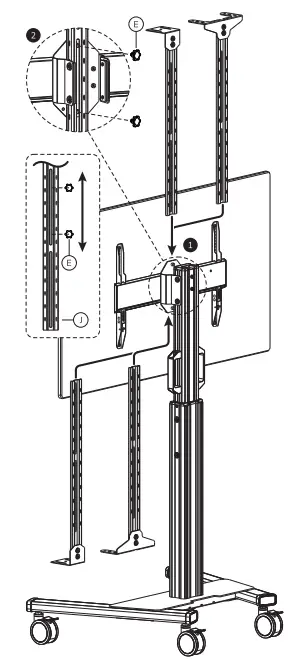
- STEP 1
Attach part G or H, depending on the type of video bar
- STEP 2
Install the combination above or below the screen
- STEP 3
Mount the videobar to the bracket
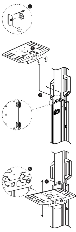
- STEP 4
Attach the shelf to the shelf holders
- STEP 5
Place the media box on the shell
CAUTION
- To ensure safety, please read this manual carefully before installation and follow the instructions. Store this manual in a secure place for future reference.
- Ihe manufacturer shall not be legally responsible for any equipment damage or personal injury caused by incorrect installation or operation other than that covered in this manual.
- The amount is designed for easy installation and removal. The manufacturer shall not De liable TOr damage to equipment or personal injuries arising out or human actors or acts or nature, such as earthquakes or typhoons.
- It is recommended that the mount be de-installed by qualified personnel only
- At least two persons are needed to install or remove the product to avoid hazard of talling objects.
- Please carefully inspect the area where the mount Is to be installed:
- Avoid places that are subject to high temperatures, humidity or contact with water.
- Do not install the product near air conditioning vents or areas with excess dust and fumes.
- Only install on vertical walls and avoid slanted surfaces.
- Do not install in places subject to any shock or vibration.
- Do not install in places subject to direct exposure to bright light, as it may cause eye fatigue when viewing the display panel.
- Maintain sufficient space around the display to ensure adequate ventilation.
- To ensure safe installation, first check the structure of the wall, ceiling or floor and select a secure mounting location.
- The wall, ceiling or floor should be strong enough to sustain a weight of at least four times of the display and mount combined. The mounting location must be able to withstand earthquake or other strong shocks.
- Do not modify any accessories or use broken parts. Contact your dealer with any questions.
- Tighten all screws (do not exert excessive force to avoid breaking the screw or damaging its thread).
- Drill holes and bolts will be left in the wall, ceiling or floor once the display and bracket are removed. Stains may occur after extended use.
- Since the manufacturer has no way to control the wall, ceiling or floor type and installation of the mount, the warranty of the product shall only cover the body of the mount. The warranty period of the product is 5 years.
- Please consult the English language manual for any dispute on conditions.























