Lowe s W11125095C 30 Inch and 36 Inch Gas Downdraft Cooktop

COOKTOP SAFETY
Your safety and the safety of others are very important.
We have provided many important safety messages in this manual and on your appliance. Always read and obey all safety messages.
This is the safety alert symbol.
This symbol alerts you to potential hazards that can kill or hurt you and others.
All safety messages will follow the safety alert symbol and either the word “DANGER” or “WARNING.”
These words mean:
You can be killed or seriously injured if you don’t immediately follow instructions.
You can be killed or seriously injured if you don’t follow instructions
All safety messages will tell you what the potential hazard is, tell you how to reduce the chance of injury, and tell you what can happen if the instructions are not followed.
IMPORTANT:
Installer: Leave installation instructions with the homeowner.
Homeowner: Keep installation instructions for future reference
WARNING: If the information in these instructions is not followed exactly, a fire or explosion may result causing property damage, personal injury or death.
WARNING: If the information in these instructions is not followed exactly, a fire or explosion may result causing property damage, personal injury or death.
- Do not store or use gasoline or other flammable vapors and liquids in the vicinity of this or any other appliance.
- WHAT TO DO IF YOU SMELL GAS:
- Do not try to light any appliance.
- Do not touch any electrical switch.
- Do not use any phone in your building.
- Immediately call your gas supplier from a neighbor’s phone. Follow the gas supplier’s instructions.
- If you cannot reach your gas supplier, call the fire department.
- Installation and service must be performed by a qualified installer, service agency or the gas supplier.
WARNING: Gas leaks cannot always be detected by smell.
Gas suppliers recommend that you use a gas detector approved by UL or CSA.
For more information, contact your gas supplier.
If a gas leak is detected, follow the “What to do if you smell gas” instructions.
IMPORTANT: Do not install a ventilation system that blows air downward toward this gas cooking appliance. This type of ventilation system may cause ignition and combustion problems with this gas cooking appliance resulting in personal injury or unintended operation.
In the State of Massachusetts, the following installation instructions apply:
- Installations and repairs must be performed by a qualified or licensed contractor, plumber, or gas fitter qualified or licensed by the State of Massachusetts.
- Acceptable Shut-off Devices: Gas Cocks and Ball Valves installed for use shall be listed.
- A flexible gas connector, when used, must not exceed 4 feet (121.9 cm)
INSTALLATION REQUIREMENTS
Tools and Parts
Gather the required tools and parts before starting installation.
Read and follow the instructions provided with any tools listed here.
Tools needed
■ Tape measure
■ Flat-blade screwdriver
■ Phillips head screwdriver
■ Drill
■ Level
■ 6″ (15.2 cm) socket extension
■ Marker or pencil
■ Plier
■ 1/4″ (6.4 mm) drill bit
■ Jigsaw
■ Ratchet with 3/8″ (9.5 mm) socket
■ Pipe-joint compound resistant to Propane gas
■ Non corrosive leak detection solution
■ 1/4″ (6.4 mm) nut driver
Parts supplied
■ Vent grill
■ Pre-filter
■ Propane conversion kit
■ Burner caps
■ Burner grates
■ Plenum
■ Plenum screw pack
■ Downdraft motor assembly
■ Clamping brackets (2)
■ Bracket attachment screws (2)
■ #10-16 x 3″ (7.62 cm) clamping screws
Parts needed
■ Metal ducting
■ Vent clamps
■ Wall cap
6″ (15.2 cm) Round Surface Wall Cap Damper Order Part Number A406
31 /4″ x 10″ (8.3 cm x 25.4 cm) Surface Wall Cap Damper Order Part Number A403
To order, see the “Assistance or Service” section of the Use and Care Guide.
Check local codes and consult gas supplier. Check existing gas supply and electrical supply. See the “Electrical Requirements” and “Gas Supply Requirements” sections.
It is recommended that all electrical connections be made by a licensed, qualified electrical installer.
Location Requirements
IMPORTANT: Observe all governing codes and ordinances. When installing cooktop, use minimum dimensions given.
■ It is the installer’s responsibility to comply with installation clearances specified on the model/serial/rating plate. The model/serial/rating plate is located on the bottom of the cooktop.
■ The cooktop should be installed in a location away from strong draft areas, such as windows, doors, and strong heating vents or fans.
■ All openings in the wall or floor where cooktop is to be installed must be sealed.
■ Cabinet opening dimensions that are shown must be used. Given dimensions are minimum clearances.
■ Grounded electrical supply is required. See the “Electrical Requirements” section. Proper gas supply connection must be available. See the “Gas Supply Requirements” section.
■ The cooktop is designed to hang from the countertop by its side or rear flanges.
■ The gas and electric supply should be located as shown in the “Cabinet Dimensions” section so that they are accessible without requiring removal of the cooktop.
■ Provide cutout in right rear corner of cabinet enclosure as shown to provide clearance for gas inlet and power supply cord.
■ If cabinet has drawers, drawers will need to be removed and drawer fronts installed on front of cabinet.
IMPORTANT: An undercounter built-in oven cannot be installed under this product.
IMPORTANT: To avoid damage to your cabinets, check with your builder or cabinet supplier to make sure that the materials used will not discolor, delaminate, or sustain other damage. This cooktop has been designed in accordance with the requirements of UL and CSA International and complies with the maximum allowable wood cabinet temperatures of 194°F (90°C).
Mobile Home – Additional Installation Requirements
The installation of this cooktop must conform to the Manufactured Home Construction and Safety Standard, Title 24 CFR, Part 3280 (formerly the Federal Standard for Mobile Home Construction and Safety, Title 24, HUD Part 280). When such standard is not applicable, use the Standard for Manufactured Home Installations, ANSI A225.1/NFPA 501A or local codes. In Canada, the installation of this cooktop must conform with the current standards CAN/CSA-A240-latest edition, or with local codes.
Product Dimensions
30″ (76.2 cm) Cooktop

A. 211 /2″ (54.6 cm)
B. 1931/32″ (50.7 cm)
C. Model/serial/rating plate location
36″ (91.4 cm) Cooktop
A. 211 /2″ (54.6 cm)
B. 1931/32″ (50.7 cm)
C. Model/serial/rating plate location
A. 30″ (76.2 cm)
B. 49 /64″ (10.5 cm)
C. 647/64″ (17.1 cm)
D. 185 /16″ (46.5 cm)
E. 111/16″ (4.3 cm) recommended minimum cabinet to motor clearance
F. 1429/64″ (36.7 cm)
G. 1223/32″ (32.3 cm)
H. 2825/64″ (72.1 cm)
A. 36″ (91.4 cm)
B. 49 /64″ (10.5 cm)
C. 713/64″ (18.3 cm)
D. 185 /16″ (46.5 cm)
E. 103 /8″ (26.4 cm) recommended minimum cabinet to motor clearance
F. 1429/64″ (36.7 cm)
G. 951/64″ (24.9 cm)
H. 3417/32″ (87.7 cm)
Cabinet Dimensions
IMPORTANT: If installing a range hood or microwave hood combination above the cooking surface, follow the range hood or microwave hood combination installation instructions for dimensional clearances above the cooktop surface.
A. 30″ (76.2 cm) on 30″ (76.2 cm) models 36″ (91.4 cm) on 36″ (91.4 cm) models
B. Combustible area above countertop (shown by dashed box above)
C. 30″ (76.2 cm) minimum clearance between top of cooktop platform and bottom of uncovered wood or metal cabinet (24″ [61.0 cm] minimum clearance if bottom of wood or metal cabinet is covered by not less than 1/4″ [6.4 mm] flame-retardant millboard covered with not less than No. 28 MSG sheet steel, 0.015″ [0.4 mm] stainless steel, 0.024″ [0.06 cm] aluminum, or 0.020″ [0.5 mm] copper)
D. 13″ (33.0 cm) recommended upper cabinet depth
E. 21 /8″ (5.4 cm)
F. 1915/16″ (50.6 cm)
G. 18″ (45.7 cm) minimum clearance from upper cabinet to countertop within minimum horizontal clearances to cooktop
H. Junction box or outlet: 12″ (30.5 cm) minimum from bottom of countertop
I. Junction box or outlet: 10″ (25.4 cm) from right-hand side of cabinet
J. 285 /8″ (72.7 cm) on 30″ (76.2 cm) models 343 /4″ (88.3 cm) on 36″ (91.4 cm) models
K. 6″ (15.2 cm) minimum distance to nearest left and right side combustible surface above cooktop
L. 2″ (5.1 cm) minimum clearance between back wall and countertop cutout
M. Gas line opening – Wall: anywhere 6″ (15.2 cm) below underside of countertop. Cabinet floor: anywhere within 6″ (15.2 cm) of rear wall is recommended.
N. 25″ (63.5 cm) depth of countertop
NOTE: After making the countertop cutout, some installations may require notching down the base cabinet side walls to clear the cooktop base. To avoid this modification, use a base cabinet with sidewalls wider than the cutout.
■ A minimum side clearance of 6″ (15.2 cm) is recommended between side of cooktop and side wall for maximum ventilation performance.
Cutout Dimensions

A. 285 /8″ (72.7 cm) maximum on 30″ (76.2 cm) models 343 /4″ (88.3 cm) maximum on 36″ (91.4 cm) models
B. 1915/16″ (50.6 cm) maximum on both 30″ (76.2 cm) and 36″ (91.4 cm) models
C. 77 /8″ (20.0 cm) on 30″ (76.2 cm) models 163 /16″ (41.1 cm) on 36″ (91.4 cm) models
D. 53 /4″ (14.6 cm) on both 30″ (76.2 cm) and 36″ (91.4 cm) models
E. 21 /8″ (5.4 cm) minimum space to front edge of cooktop
F. Floor exhaust option
G. 61 /8″ (15.6 cm) for 6″ (15.2 cm) vent system
H. 77 /8″ (20.0 cm) on 30″ (76.2 cm) models 163 /16″ (41.1 cm) on 36″ (91.4 cm) models
I. 1411/16″ (37.3 cm) on both 30″ (76.2 cm) and 36″ (91.4 cm) models
J. Wall exhaust option
Venting Requirements
IMPORTANT: This cooktop must be exhausted outdoors unless using the Duct-Free Filter Accessory Kit. See the “Venting Methods” section.
■ Do not terminate the vent system in an attic or other enclosed area.
■ Use a vent cap.
■ Vent system must terminate to the outside.
■ Use only a 6″ (15.2 cm) round metal vent. Rigid metal vent is recommended. For best performance, do not use plastic or metal foil vent.
■ Before making cutouts, make sure there is proper clearance within the wall or floor for the exhaust vent.
■ Do not cut a joist or stud unless absolutely necessary. If a joist or stud must be cut, then a supporting frame must be constructed.
■ The size of the vent should be uniform.
■ The vent system must have a damper.
■ Use vent clamps to seal all joints in the vent system.
■ Use caulking to seal exterior wall or roof opening around the cap.
■ Determine which venting method is best for your application
For Best Performance:
■ Use 26-gauge minimum galvanized or 25-gauge minimum aluminum metal vent. Poor quality pipe fittings can reduce airflow. Flexible metal vent is not recommended.
NOTE: Local codes may require a heavier gauge material.
■ Metal duct may be reduced to 30-gauge galvanized steel or 26-gauge aluminized steel if allowed by local codes.
This reduction is based on information in the International Residential Codes Section M1601.1 (2006 edition).
■ Do not install two elbows together.
■ Use no more than three 90° elbows.
■ If an elbow is used, install it as far away as possible from the vent motor exhaust opening.
■ Make sure there is a minimum of 18″ (45.7 cm) of straight vent between the elbows if more than 1 elbow is used.
■ Elbows too close together can cause excess turbulence that reduces airflow.
■ Do not use a 5″ (12.7 cm) elbow in a 6″ (15.2 cm).
■ Do not reduce to a 5″ (12.7 cm) system after using 6″ (15.2 cm).
■ Avoid forming handmade crimps. Handmade crimps may restrict airflow.
■ Use a vent cap for proper performance. If an alternate wall or roof cap is used, be certain the cap size is not reduced and that it has a backdraft damper.
■ Use vent clamps to seal all joints in the vent system.
■ Use caulking to seal exterior wall or roof opening around the cap.
The length of vent system and number of elbows should be kept to a minimum to provide efficient performance.
The maximum equivalent length of the vent system is 60 ft (18.3 m). For altitudes above 4,500 ft (1,272 m), reduce recommended vent run by 20% for best performance.
Cold Weather Installations
An additional backdraft damper should be installed to minimize backward cold airflow.
Makeup Air
Local building codes may require the use of makeup air systems when using ventilation systems greater than specified CFM of air movement. The specified CFM varies from locale to locale. Consult your HVAC professional for specific requirements in your area.
Venting Methods
Common venting methods are shown for a counter-mounted downdraft cooktop. The cooktop may be vented through the wall or floor.

A. 6″ (15.2 cm) round roof venting
B. Roof cap

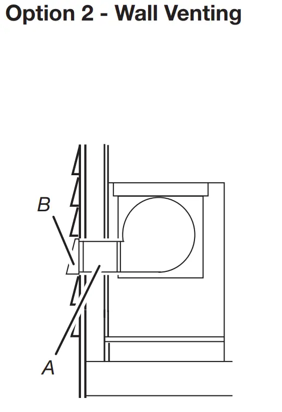
A. 6″ (15.2 cm) round wall venting
B. Wall cap
A. Wall cap
B. 6″ (15.2 cm) round wall venting
A. Wall cap
B. 6″ (15.2 cm) round wall venting
Concrete Slab Installations – Exhaust Through Wall
A. Wall cap
B. 6″ (15.2 cm) round metal vent
C. 16″ (40.6 cm) maximum
D. 6″ (15.2 cm) round PVC sewer pipe
E. 6″ (15.2 cm) round metal duct
F. 6″ (15.2 cm) round PVC coupling
G. Concrete slab
H. 6″ (15.2 cm) round PVC sewer pipe
I. 6″ (15.2 cm) round 90° PVC sewer pipe elbow
J. Tightly pack gravel or sand completely around pipe.
K. 30 ft (9.1 m) maximum
L. 6″ (15.2 cm) round 90° PVC sewer pipe elbow
M. 6″ (15.2 cm) round PVC coupling
N. 12″ (30.5 cm) minimum
Duct-Free Filter Accessory Kit
The Duct-Free Filter Accessory Kit, Part Number W10620783 is now available. Duct-Free Filter Accessory Kit is ideal for both new construction and kitchen renovation projects because it provides an easy alternative to the installation of metal ducting and venting in the downdraft system outside the home. The kit includes all required hardware, one filter, and complete installation instructions. Replacement Filter Part Number W10177003 is available.
Calculating Vent System Length
To calculate the length of the system you need, add the equivalent feet (meters) for each vent piece used in the system.
| Vent Piece | 6″ (15.2 cm) Round | |
| 45° elbow | 2.5 ft (0.8 m) | ![]() |
| 90° elbow | 5.0 ft (1.5 m) | ![]() |
| 6″ (15.2 cm) wall cap | 0.0 ft (0.0 m) | ![]() |
| 31 /4″ x 10″ (8.3 cm x 25.4 cm) to 6″ (15.2 cm) transition | 4.5 ft (1.4 m) | ![]() |
| 6″ (15.2 cm) to 31 /4″ x 10″ (8.3 cm x 25.4 cm) transition | 1 ft (0.3 m) | ![]() |
| 31 /4″ x 10″ (8.3 cm x 25.4 cm) to 6″ (15.2 cm) 90° elbow transition | 5.0 ft (1.5 m) | ![]() |
| 6″ (15.2 cm) to 31 /4″ x 10″ (8.3 cm x 25.4 cm) 90° elbow transition | 5.0 ft (1.5 m) | ![]() |
| 31 /4″ x 10″ (8.3 cm x 25.4 cm) 90° elbow | 5.0 ft (1.5 m) | ![]() |
| 31 /4″ x 10″ (8.3 cm x 25.4 cm) flat elbow | 12.0 ft (3.7 m) | ![]() |
| 31 /4″ x 10″ (8.3 cm x 25.4 cm) wall cap | 0.0 ft (0.0 m) | ![]() |
Example vent system

1- 90° elbow = 5 ft (1.5 m)
8 ft (2.4 m) straight = 8 ft (2.4 m)
![]()
NOTE: Flexible vent is not recommended.
Flexible vent creates back pressure and air turbulence that greatly reduce performance.
Electrical Requirements
IMPORTANT: The cooktop must be electrically grounded in accordance with local codes and ordinances, or in the absence of local codes, with the National Electrical Code, ANSI/NFPA 70 or Canadian Electrical Code, CSA C22.1.
This cooktop is equipped with an electronic ignition system that will not operate if plugged into an outlet that is not properly polarized.
If codes permit and a separate ground wire is used, it is recommended that a qualified electrical installer determine that the ground path is adequate. A copy of the above code standards can be obtained from:
National Fire Protection Association
1 Battery march Park
Quincy, MA 02169-7471
CSA International
8501 East Pleasant Valley Road
Cleveland, Ohio 44131-5575
■ A 120 V, 60 Hz, AC only, 15 A, fused electrical circuit is required. A time-delay fuse or circuit breaker is also recommended. It is recommended that a separate circuit serving only this cooktop be provided.
■ Electronic ignition systems operate within wide voltage limits, but proper grounding and polarity are necessary. Check that the outlet provides 120 V power and is correctly grounded.
■ The wiring diagrams are provided with this cooktop. See “Wiring Diagrams” on a separate sheet. The wiring diagrams are located on the underside of the cooktop base.
■ This gas cooktop is not required to be plugged into a GFCI- (Ground-Fault Circuit Interrupter) outlet or AFCI- (Arc Fault Circuit Interrupter) type circuit breaker. It is recommended that you not plug an electric spark ignition gas cooktop or any other major appliance into a GFCI wall outlet or an AFCI-type circuit breaker as it may cause these types of circuit breakers to trip during normal cycling.
■ Performance of this cooktop will not be affected if operated on a GFCI/AFCI-protected circuit. However, occasional nuisance tripping of the GFCI breaker is possible due to the normal operating nature of electronic gas cooktops.
Gas Supply Requirements
|
![]() |
Explosion Hazard Use a new CSA International approved gas supply line. Install a shut-off valve. |
Observe all governing codes and ordinances.
IMPORTANT: This installation must conform with all local codes and ordinances. In the absence of local codes, installation must conform with American National Standard, National Fuel Gas Code ANSI Z223.1 – latest edition or CAN/CGA B149 – latest edition.
IMPORTANT: Leak testing of the cooktop must be conducted according to the manufacturer’s instructions.
Type of Gas
Natural Gas:
This cooktop is factory set for use with Natural gas. If converting to Propane gas, see the “Propane Gas Conversion” instructions provided in the package containing literature. The model/serial/ rating plate located on bottom of the cooktop has information on the types of gas that can be used. If the types of gas listed do not include the type of gas available, check with the local gas supplier.
Propane Gas Conversion:
Conversion must be done by a qualified service technician.
No attempt shall be made to convert the cooktop from the gas specified on the model/serial/rating plate for use with a different gas without consulting the serving gas supplier. See the “Gas Conversion” instructions provided in the package containing
Gas Supply Line
Provide a gas supply line of 3/4″ (19 mm) rigid pipe to the cooktop location. A smaller size pipe on longer runs may result in insufficient gas supply. Pipe-joint compounds that resist the action of Propane gas must be used. Do not use TEFLON®† tape. With Propane gas, piping or tubing size should be 1/2″ (13 mm) minimum. Usually, Propane gas suppliers determine the size and materials used in the system.
Flexible metal appliance connector:
■ If local codes permit, use a 1/2″ (13 mm) or 3/4″ (19 mm) I.D.
flexible stainless steel tubing gas connector, designed by CSA to connect the cooktop to the rigid gas supply line.

■ A 1/2″ (13 mm) male pipe thread is needed for connection to the female pipe threads of the inlet to the cooktop pressure regulator.
■ Do not kink or damage the flexible metal tubing when moving the cooktop.
■ Must include a shut-off valve: Install a manual gas line shut-off valve in an easily accessible location. Do not block access to shut-off valve. The valve is for turning on or shutting off gas to the cooktop.
A. Gas supply line
B. Shut-off valve open position
C. To cooktop
Gas Pressure Regulator
The gas pressure regulator supplied with this cooktop must be used. The inlet pressure to the regulator should be as follows for proper operation:
Natural Gas:
Minimum pressure: 5″ (12.7 cm) WCP
Maximum pressure: 7″ to 14″ (17.8 cm to 35.5 cm) WCP
Propane Gas:
Minimum pressure: 10″ (25.4 cm) WCP
Maximum pressure: 14″ (35.5 cm) WCP
Contact local gas supplier if you are not sure about the inlet pressure.
Burner Input Requirements
Input ratings shown on the model/serial/rating plate are for elevations up to 2,000 ft (609.6 m).
For elevations above 2,000 ft (609.6 m), ratings should be reduced at a rate of 4% for each 1,000 ft (304.8 m) above sea level (not applicable for Canada).
Gas Supply Pressure Testing
Gas supply pressure for testing regulator must be at least 1″ (2.5 cm) water column pressure above the manifold pressure shown on the model/serial/rating plate.
Line pressure testing above 1/2 psi (3.5 kPa) gauge (14″ [35.5 cm] WCP)
The cooktop and its individual shut-off valve must be disconnected from the gas supply piping system during any pressure testing of that system at test pressures in excess of 1/2 psi (3.5 kPa).
Line pressure testing at 1/2 psi (3.5 kPa) gauge (14″ [35.5 cm] WCP) or lower
The cooktop must be isolated from the gas supply piping system by closing its individual manual shut-off valve during any pressure testing of the gas supply piping system at test pressures equal to or less than 1/2 psi (3.5 kPa).
INSTALLATION INSTRUCTIONS
Prepare Cooktop
Decide on the final location for the cooktop.
Excessive Weight Hazard Use two or more people to move and install cooktop. |
IMPORTANT: Do not cut top of product packaging. This may damage the product.
- Open product as instructed on product packaging.
- Remove all items from both sides of the foam and set aside. Take out packaging foam and set aside to lay cooktop on.
IMPORTANT: Do not place packaging foam on knobs. - Using 2 or more people, remove cooktop and place the cooktop upside down on the packaging foam, making sure the knobs are not laid on the foam.

- Remove plenum and plenum screw pack (in the literature bag).
- Remove downdraft motor assembly.
- Place plenum on bottom of cooktop with round opening to the motor wire harness.
NOTE: All holes are pre-drilled. If all 6 holes do not line up, reverse plenum.
A. Plenum
B. Cooktop
C. Motor wire harness - Using a 1/4″ (6.4 mm) nut driver, screw in the 6 screws from the literature pack to attach plenum.
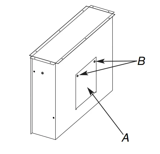
- Remove access panel from plenum using a 1/4″ (6.4 mm) nut driver and set aside.

A. Access panel
B. 2 screws - Remove four locking nuts and four washers from literature bag.
NOTE: Remove the four protective caps from the motor mounting posts. - Place blower motor on plenum.
A. Blower motor
B. Plenum - Install and finger-tighten the four washers and locking nuts that were removed through the opening of the motor access panel. Do not over-tighten to allow for motor to rotate.
- Connect blower electrical connector to cooktop.

- Using a 1/4″ (6.4 mm) nut driver, screw the electrical junction cover to the burner box with 2 screws.

- Remove the two screws located in each side of the cooktop burner box
Install Cooktop
Install the pressure regulator to cooktop before installing the cooktop into the cabinet. See the “Make Gas Connection” section.
Excessive Weight Hazard Use two or more people to move and install cooktop. Failure to do so can result in back or other injury |
- Install the pressure regulator with the arrow pointing up toward the bottom of the cooktop base and in a position where you can reach the regulator access cap.

A. Access cap
B. Rear of cooktop
C. Gas pressure regulator
D. Up arrow. Regulator must be installed with arrow pointing up to cooktop bottom.
IMPORTANT: All connections must be wrench-tightened. Do not make connections to the gas regulator too tight. Making the connections too tight may crack the regulator and cause a gas leak. Do not allow the regulator to turn on the pipe when tightening fittings.
Use only pipe-joint compound made for use with Natural and Propane gas.
Do not use TEFLON®† tape. You will need to determine the fittings required depending on your installation. - Attach the 2 hold-down brackets to the burner box.
- Using two or more people, lift the cooktop from packaging foam and install the cooktop into the countertop cutout by tilting 1 end of the cooktop into the cutout, then lowering the other end into the cutout.
NOTE: Make sure that the front edge of the cooktop is parallel to the front edge of the countertop. If repositioning is needed, lift entire cooktop up from cutout to avoid scratching the countertop. - Rotate motor to align with duct work and attach ducting.
- Fully tighten motor and, using a 1/4″ (6.4 mm) nut driver, reattach motor access cover with two screws. IMPORTANT: Verify that the motor access cover is fully tightened and back on the plenum.
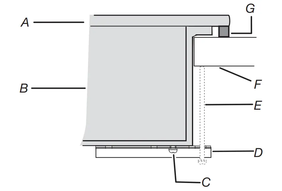
- Select bracket mounting holes that will allow the bracket to extend far enough out from the cooktop for the installation of #10-16 x 3″ (7.62 cm) clamping screws.

A. Cooktop
B. Cooktop base
C. Attachment screw
D. Clamping bracket (extends far enough beyond cooktop base to allow installation of clamping screws)
E. #10-16 x 3″ (7.62 cm) clamping screw (to be installed in “Attach Cooktop to Countertop”)
F. Countertop
G. Foam seal - Attach brackets to cooktop base bottom with bracket attachment screws using the bracket mounting holes selected in Step 6. Securely tighten screws.
- Install grease filter.

A. Plenum
B. Grease filter
NOTES:
■ The filter should always be placed at an angle. As you face the front of the cooktop, the top of the filter should rest against the right side of the vent opening.
■ The bottom of the filter should rest against the left side of the vent chamber at the bottom.
■ If the filter is flat against the fan wall, ventilation effectiveness will be reduced. - Install vent grille.
Make Gas Connection
|
![]() |
Explosion Hazard Use a new CSA International approved gas supply line. |
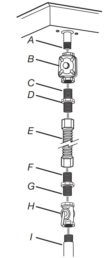
- Apply pipe-joint compound made for use with Natural and Propane gas to the smaller thread ends of the flexible connector adapters (see C and G in the following illustration).
- Attach one adapter to the gas pressure regulator and the other adapter to the gas shut-off valve. Tighten both adapters, being certain not to move or turn the gas pressure regulator.
- Use a 15/16″ (24 mm) combination wrench and channel lock pliers to attach the flexible connector to the adapters. Check that connector is not kinked.
Typical flexible connection

A. Manifold entrance
B. Gas pressure regulator
C. Use pipe-joint compound.
D. Adapter (must have 1/2″ (13 mm) male pipe thread)
E. Flexible connector
F. Adapter
G. Use pipe-joint compound.
H. Manual gas shut-off valve
I. 1/2″ (13 mm) or 3/4″ (19 mm) gas pipe
Complete Connection
- Open the manual shut-off valve in the gas supply line. The valve is open when the handle is parallel to the gas pipe.

A. Closed valve
B. Open valve - Test all connections by brushing on an approved noncorrosive leak-detection solution. If bubbles appear, a leak is indicated. Correct any leak found.
- Remove surface burner caps and grates from packaging.
Place burner caps on burner bases. Burner caps should be level when properly positioned. If burner caps are not properly positioned, surface burners will not light. Place burner grates over burners and caps.
30″ (76.2 cm) models
A. Small (AUX)
B. Extra large (Stack)
C. Large (UR)
D. Medium (SR)
36″ (91.4 cm) models
A. Small (AUX)
B. Medium (SR)
C. Large (UR)
D. Extra large (Stack)
E. Extra large (Stack)
WARNING
Electrical Shock Hazard
Plug into a grounded 3 prong outlet.
Do not remove ground prong.
Do not use an adapter.
Do not use an extension cord.
Failure to follow these instructions can result in death, fire, or electrical shock - Plug into a grounded 3 prong outlet.
NOTE: If the cooktop does not work after turning on the power, check that a circuit breaker has not tripped or a household fuse has not blown. See the “Troubleshooting” section in the Use and Care Guide for further information.
Attach Cooktop to Countertop
NOTE: This section applies only if you are using clamping brackets.

A. Cooktop
B. Cooktop base
C. Attachment screw
D. Clamping bracket (extends far enough beyond cooktop base to allow installation of clamping screws)
E. #10-16 x 3″ (7.62 cm) clamping screw
F. Countertop
G. Foam seal
- Place the #10-16 x 3″ (7.62 cm) clamping screws into the outermost hole in the clamping bracket.
- Check that the cooktop is still level.
- Use a screwdriver to tighten the screws against the countertop. Do not overtighten.
Electronic Ignition System
Initial Lighting and Gas Flame Adjustments
This cooktop is equipped for electronic auto-reignition by means of a spark igniter located at the rear of each burner. The burners are designed to light at any valve rotation that admits sufficient gas flow to support a flame and to automatically relight following a loss of flame due to a draft or other adverse condition. This feature is provided only as a convenience.
Check Operation of Surface Burners
Push in and turn the surface burners control knobs to light.
The surface burner flame should light within 4 seconds. The first time a surface burner is lit, it may take longer than 4 seconds to light because of air in the gas line.
Check the flame on High for a blue color. It should be clean and soft in character. No yellow tip, blowing or lifting of flame should occur. Occasional orange flashes are normal and reflect different elements in the air or gas.
After verifying the proper burner operation, turn the control knobs to OFF.
If burners do not light properly:
■ Turn surface burner control knob to OFF.
■ Check that the power supply cord is plugged in and the circuit breaker has not tripped or the fuse blown.
■ Check that the gas shut-off valves are set to the open position.
■ Check that burner caps are properly positioned on burner bases.
Recheck operation of surface burners. If a burner does not light at this point, contact your dealer or authorized service company for assistance.
Adjust Flame Height
Smart Port Burner System
This cooktop is equipped with a Smart Port Burner System. The Smart Port Burner System produces a small flame directly under each grate finger and a larger flame between each grate finger. The visual difference between the ports will be noticeable when the burner is used or when adjustments are made to the flame length.
Adjust the height of top burner flames. The cooktop Low burner flame should be a steady blue flame approximately 1/4″ (6.4 mm) high.
To adjust standard burners:
The flame can be adjusted using the adjustment screw in the center of the valve stem. The valve stem is located directly underneath the control knob.
If the low flame needs to be adjusted:
- Light one burner and turn to lowest setting.
- Remove the control knob.
- Hold the knob stem in the low position using a pair of pliers. Use an 1/8″ (3.0 mm) flat-blade screwdriver to turn the screw located in the center of the control knob stem until the flame is the proper size.

- Replace the control knob.
- Test the flame by turning the control from Low to High, checking the flame at each setting.
- Repeat above steps for each burner.
Complete Installation
- Check that all parts are now installed. If there is an extra part, go back through the steps to see which step was skipped.
- Check that you have all your tools.
- Dispose of/recycle all packaging materials.
- Use a mild solution of liquid household cleaner and warm water to clean cooktop before use. Dry thoroughly with a soft cloth. For more information, see the “Cooktop Care” section of the Use and Care Guide.
- Read the “Cooktop Use” section in the cooktop Use and Care Guide.
- Reconnect power.
If you need Assistance or Service:
Please reference the “Warranty” section of the Use and Care Guide.
©2021 All rights reserved. Used under license in Canada.














A. Blower motor






A. Small (AUX)



















