W11468901B 36 Inches Stainless Steel Gas Cooktop
Owner’s Manual
IMPORTANT:
Installer: Leave installation instructions with the homeowner.
Homeowner: Keep installation instructions for future reference.
COOKTOP SAFETY
Your safety and the safety of others are very important.
We have provided many important safety messages in this manual and on your appliance. Always read and obey all safety messages.
This is the safety alert symbol.
This symbol alerts you to potential hazards that can kill or hurt you and others.
All safety messages will follow the safety alert symbol and either the word “DANGER” or “WARNING.” These words mean:
You can be killed or seriously injured if you don’t immediately follow instructions.
You can be killed or seriously injured if you don’t follow instructions.
All safety messages will tell you what the potential hazard is, tell you how to reduce the chance of injury, and tell you what can happen if the instructions are not followed.
WARNING: If the information in these instructions is not followed exactly, a fire or explosion may result causing property damage, personal injury or death.
- Do not store gasoline or other flammable vapors and liquids in the vicinity of this or any other appliance.
- WHAT TO DO IF YOU SMELL GAS
• Do not try to light any appliance.
• Do not touch any electrical switch.
• Do not use any phone in your building.
• Immediately call your gas supplier from a neighbor’s phone. Follow the gas suppliers instructions.
• If you cannot reach your gas supplier, call the fire department. - Installation and service must be performed by a qualified installer, service agency or the gas supplier.
WARNING:
Never Operate the Top Surface Cooking Section of this Appliance Unattended
- Failure to follow this warning statement could result in fire, explosion, or burn hazard that could cause property damage, personal injury, or death.
- If a fire should occur, keep away from the appliance and immediately call your fire department.
DO NOT ATTEMPT TO EXTINGUISH AN OIL/GREASE FIRE WITH WATER.
WARNING: Gas leaks cannot always be detected by smell.
Gas suppliers recommend that you use a gas detector approved by UL or CSA.
For more information, contact your gas supplier.
If a gas leak is detected, follow the “What to do if you smell gas” instructions.
IMPORTANT: Do not install a ventilation system that blows air downward toward this gas cooking appliance. This type of ventilation system may cause ignition and combustion problems with this gas cooking appliance resulting in personal injury or unintended operation.
In the State of Massachusetts, the following installation instructions apply:
- Installation and repairs must be performed by a qualified or licensed contractor, plumber, or gas fitter qualified or licensed by the State of Massachusetts.
- Acceptable Shut-off Devices: Gas Cocks and Ball Valves installed for use shall be listed.
- A flexible gas connector, when used, must not exceed 4 feet (121.9 cm).
IMPORTANT SAFETY INSTRUCTIONS
WARNING: To reduce the risk of fire, electrical shock, injury to persons, or damage when using the cooktop, follow basic precautions, including the following:
WARNING
NEVER use this appliance as a space heater to heat or warm the room. Doing so may result in carbon monoxide poisoning and overheating of the cooktop.
- CAUTION: Do not store items of interest to children in cabinets above the cooktop – children climbing on the cooktop to reach items could be seriously injured.
- Do Not Leave Children Alone – Children should not be left alone or unattended in area where appliance is in use. They should never be allowed to sit or stand on any part of the appliance.
- Wear Proper Apparel – Loose-fitting or hanging garments should never be worn while using the appliance.
- User Servicing – Do not repair or replace any part of the appliance unless specifically recommended in the manual. All other servicing should be referred to a qualified technician.
- Storage in or on Appliance – Flammable materials should not be stored in an oven or near surface units.
- Do Not Use Water on Grease Fires – Smother fire or flame or use dry chemical or foam-type extinguisher.
- Use Only Dry Potholders – Moist or damp potholders on hot surfaces may result in burns from steam. Do not let potholder touch hot surface units. Do not use a towel or other bulky cloth.
- Never Leave Surface Units Unattended at High Heat Settings – Boilover causes smoking and greasy spillovers that may ignite.
- Glazed Cooking Utensils – Only certain types of glass, glass/ceramic, ceramic, earthenware, or other glazed utensils are suitable for range-top service without breaking due to the sudden change in temperature.
- Utensil Handles Should Be Turned Inward and Not Extend Over Adjacent Surface Units – To reduce the risk of burns, ignition of flammable materials, and spillage due to unintentional contact with the utensil, the handle of a utensil should be positioned so that it is turned inward, and does not extend over adjacent surface units.
- Do not use replacement parts that have not been recommended by the manufacturer (e.g. parts made at home using a 3D printer).
- Clean Cooktop With Caution – If a wet sponge or cloth is used to wipe spills on a hot cooking area, be careful to avoid steam burn. Some cleaners can produce noxious fumes if applied to a hot surface.
- Do Not Heat Unopened Food Containers – Build-up of pressure may cause container to burst and result in injury.
- Proper Installation – The appliance, when installed, must be electrically grounded in accordance with local codes, or in the absence of local codes, with the National Electrical Code, ANSI/NFPA 70 or the Canadian Electrical Code, CSA C22.1-02. In Canada, the appliance must be electrically grounded in accordance with Canadian
Electrical Code. Be sure your appliance is properly installed and grounded by a qualified technician. - This cooktop is equipped with a three-prong grounding plug for your protection against shock hazard and should be plugged directly into a properly grounded receptacle.
Do not cut or remove the grounding prong from this plug. - Disconnect the electrical supply before servicing the cooktop.
- Injuries may result from the misuse of the cooktop such as stepping, leaning, or sitting on the top surface.
- Maintenance – Keep cooktop area clear and free from combustible materials, gasoline, and other flammable vapors and liquids.
- Top burner flame size should be adjusted so it does not extend beyond the edge of the cooking utensil. For units with ventilating hood –
- Clean Ventilating Hoods Frequently – Grease should not be allowed to accumulate on hood or filter.
- When flaming foods under the hood, turn the fan on. For smart enabled ranges and ovens
- Remote operation – This appliance is configurable to allow remote operation at any time. Do not store any flammable materials or temperature sensitive items inside, on top or near surface units of the appliance.
SAVE THESE INSTRUCTIONS
COOKTOP MAINTENANCE AND CARE
General Cleaning
IMPORTANT: Before cleaning, make sure all controls are off and the cooktop is cool. Always follow label instructions on cleaning products.
Soap, water, and a soft cloth or sponge are suggested first, unless otherwise noted. Food spills containing acids, such as vinegar and tomato, should be cleaned as soon the cooktop is cool. These spills may affect the finish.
| Surface Type | Cleaning Recommendation |
| Control Knobs | The knobs should be cleaned with soap and water. Do not clean knobs in the dishwasher or use abrasive cleaners or steel wool. To remove the knobs, be sure the knobs are in the OFF position. Do not remove the seals under the knobs. |
| Burner Grates | Soap and Water: Use a nonabrasive plastic scrubbing pad and mildly abrasive cleanser, soap, and water. Dishwasher: The grates may be cleaned in the dishwasher. Remove any burnt-on food prior to placing the grates in the lowest rack in the dishwasher. To avoid chipping, do not bang grates against each other or hard surfaces, such as cast iron cookware. Although the grates are durable, they will gradually lose their shine due to exposure to high temperatures. |
| Burner Caps | Use a nonabrasive plastic scrubbing pad and mildly abrasive cleanser, soap, and water. Do not place caps in the dishwasher or reassemble caps on burners when wet. |
| Burner Base | The holes in the burner bases must be kept clean for proper ignition and a complete, even flame. Refer to “Cleaning the Burners: Tips.” |
| Stainless Steel Cooktop Surface | For best results, use a soft cloth or non-scratch sponge. Rub in direction of the grain to avoid damaging the surface. Use all-purpose cleaner, such as affresh® † Kitchen and Appliance Cleaner, Part Number W10355010. For stainless steel finishes, use affresh® Stainless Steel Cleaner, Part Number W10355016. Do not use scouring pads, abrasive cleaners, cooktop cleaner, steel wool pads, gritty washcloths, or abrasive paper towels. To order affresh® cleaners, refer to the Quick Start Guide for ordering information. |
| Porcelain Enamel Cooktop Surface (on some models) | Use a nonabrasive scrubbing pad and glass cleanser or a mild liquid cleaner, such as affresh® Kitchen and Appliance Cleaner, Part Number W10355010. |
| Griddle (on some models) | Use soap and water or mild detergent. To avoid damaging the nonstick surface, do not clean the griddle in the dishwasher or use abrasive cleaners. |
Cleaning the Burner: Tips
The burners should be kept clean. Spillovers should be cleaned immediately since they can clog the openings in the burners.
IMPORTANT: Before cleaning, make sure all controls are OFF and the cooktop is cool. For more information, see the “General Cleaning” section.
- Remove the burner cap from the base. Clean the burner cap with hot soapy water, and then rinse it.
- Remove the burner base and clean the gas tube opening under the base.
- Clean clogged burner ports with a straight pin, needle, or small-gauge wire as shown. Do not use a wooden toothpick or clean in the dishwasher.

- Gently clean the igniter with a damp cloth.
INSTALLATION INSTRUCTIONS REQUIREMENTS
Tools and Parts
Tools Needed
| • Tape measure • Flat-blade screwdriver • Phillips screwdriver • 15/16″ (24 mm) combination wrench • Pipe wrench | • Wrench or pliers • Marker or pencil • Pipe-joint compound resistant to Propane gas • Noncorrosive leak-detection solution |
Parts Supplied
| • Gas pressure regulator • Burner grates • Burner caps | • Burner base • Clamping brackets (2) • Bracket attachment screws (2) |
Parts needed
Check local codes and consult gas supplier. Check existing gas supply and electrical supply. See “Electrical Requirements” and “Gas Supply Requirements” sections.
NOTE: Be sure to purchase only Whirlpool factory-certified parts and accessories for your appliance. Your installation may require additional parts. To order, refer to the contact information referenced in your Quick Start Guide.
Location Requirements
IMPORTANT: Observe all governing codes and ordinances. Do not obstruct flow of combustion and ventilation air.
- It is the installer’s responsibility to comply with installation clearances specified on the model/serial/rating plate. The model/serial/rating plate is located on the underside of the cooktop base.

- The cooktop must be a specified cooktop that is approved to be installed either alone or over an undercounter built-in oven. Check the cooktop base approved installation label for your cooktop model number and approved combinations of cooktops and ovens that can be installed. If you do not find this label, your cooktop may not be approved for use over an undercounter built-in oven. Contact your dealer to confirm that your cooktop is approved.
- Ovens approved for this type of installation will have an approval label located on the top of the oven. If you do not find this label, contact your dealer to confirm that your oven is approved. Refer to oven manufacturer’s Installation Instructions for approval for built-in undercounter use and proper cutout dimensions.
- The cooktop should be installed in a location away from strong draft areas, such as windows, doors and strong heating vents or fans.
- All openings in the wall or floor where cooktop is to be installed must be sealed.
- Cabinet opening dimensions that are shown must be used. Given dimensions are minimum clearances.
- Grounded electrical supply is required. See “Electrical Requirements” section. Proper gas supply connection must be available. See “Gas Supply Requirements” section.
- The cooktop is designed to hang from the countertop by its side or rear flanges.
- The gas and electric supply should be located as shown in “Cabinet Dimensions” section so that they are accessible without requiring removal of the cooktop.
- Provide cutout in right rear corner of cutout enclosure as shown to provide clearance for gas inlet, power supply cord, and to allow the rating label to be visible.
IMPORTANT: To avoid damage, check with your builder or cabinet supplier to make sure that the materials used will not discolor, delaminate or sustain other damage.
Mobile Home – Additional Installation Requirements
The installation of this cooktop must conform to the Manufactured Home Construction and Safety Standard, Title 24 CFR, Part 3280 (formerly the Federal Standard for Mobile Home Construction and Safety, Title 24, HUD Part 280). When such standard is not applicable, use the Standard for Manufactured Home Installations, ANSI A225.1/NFPA 501A or local codes. In Canada, the installation of this range must conform with the current standards CAN/CSA-Z240.1, latest edition, or with local codes.
Cabinet Clearances

A. 13″ (33.0 cm) recommended upper cabinet depth.
B. 30″ (76.2 cm) for 30″ models; 36″ (91.4 cm) for 36″ models.
C. 18″ (45.7 cm) minimum clearance from upper cabinet to countertop within minimum horizontal clearances to cooktop.
D. 30″ (76.2 cm) minimum clearance between top of cooktop platform and bottom of uncovered wood or metal cabinet. 24″ [61 cm] minimum clearance if bottom of wood or metal cabinet is covered by not less than 1/4″ [0.6 cm] flame retardant millboard covered with not less than No. 28 MSG sheet steel, 0.015″ [0.04 cm] stainless steel, or 0.024″ [0.06 cm] aluminum or 0.020″ [0.05 cm] copper.
E. Gas line opening – Wall: anywhere 5″ (12.7 cm) below underside of countertop.
Cabinet floor: anywhere within 6″ (15.2 cm) of rear wall is recommended.
Cutout Dimensions – Top View

Cutout (Product Opening) Dimensions | ||||||
30″ (76.2 cm) Models | ||||||
| Models | A | B | ||||
| Minimum | Recommended | Maximum | Minimum | Recommended | Maximum | |
| KCGS550 and | 281⁄2″ (72.4 cm) | 287⁄8″ (73.4 cm) | 295⁄16″ (74.3 cm) | 191⁄2″ (49.5 cm) | 1913⁄16″ (50.2 cm) | 20″ |
| KCGS950 | (50.8 cm) | |||||
| All Other 30″ | 281⁄2″ (72.4 cm) | 287⁄8″ (73.4 cm) | 295⁄16″ (74.3 cm) | 19″ (48.3 cm) | 191⁄2″ (49.5 cm) | 20″ |
| (76.2 cm) | (50.8 cm) | |||||
| Models | ||||||
| 36″ (91.4 cm) Models | ||||||
| KCGS556 and | 347⁄8″ (88.4 cm) | 353⁄16″ (89.4 cm) | 355⁄8″ (90.3 cm) | 191⁄2″ (49.5 cm) | 1913⁄16″ (50.2 cm) | 20″ |
| KCGS956 | (50.8 cm) | |||||
| All Other 36″ | 337⁄8″ (86.0 cm) | 345⁄16″ (87.0 cm) | 351⁄4″ (89.5 cm) | 19″ (48.3 cm) | 191⁄2″ (49.5 cm) | 20″ |
| (91.4 cm) | (50.8 cm) | |||||
| Models | ||||||
| Side Walls (Combustible Surfaces) | |
| Models | H and I |
| KCGS5 and KCGS9 | H and I added together must be at least 48″ (122.0 cm), with each side individually being at least 8″ (20.3 cm). |
| KCGS350, KCGS356, MGC9536, WCG97US0, WCG97US6 | H and I added together must be at least 48″ (122.0 cm), with each side individually being at least 12″ (30.5 cm). |
| All Other Models | Both have to be 8″ (20.3 cm) or more. |
| Back Wall and Countertop Front Dimensions | |||
| Models | C | D | E |
| KCGS550 and KCGS950 | 25″ (63.5 cm) | 27/8″ (7.3 cm) | 23/4″ (6.9 cm) |
| All Other Models | 31/8″ (7.9 cm) | ||
NOTE: After making the countertop cutout, some installations may require notching down the base cabinet side walls to clear the cooktop base. To avoid this modification, use a base cabinet with sidewalls wider than the cutout.
If cabinet has a drawer, a 4″ (10.2 cm) depth clearance from the countertop to the top of the drawer (or other obstruction) in base cabinet is required. The drawer depth may need to be shortened to avoid interfering with the regulator.
IMPORTANT: If a built-in wall oven is to be installed below this cooktop, the grounded outlet and gas supply piping must be located in an adjacent cabinet. If installing a range hood or microwave hood combination above the cooking surface, follow the range hood or microwave hood combination installation instructions for dimensional clearances above the cooktop surface.
This cooktop and its gas and electrical supply sources must be installed before the undercounter built-in wall oven is installed.
Electrical Requirements
WARNING
Electrical Shock Hazard
Plug into a grounded 3 prong outlet.
Do not remove ground prong.
Do not use an adapter.
Do not use an extension cord.
Failure to follow these instructions can result in death, fire, or electrical shock.
IMPORTANT: The cooktop must be electrically grounded in accordance with local codes and ordinances, or in the absence of local codes, with the National Electrical Code, ANSI/NFPA 70 or Canadian Electrical Code, CSA C22.1.
This cooktop is equipped with an electronic ignition system that will not operate if plugged into an outlet that is not properly polarized.
If codes permit and a separate ground wire is used, it is recommended that a qualified electrical installer determine that the ground path is adequate.
A copy of the above code standards can be obtained from:
National Fire Protection Association
1 Batterymarch Park
Quincy, MA 02169-7471
CSA International
8501 East Pleasant Valley Road
Cleveland, OH 44131-5575
- A 120 V, 60 Hz, AC only, 15 A, fused electrical circuit is required. A time-delay fuse or circuit breaker is also recommended. It is recommended that a separate circuit serving only this cooktop be provided.
- Electronic ignition systems operate within wide voltage limits, but proper grounding and polarity are necessary. Check that the outlet provides 120 V power and is correctly grounded.
- The wiring diagrams are provided with this cooktop. See the “Wiring Diagrams”.
Gas Supply Requirements
WARNING
Explosion Hazard
Use a new CSA International approved gas supply line.
Install a shut-off valve.
Securely tighten all gas connections.
If connected to propane, have a qualified person make sure gas pressure does not exceed 14ʺ (36 cm) water column.
Examples of a qualified person include: licensed heating personnel, authorized gas company personnel, and authorized service personnel.
Failure to do so can result in death, explosion, or fire.
Observe all governing codes and ordinances.
IMPORTANT: This installation must conform with all local codes and ordinances. In the absence of local codes, installation must conform with the National Fuel Gas Code, ANSI Z223.1/NFPA 54 or, in Canada, the Natural Gas and Propane Installation Code, CSA B149.1 – latest edition.
IMPORTANT: Leak testing of the cooktop must be conducted according to the manufacturer’s instructions.
Type of Gas
Natural Gas:
This cooktop is factory set for use with Natural gas. If converting to Propane gas, see the following “Propane Gas Conversion” section. The model/serial rating plate located on the underside of the cooktop base has information on the types of gas that can be used. If the types of gas listed do not include the type of gas available, check with the local gas supplier.
Propane Gas Conversion:
Conversion must be done by a qualified service technician.
No attempt shall be made to convert the cooktop from the gas specified on the model/serial/rating plate for use with a different gas without consulting the serving gas supplier. See the Gas Conversion instructions provided in the package containing literature.
Gas Supply Line
- Provide a gas supply line of 3/4″ (19 mm) rigid pipe to the cooktop location. A smaller size pipe on longer runs may result in insufficient gas supply. Pipe-joint compounds that resist the action of Propane gas must be used. Do not use TEFLON® † tape. With Propane gas, piping or tubing size should be 1/2″ (13 mm) minimum. Usually, Propane gas suppliers determine the size and materials used in the system.
Flexible Metal Appliance Connector:
- If local codes permit, use a 1/2″ (13 mm) or 3/4″ (19 mm) I.D. flexible stainless steel tubing gas connector, designed by CSA to connect the cooktop to the rigid gas supply line.

- A 1/2″ (13 mm) male pipe thread is needed for connection to the female pipe threads of the inlet to the cooktop pressure regulator.
- Do not kink or damage the flexible metal tubing when moving the cooktop.
- Must include a shut-off valve:
Install a manual gas line shut-off valve in an easily accessible location. Do not block access to shut-off valve. The valve is for turning on or shutting off gas to the cooktop.

Gas Pressure Regulator
The gas pressure regulator supplied with this cooktop must be used. The inlet pressure to the regulator should be as follows for proper operation:
Natural Gas:
Minimum pressure: 5″ (12.7 cm) WCP
Maximum pressure: 7″ to 14″ (17.8 cm to 35.5 cm) WCP
Propane Gas:
Minimum pressure: 10″ (25.4 cm) WCP
Maximum pressure: 14″ (35.5 cm) WCP
Contact local gas supplier if you are not sure about the inlet pressure.
Burner Input Requirements
Input ratings shown on the model/serial/rating plate are for elevations up to 2,000 ft (609.6 m).
For elevations above 2,000 ft (609.6 m), ratings should be reduced at a rate of 4% for each 1,000 ft (304.8 m) above sea level (not applicable for Canada).
Gas Supply Pressure Testing
Gas supply pressure for testing regulator must be at least 1″ (2.5 cm) water column pressure above the manifold pressure shown on the model/serial rating plate.
Line pressure testing above 1/2 psi (3.5 kPa) gauge 14″ (35.5 cm) WCP
The cooktop and its individual shutoff valve must be disconnected from the gas supply piping system during any pressure testing of that system at test pressures in excess of 1/2 psi (3.5 kPa).
Line pressure testing at 1/2 psi (3.5 kPa) gauge 14″ (35.5 cm) WCP or lower
The cooktop must be isolated from the gas supply piping system by closing its individual manual shut-off valve during any pressure testing of the gas supply piping system at test pressures equal to or less than 1/2 psi (3.5 kPa).
INSTALLATION
Install Cooktop
WARNING
Excessive Weight Hazard
Use two or more people to move and install or uninstall appliance.
Failure to do so can result in back or other injury.
Decide on the final location for the cooktop. Avoid drilling into or severing existing wiring during installation.
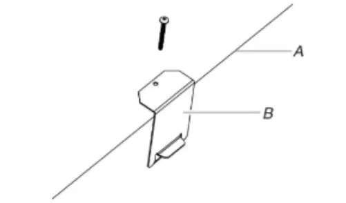
- Determine whether your cabinet construction provides clearance for installing clamping brackets at cooktop base ends. This is the recommended location. Clamping brackets can be installed on the front and back of cooktop base bottom, if necessary.
A. Attachment screw holes for optional front and back location
B. Cooktop base bottom
C. Attachment screw
D. Clamping bracket (end locations recommended) - Using 2 or more people, place cooktop right side up into the cutout.
NOTE: Make sure that the front edge of the cooktop is parallel to the front edge of the countertop. If repositioning is needed, lift entire cooktop up from cutout to avoid scratching the countertop. - Remove the attachment screws for the selected bracket locations from the bottom of the cooktop base.
A. Attachment screw holes for optional front and back location
B. Cooktop base bottom - Attach brackets to cooktop base bottom with bracket attachment screws. Securely tighten screws.
A. Cooktop
B. Cooktop base
C. 2″ (5.1 cm) bracket attachment screw
D. Clamping bracket (extends far enough beyond cooktop base to allow installation of clamping screws)
E. Countertop
Make Gas Connection
WARNING
Explosion Hazard
Use a new CSA International approved gas supply line.
Install a shut-off valve.
Securely tighten all gas connections.
If connected to propane, have a qualified person make sure gas pressure does not exceed 14ʺ (36 cm) water column.
Examples of a qualified person include: licensed heating personnel, authorized gas company personnel, and authorized service personnel.
Failure to do so can result in death, explosion, or fire.
Typical flexible connection
- Apply pipe-joint compound made for use with Natural and propane gas to the smaller thread ends of the flexible connector adapters (see C and G in the following illustration).
- Attach one adapter to the gas pressure regulator and the other adapter to the gas shutoff valve. Tighten both adapters.
- Use a 15/16″ (2.4 cm) combination wrench and channel lock pliers to attach the flexible connector to the adapters. Check that connector is not kinked.
IMPORTANT: All connections must be wrench-tightened. Do not make connections to the gas regulator too tight. Making the connections too tight may crack the regulator and cause a gas leak. Do not allow the regulator to turn when tightening fittings.
| A. Manifold entrance B. Gas pressure regulator C. Use pipe-joint compound. D. Adapter (must have 1/2″ (1.3 cm) male pipe thread) E. Flexible connector F. Adapter G. Use pipe-joint compound. H. Manual gas shutoff valve I. 1/2″ (1.3 cm) or 3/4″ (1.9 cm) gas pipe | A. Manifold entrance B. 3/4″ (1.9 cm) elbow C. Use pipe-joint compound. D. Adapter (must have 3/8″ (9.5 mm) male pipe thread) E. Flexible connector (pass through wall between cabinets) F. Adapter (must have 3/8″ (9.5 mm) male pipe thread) G. Use pipe-joint compound. H. Appliance pressure regulator (supplied) I. 1/2″ (1.3 cm) or 3/4″ (1.9 cm) gas pipe J. Manual gas shutoff valve K. 1/2″ (1.3 cm) or 3/4″ (1.9 cm) gas pipe |

A. Access cap
B. Rear of cooktop
C. Gas pressure regulator
D. Up arrow. Regulator must be installed with arrow pointing up to cooktop bottom
Use only pipe-joint compound made for use with Natural and propane gas.
Do not use TEFLON® tape. You will need to determine the fittings required depending on your installation.
Complete Connection
- Open the manual shutoff valve in the gas supply line. The valve is open when the handle is parallel to the gas pipe.

- Test all connections by brushing on an approved noncorrosive leak-detection solution. Bubbles will show a leak. Correct any leak found.
- Remove surface burner caps, burner base and grates from parts package. Align notches in burner caps with pins in burner base.
Align orifice holder in burner base with igniter electrode.
Burner caps should be level when properly positioned. If burner caps are not properly positioned, surface burners will not light. Place burner grates over burners and caps.
A. Orifice holder
B. Burner cap
C. Gas tube opening
D. Burner base
E. Igniter electrode - Plug into a grounded 3 prong outlet.
WARNING
Electrical Shock Hazard
Plug into a grounded 3 or 4 prong outlet.
Do not remove ground prong.
Do not use an adapter.
Do not use an extension cord.
Failure to follow these instructions can result in death, fire, or electrical shock.
Complete Installation
Electronic Ignition System
Initial lighting and gas flame adjustments
Surface burners use electronic igniters in place of standing pilots.
When the cooktop control knob is turned to the “IGNITE” position, the system creates a spark to light the burner. This sparking continues, as long as the control knob is turned to “IGNITE”.
Check Operation of Surface Burners
Push in and turn the surface burners control knobs to light.
The surface burner flame should light within 4 seconds. The first time a surface burner is lit, it may take longer that 4 seconds to light because of air in the gas line.
Check the flame on “HIGH” for a blue color. It should be clean and soft in character. No yellow tip, blowing or lifting of flame should occur. Occasional orange flashes are normal and reflect different elements in the air or gas.
After verifying the proper burner operation, turn the control knobs to “OFF.”
If burners do not light properly:
- Turn surface burner control knob to the “OFF” position.
- Check that the power supply cord is plugged in and the circuit breaker has not tripped or the fuse blown.
- Check that the gas shutoff valve is set to the “open” position.
- Check that burner caps are properly positioned on burner bases.
Recheck operation of surface burners. If a burner does not light at this point, contact your dealer or authorized service company for assistance.
Check Flame Height
Adjust the height of surface burner flames.
The surface burner low flame should be a steady blue flame approximately 1/4″ (6.4 mm) high.
Adjustment for Single Valve:
- Set the burner flame to LO.
- Remove the control knob.
- Hold knob stem with a pair of pliers. Use a 3/32″ (#0 [2 mm]) flat-blade screwdriver to turn the screw located within the shaft of the control knob stem until the flame is the proper size.
Turn adjustment screw “C” to the right to reduce flame height, turn adjustment screw to the left to increase flame height.
A. 3/32″ (#0 [2.0 mm]) flat-blade screwdriver (screwdriver shaft must be a minimum of 2″ [5.1 cm] long)
B. Control knob stem opening
C. Adjustment screw location - Replace the control knob.
- Test the flame by turning the control from LO to HI, checking the flame at each setting.
IMPORTANT: Dual valve adjustments must be performed by a qualified installer or service agency.
Power failure
In case of prolonged power failure, the surface burners can be lit manually. Hold a lit match near a burner and turn knob counterclockwise to IGNITE/Lite/ . After burner lights, turn knob to setting. Do not use a grill or griddle accessory during a power failure as the vent fan will not operate.
®/™ ©2020 All rights reserved. Used under license in Canada.


A. Attachment screw holes for optional front and back location
A. Attachment screw holes for optional front and back location
A. Cooktop


A. 3/32″ (#0 [2.0 mm]) flat-blade screwdriver (screwdriver shaft must be a minimum of 2″ [5.1 cm] long)
















