KitchenAid UVL6048JSS 48 Inch Under Cabinet Custom Hood Liner Owner’s Manual
RANGE HOOD SAFETY
Your safety and the safety of others are very important.
We have provided many important safety messages in this manual and on your appliance. Always read and obey all safety messages.
This is the safety alert symbol.
This symbol alerts you to potential hazards that can kill or hurt you and others. All safety messages will follow the safety alert symbol and either the word “DANGER” or “WARNING.”
These words mean:
DANGER:You can be killed or seriously injured if you don’t immediately follow instructions.
WARNING:You can be killed or seriously injured if you don’t follow instructions.
All safety messages will tell you what the potential hazard is, tell you how to reduce the chance of injury, and tell you what can happen if the instructions are not followed.
IMPORTANT SAFETYINSTRUCTIONS
WARNING: TO REDUCE THE RISK OF FIRE, ELECTRIC SHOCK, OR INJURY TO PERSONS, OBSERVE THE FOLLOWING:
- Use this unit only in the manner intended by the manufacturer. If you have questions, contact the manufacturer.
- Before servicing or cleaning unit, switch power off at service panel and lock the service disconnecting means to prevent power from being switched on accidentally. When the service disconnecting means cannot be locked, securely fasten a prominent warning device, such as a tag, to the service panel.
- Installation work and electrical wiring must be done by qualified person(s) in accordance with all applicable codes and standards, including fire-rated construction.
- Do not operate any fan with a damaged cord or plug. Discard fan or return to n authorized service facility for examination and/or repair.
- Sufficient air is needed for proper combustion and exhausting of gases through the flue (chimney) of fuel burning equipment to prevent back drafting. Follow the heating equipment manufacturers guideline and safety standards such as those published by the National Fire Protection Association (NFPA), and the American Society for Heating, Refrigeration and Air Conditioning Engineers (ASHRAE), and the local code authorities.
- When cutting or drilling into wall or ceiling, do not damage electrical wiring and other hidden utilities.
- Ducted fans must always be vented to the outdoors. CAUTION: For General Ventilating Use Only. Do Not Use To Exhaust Hazardous Or Explosive Materials And Vapors. CAUTION: To reduce risk of fire and to properly exhaust air, be sure to duct air outside -Do not vent exhaust air into spaces within walls or ceilings or into attics, crawl spaces, or garages.
WARNING: TO REDUCE THE RISK OF FIRE, USE ONLY METAL DUCTWORK.
WARNING: TO REDUCE THE RISK OF A RANGE TOP GREASE FIRE: - Never leave surface units unattended at high settings. Boilovers cause smoking and greasy spillovers that may ignite. Heat oils slowly on low or medium settings.
- Always turn hood ON when cooking at high heat or when flaming food (i.e. Crepes Suzette, Cherries Jubilee, Peppercorn Beef Flambe).
- Clean ventilating fans frequently. Grease should not be allowed to accumulate on fan or filter.
- Use proper pan size. Always use cookware appropriate for the size of the surface element. WARNING: TO REDUCE THE RISK OF INJURY TO PERSONS IN THE EVENT OF A RANGE TOP GREASE FIRE, OBSERVE THE FOLLOWING’:
- SMOTHER FLAMES with a close-fitting lid, cookie sheet, or metal tray, then turn off the burner. BE CAREFUL TO PREVENT BURNS. If the flames do not go out immediately, EVACUATE AND CALL THE FIRE DEPARTMENT.
- NEVER PICK UP A FLAMING PAN – You may be burned.
- DO NOT USE WATER, including wet dishcloths or towels -a violent steam explosion will result.
- Use an extinguisher ONLY if:
- You know you have a Class ABC extinguisher, and you already know how to operate it.
- The fire is small and contained in the area where it started.
- The fire department is being called.
- You can fight the fire with your back to an exit.
Based on “Kitchen Fire Safety Tips” published by NFPA
- WARNING: To Reduce The Risk Of Fire Or Electric Shock, Do Not Use This Fan With Any Solid-State Speed Control Device.
- This appliance is not intended for use by persons (including children) with reduced physical, sensory or mental capabilities, or lack of experience and knowledge, unless they have been given supervision or instruction concerning use of the appliance by a person responsible for their safety.
READ AND SAVE THESE INSTRUCTIONS
INSTALLATION REQUIREMENTS
Tools and Parts
Gather the required tools and parts before starting installation. Read and follow the instructions provided with any tools listed here.
Tools needed
- Level
- Drill
- 11
- 1/4″ (3 cm) drill bit
- 1/8″ (3 mm) drill bit
- Pencil
- Wire stripper or utility knife
- Tape measure or ruler
- Pliers
- Caulking gun and weatherproof caulking compound
- Vent clamps
- Jigsaw or keyhole saw
- Flat-blade screwdriver
- Metal snips
- Phillips screwdriver
Parts needed
- Home power supply cable
- 1 – 1/2″ (13 mm) UL listed or CSA approved strain relief
- 3 UL listed wire connectors
- 1 wall or roof cap
- Metal vent system
- Blower motor system – internal or external (see “Blower Motor System” in the “Accessories” section)
Parts supplied
Remove parts from packages. Check that all parts are included.
- 3 metal grease filters
- Hood liner with halogen lamps installed.
- 1 – 10″ (25.4 cm) square to 10″ (25.4 cm) round duct transition with damper.
- 4 – 5 x 45 mm mounting screws
- 4 – 4.2 x 8 mm screws
- T-20® TORX®† adapter
Location Requirements
IMPORTANT: Observe all governing codes and ordinances. Have a qualified technician install the hood liner. It is the installer’s responsibility to comply with installation clearances specified on the model/serial rating plate. The model/serial rating plate is located behind the left filter on the rear wall of the hood liner.
The hood liner location should be away from strong draft areas, such as windows, doors, and strong heating vents. Cabinet opening dimensions that are shown must be used. Given dimensions provide minimum clearance.
The hood liner must be surrounded by a custom built enclosure with hood support capable of supporting 75 lb (34 kg). Grounded electrical outlet is required. See the “Electrical Requirements” section.
All openings in ceiling and wall where canopy hood will be installed must be sealed.
For Mobile Home Installations
The installation of this range hood must conform to the Manufactured Home Construction Safety Standards, Title 24 CFR, Part 328 (formerly the Federal Standard for Mobile Home Construction and Safety, Title 24, HUD, Part 280) or when such standard is not applicable, the standard for Manufactured Home Installation 1982 (Manufactured Home Sites, Communities and Setups) ANSI A225.1/NFPA 501A, or latest edition, or with local codes.
Cabinet Dimensions

IMPORTANT:
Minimum distance “X”: 24″ (61 cm) from electric cooking surfaces.
Minimum distance “X”: 30″ (76.2 cm) from gas cooking surfaces
Suggested maximum distance “X”: 36″ (91.4 cm).
Product Dimensions

- Vent system must terminate to the outdoors.
- Do not terminate the vent system in an attic or other enclosed area.
- Do not use 4″ (10.2 cm) laundry-type wall caps.
- Use metal vent only. Rigid metal vent is recommended.
- Plastic or metal foil vent is not recommended.
- The length of vent system and number of elbows should be kept to a minimum to provide efficient performance.
For the most efficient and quiet operation:
- Use no more than three 90° elbows.
- Make sure there is a minimum of 24″ (61.0 cm) of straight vent between the elbows if more than one elbow is used.
- Do not install two elbows together.
- Use clamps to seal all joints in the vent system.
- Use caulking to seal exterior wall or roof opening around the cap.
- The size of the vent should be uniform
Cold Weather Installations
An additional back draft damper should be installed to minimize backward cold air flow and a thermal break should be installed to minimize conduction of outside temperatures as part of the vent system. The damper should be on the cold air side of the thermal break.
The break should be as close as possible to where the vent system enters the heated portion of the house.
Venting Requirements
Makeup Air
Local building codes may require the use of makeup air systems when using ventilation systems greater than specified CFM of air movement. The specified CFM varies from locale to locale. Consult your HVAC professional for specific requirements in your area.
Venting Methods
Typical Internal Blower Motor System Venting Installations
A 10″ (25.4 cm) round vent system is needed for installation (not included). The hood exhaust opening is 10″ (25.4 cm) round.
NOTE: Flexible vent is not recommended. Flexible vent creates back pressure and air turbulence that greatly reduce performance
- Roof Venting

- A. 10″ (25.4 cm) round vent
- B. Roof cap
- Wall Venting

- A. 10″ (25.4 cm) round vent
- B. Wall cap
Typical In-line Blower Motor System Venting Installations

- A. 10″ (25.4 cm) round vent
- B. Mount on top of ceiling joists
- C. Roof caps
- D. Plywood (optional for some installations)
- E. Mount on underside of roof rafters
- F. Mount from cross-members tied to trusses
- G. Duct horizontal; mount to cross-members tied to trusses
- H. Wall cap
Calculating Vent System Length
To calculate the length of the system you need, add the equivalent feet (meters) for each vent piece used in the system.
| Vent Piece | Equivalent Length | |
| 45° elbow | 2.5″ (0.8 m) | ![]() |
| 90° elbow | 2.5″ (0.8 m) | ![]() |
The maximum equivalent vent lengths are: 10″ (25.4 cm) round vents – 60′ (18.3 m)
Example vent system

The following example falls within the maximum recommended vent length.
| 1 – 90° elbow | = 5.0″ (1.5 m) |
| 1 – wall cap | = 0.0″ (0.0 m) |
| 8″ (2.4 m) straigh | = 8.0″ (2.4 m) |
| Length of system | = 13.0″ (3.9 m) |
Electrical Requirements
Observe all governing codes and ordinances.
Ensure that the electrical installation is adequate and in conformance with National Electrical Code, ANSI/NFPA 70 (latest edition), or CSA Standards C22.1-94, Canadian Electrical Code, Part 1 and C22.2 No. 0-M91 (latest edition) and all local codes and ordinances.
If codes permit and a separate ground wire is used, it is recommended that a qualified electrician determine that the ground path is adequate.
A copy of the above code standards can be obtained from:
National Fire Protection Association
One Batterymarch Park
Quincy, MA 02269
CSA International
8501 East Pleasant Valley Road
Cleveland, OH 44131-5575
- A 120 V, 60 Hz, AC only, 15 A, fused electrical circuit is required.
- If the house has aluminum wiring, follow the procedure below: Connect the aluminum wiring using special connectors
and/or tools designed and UL listed for joining copper to aluminum. Follow the electrical connector manufacturer’s recommended procedure. Aluminum/copper connection must conform with local codes and industry accepted wiring practices. - Wire sizes and connections must conform with the rating of the appliance as specified on the model/serial rating plate. The model/serial plate is located behind the filter on the rear wall of the range hood.
- Wire sizes must conform to the requirements of the National Electrical Code, ANSI/NFPA 70 (latest edition), or CSA Standards C22. 1-94, Canadian Electrical Code, Part 1 and C22.2 No. 0-M91 (latest edition) and all local codes and ordinances.
INSTALLATION INSTRUCTIONS
Prepare Location
- It is recommended that the vent system be installed before hood is installed.
- Before making cutouts, make sure there is proper clearance within the ceiling or wall for exhaust vent.
- Hood liner is to be installed 24″ (61.0 cm) minimum for electric cooking surfaces, 30″ (76.2 cm) minimum for gas cooking surfaces, to a suggested maximum of 36″ (91.4 cm) above the cooking surface.
- Check that all installation parts have been removed from the shipping carton.
- Disconnect power.
- Determine which venting method to use: roof or wall exhaust.
- Select a flat surface for assembling the range hood. Place covering over that surface.
WARNING
Excessive Weight Hazard
Use two or more people to move and install
range hood.
Failure to do so can result in back or other injury. - Using two or more people, lift hood liner onto covered surface.
- Remove the filters. See the “Range Hood Care” section.
Hood Liner Support Preparation
- Mark the locations for the four 1/8″ (3 mm) diameter holes on the hood support as shown.

A. Wall
B. Centerline
C. 6″ (15.2 cm)
D. 101 /8″ (25.7 cm)
E. 1415/16″ (38.0 cm)
F. 2913/16″ (75.8 cm)
G. 1/8″ (3 mm) hole diameter - Using a 1/8″ (3 mm) drill bit, drill the four holes.
- Mark the cutout for the rectangular clearance hole for the upper hood liner housing as shown.

A. Wall
B. Centerline
C. 41 /2″ (11.4 cm)
D. 13″ (33.0 cm)
E. 14″ (35.5 cm)
F. 28″ (71.1 cm)
G. Hood support - Using a jigsaw or keyhole saw, cut out the rectangular clearance hole for the upper hood liner housing.
Complete Preparation
- Determine and make all necessary cuts in the wall or roof for the vent system. Install the vent system before installing the range hood. See the “Venting Requirements” section.
- Determine the location where the power supply cable will be run through the wall.
- Drill a 11 /4″ (3.2 cm) hole at this location.
- Pull enough power supply cable through the wall to allow for easy connection to the terminal box.
- Install the 10″ (25.4 cm) square x 10″ (25.4 cm) round vent transition with damper to top of the range hood liner using four 4.2 x 8 mm screws.
- Remove terminal box cover and set aside.
- Remove knockout from the top of the vent hood and install a UL listed or CSA approved 1/2″ (13 mm) strain relief.
- Place the range hood near its mounting position and run the power supply cable through the strain relief into terminal box (enough to make connection).
- Tighten the strain relief screws.
NOTE: Your range hood requires you to purchase either an internal type or an in-line (external type) blower motor system.
For internal blower systems, there are blower motor mounting
parts in the blower motor installation packet that must be added to the range hood prior to mounting the range hood to the wall. See the “Install Range Hood Internal Blower Motor” section and the instructions supplied with the blower motor.
Install Range Hood Liner
The hood liner attaches to the hood support using four mounting screws and washers.
NOTE: Hood support must be capable of supporting 75 lb (34 kg)
- Using two or more people, lift the hood liner into place.
- Install the hood liner using four 5 x 45 mm screws to the hood support and tighten securely.

Install Hood Liner Internal Blower Motor
NOTE: Your hood liner requires you to purchase either an internal type or an in-line (external type) blower motor system. See “Blower Motor System” in the “Accessories” section.
The internal blower system can be mounted for top venting or rear venting. For top venting, the mounting bracket and spring clip that come with the blower system will mount to the top panel of the hood liner. For rear venting, the mounting bracket and spring clip that come with the blower system will mount to the rear panel of the hood liner.
Prepare the Internal Blower System
IMPORTANT: Perform steps 1-4 before mounting the hood line
- Remove grease filters from hood liner. See the “Range Hood Care” section in the Use and Care Guide.
- Install the motor support bracket using three 4.2 x 8 mm screws. Screw bracket to the inside top or back (alternate location on some models), toward the left side of the hood liner.
- Install motor spring clip using two 4.2 x 8 mm screws. Screw spring clip to the inside top or back (alternate location on some models) of the hood liner at the proper location for the selected motor system. Slide the mounting tab of the spring clip through the slot in the panel and secure with the screws. Use the inside set of mounting holes for the single motor system. Use the outside set of mounting holes for the dual motor system.

A. 4.2 x 8 mm screws (3) for motor support bracket
B. 4.2 x 8 mm screws (2) for motor spring clip
C. Motor support bracket
D. Motor spring clip (single motor assembly location)
E. Motor spring clip (dual motor assembly location) - Install the 6 mm nuts to the outside top or outside back (alternate location on some models) of the hood liner at the proper location for the selected motor system.
- Two 6 mm nuts are required for the single motor system. Clip nuts into the small square notches located at the left and right end of the square vent opening.
- Five 6 mm nuts are required for the dual motor system. Clip nuts into the small square notches, one located in the front of the square vent opening and the other four located at the left and right ends of the square vent opening

A. Clip nut (6 mm) locations for dual motor assembly (quantity 5)
B. Clip nut (6 mm) locations for single motor assembly (quantity 2)
- Mount hood liner. See the “Install Range Hood Liner” section.
Install Hood Liner Internal Blower Motor
- Install the hood liner blower motor assembly inside the hood liner canopy with the wiring connection to the left for the single motor system and to the front or top for the dual motor system.
Single Blower Motor Assembly
A. Wiring connection
Dual Blower Motor Assembly
A. Wiring connection - Slide the left mounting plate flange under the motor mounting bracket.

A. Motor mounting bracket
B. Mounting plate left flange - Run the power supply wires and connector from the range hood through the hole in the right end of the motor mounting plate.

A. Motor mounting plate hole
B. Power supply wires and connector - Push the right end of the motor mounting plate up and snap it into the spring tab.
NOTE: The spring tab should be outside the slot in the mounting plate.
A.Motor mounting plate
B. Spring clip - Align mounting holes in motor mounting plate with motor mounting clip nuts and install 6 x 16 mm screws and 6.4 mm lock washers (quantity two for single motor; quantity five for dual motor).

A. Screw with lock washer
B. Mounting hole in motor mounting plate
C. Clip nut (6 mm) - Attach power cord connector from the range hood to connector on wiring box.

- . Go to the “Make Electrical Power Supply Connection to Hood Liner” section.
Install Hood Liner In-Line (External Type) Blower Motor
NOTE: Your hood liner requires you to purchase either an internal type or an in-line (external type) blower motor system. See “Blower Motor System” in the “Accessories” section.
Prepare for Mounting the In-Line Blower System
The in-line blower system must be fastened to a secure structure of the roof, ceiling, wall, floor, or new or existing frame construction. The four holes on either the inlet (bottom) side or the outlet (top) side of the blower must be used to mount the inline blower system to the structure.
NOTE: The mounting hole locations must span the studs. Additional stud framing may be required. Plywood may be used to span open areas between ceiling joists or roof rafters to aid installation. This structure must be strong enough to support the weight of the in-line blower system (50 lb [22.6 kg] minimum
Prepare the In-line Blower System
WARNING
Excessive Weight Hazard
Use two or more people to move and install in-line blower motor system.
Failure to do so can result in back or other injury.
- Using two or more people, move the in-line blower motor system to the mounting location.
- Remove the 10 screws from the front cover of the in-line blower motor housing and set them aside.
- Remove the front cover of the in-line blower motor housing and set it aside.
NOTE: To make the blower motor housing easier to mount, the blower motor assembly can be removed. If you do not want to remove the blower motor assembly, proceed to “Install In-line Blower System” in this section. - Disconnect the motor electrical plug from the blower motor assembly
- Remove the screws that secure the blower motor assembly to the in-line blower housing and set them aside.
- Pull the spring clip to release the blower motor assembly. Remove the blower motor assembly from the housing and place it on a covered surface.

A. Front cover
B. Blower mounting screws
C. Spring clip
D. Bottom housing mounting holes
E. Motor electrical plug
Install In-line Blower System
NOTE: The blower motor housing can be mounted using four holes from either the inlet side or the outlet side of the blower
A. Mounting holes
- Position the in-line blower motor housing in its mounting location and mark the four mounting hole locations.
- Drill four mounting pilot holes using a 3/16″ (5 mm) drill bit.
- Attach the in-line blower motor housing to the mounting location with four 6 x 80 mm mounting screws and washers.
- If it is removed, reinstall the blower motor assembly and secure it with the screws previously removed.
- If it is removed, reattach the motor electrical plug to the connector on the blower motor assembly
Complete Preparation
- Determine and make all necessary cuts for the vent system.
IMPORTANT: When cutting or drilling into the ceiling or wall, do not damage electrical wiring or other hidden utilities. - Determine the location where the 1/2″ (13 mm) wiring conduit will be routed through the ceiling or wall between the in-line blower and the hood liner.
- Drill a 11 /4″ (3.2 cm) hole at this location.
- Locate the electrical terminal boxes in the in-line blower housing and hood liner. Remove the terminal box covers and set the covers and screws aside.

A. Electrical terminal box
B. Electrical knockout - Remove the electrical knockout from the in-line blower housing and hood liner to prepare for the installation of the UL Listed or CSA approved 1/2″ (13 mm) wiring conduit and conduit connector.
- With the hood liner mounted (see the “Install Hood Liner” section), run the 1/2″ (13 mm) wiring conduit between the inline blower motor housing and the hood liner. Pull enough 1/2″ (13 mm) wiring conduit to allow for easy connection to the terminal boxes in the in-line blower housing and hood liner.
- Run the six 18 AWG wires through the 1/2″ (13 mm) wiring conduit and conduit connectors and into the terminal boxes on the in-line blower housing and hood liner. Leave enough wire length in each terminal box to make the wiring connections.
- Install the conduit connectors and conduit to the in-line blower housing and hood liner electrical terminal boxes.
- Connect the vent system to the hood liner and in-line blower system and seal all joints with clamps.
Make Electrical Connections for In-Line Blower Motor System
WARNING
Electrical Shock Hazard
Disconnect power before servicing.
Replace all parts and panels before operating.
Failure to do so can result in death or electrical shock.
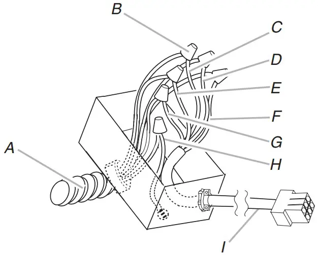
Electrical Connection Inside In-line Blower System
- Disconnect power.
- Connect the wires from the wiring conduit to the wires from the motor electrical plug cable inside the in-line blower housing terminal box

A. UL Listed or CSA approved 1/2″ (13 mm) wiring conduit
B. UL Listed wire connectors
C. Black wires
D. White wires
E. Red wires
F. Blue wires
G. Gray wires
H. Green (or yellow/green) and green/yellow wires
I. Motor electrical plug cableoperating. - Use UL listed wire connectors and connect the black wires (C) together.
- Use UL listed wire connectors and connect the white wires (D) together.
- Use UL listed wire connectors and connect the red wires (E) together.
- Use UL listed wire connectors and connect the blue wires (F) together.
- Use UL listed wire connectors and connect the gray wires (G) together.
WARNING
Electrical Shock Hazard
Electrically ground blower.
Connect ground wire to green and yellow ground wire
in terminal box.
Failure to do so can result in death or electrical shock - Connect the green (or yellow/green) ground wire to the green/yellow ground wire (H) in the terminal box using UL listed wire connectors.
- Reinstall the in-line blower terminal box cover and screw.
- Reinstall the front cover of the in-line blower housing and secure it with 10 mounting screws.
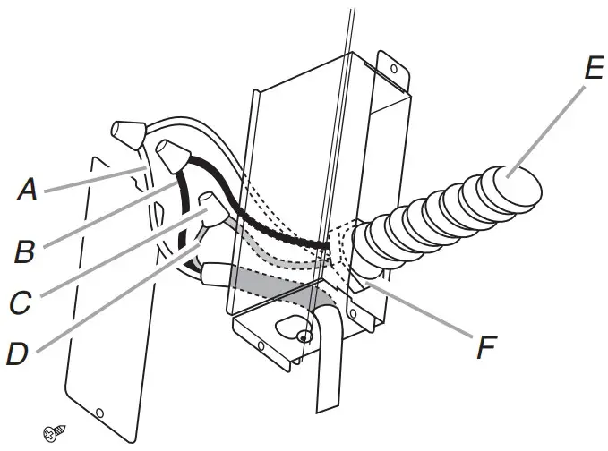
Electrical Connection Inside Hood Liner Between Inline Blower System and Hood Liner
- With the hood liner mounted (see the “Install Hood Liner” section), locate the wiring cable connector inside the hood liner.
- Connect the 6-wire connector assembly supplied with the in-line blower motor system to the mating cable connector from the hood liner.

- Locate the terminal box inside the hood liner and install a 1/2″ (13 mm) UL listed or CSA approved strain relief (see “Complete Preparation” in the “Prepare Location” section).
- Run the wire ends from the 6-wire connector assembly through the 1/2″ (13 mm) strain relief, leaving enough wire length to make the wiring connections. Tighten the strain relief screws.
- Connect the wires from the 6-wire connector assembly to the wires from the wiring conduit inside the hood liner terminal box.
- Connect the same color wires to each other (black to black, white to white, etc.) using UL listed wire connectors.
NOTE: Connect the green (or green/yellow) ground wire from the wiring conduit to the green (or bare) ground wire from the home power supply using UL listed wire connectors (see the “Make Electrical Power Supply Connection to Hood Liner” section).
A. UL listed or CSA approved 1/2″ (13 mm) wiring conduit
B. UL Listed wire connectors
C. Black wires
D. White wires
E. Red wires
F. Blue wires
G. Gray wires
H. Green (or green/yellow) wire
I. 6-wire connector assembly - Go to the “Make Electrical Power Supply Connection to Hood Liner” section.
Make Electrical Power Supply Connection to Hood Liner
WARNING
Electrical Shock Hazard
Disconnect power before servicing.
Replace all parts and panels before operating.
Failure to do so can result in death or electrical shock.
- Disconnect power.
- Locate terminal box inside of the hood liner.


A. White wires
B. Black wires
C. UL listed wire connectors
D. Green, bare or yellow/green wires
E. Home power supply
F. UL listed or CSA approved 1/2″ (13 mm) strain relief - Use UL listed wire connectors and connect black wires (B) together.
- Use UL listed wire connectors and connect white wires (A) together.
WARNING
Electrical Shock Hazard
Electrically ground blower.
Connect ground wire to green and yellow ground wire
in terminal box.
Failure to do so can result in death or electrical shock.
NOTE: When using an in-line blower motor system, the green (or green/yellow) ground wire in the conduit from the in-line blower motor system is to be connected with the green (or bare) wire of the home power supply cable and with the green/yellow wire (D) in the terminal box. - Connect green (or bare) ground wire from home power supply to the green/yellow ground wire (D) in terminal box using UL listed wire connectors.
- Install terminal box cover.
- Check that all light bulbs are secure in their sockets.
- Reconnect power.
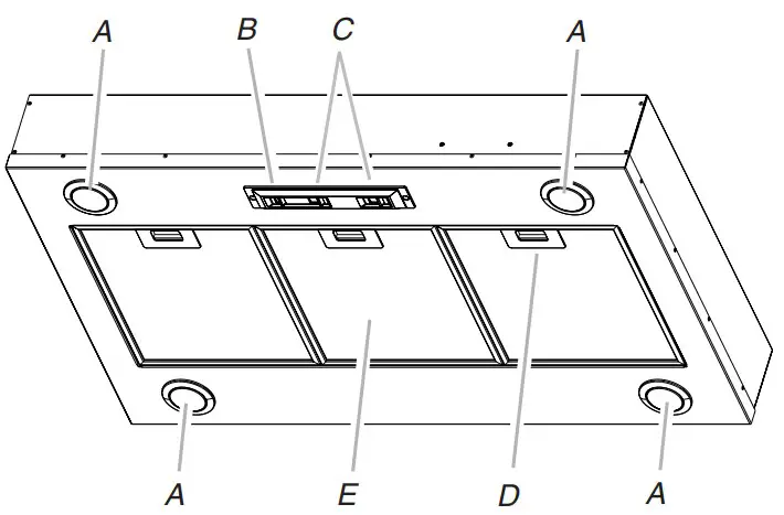
Complete Installation and Check Operation
- Install grease filters. See the “Range Hood Care” section.
- Check operation of the range hood blower and lights. See the “Range Hood Use” section.

A. Halogen lights
B. Halogen light switch
C. Blower control switches
D. Grease filter handle
E. Grease filter - If the range hood does not operate, check to see whether a circuit breaker has tripped or a household fuse has blown.
Disconnect power supply and check that the wiring is correct.
NOTE: To get the most efficient use from your new hood liner, read the “Range Hood Use” section.
RANGE HOOD USE
The range hood is designed to remove smoke, cooking vapors and odors from the cooktop area. For best results, start the hood before cooking and allow it to operate several minutes after the cooking is complete to clear all smoke and odors from the kitchen.
The hood controls are located on the underside of the range hood.
A. Light control
B. Blower control
C. Fan speed control
Range Hood Controls
Operating the Light
- Move the light switch to the “1” position to turn range hood light to night light setting.
- Move the light switch to the “2” position to turn range hood light to full light setting.
- Move the light switch to the “Off” position to turn range hood light off.
IMPORTANT: Flicker and visual fluctuation can be present every time the lamp switch is activated. The duration of the flicker will depend on the manner and velocity that the light switch changes position.
Operating the Fan
- Move the fan switch to the on position to turn the fan on. The fan will begin operating at the speed set on the fan speed switch.
- Move the fan switch to the off position to turn the fan off.
Auto on Fan
The range hood is equipped with a sensor to automatically turn on the fan when excessive heat is detected in the control area. When the fan switch is in the off position, this sensor will turn the fan to high speed when necessary. When the heat decreases, the fan will turn off.
When the fan switch is in the on position, the heat sensor is not active, and the range hood functions normally
Adjusting the Fan
The fan has three speed controls. Move the fan speed switch to “1” position for low speed, “2” position for medium speed, or “3” position for high speed.
Thermal Protector
The range hood is equipped with a thermal protector to avoid overheating conditions. If the range hood shuts off while in use, move fan slider switch to off to turn off the range hood. Wait approximately 60 minutes, then move slider to on to restart the range hood.
RANGE HOOD CARE
Cleaning
IMPORTANT: Clean the hood and grease filters frequently according to the following instructions. Replace grease filters before operating hood.
Exterior Surfaces:
To avoid damage to the exterior surface, do not use steel wool or soap-filled scouring pads. Always wipe dry to avoid water marks.
Cleaning Method:
- Liquid detergent soap and water or all-purpose cleanser.
- Wipe with damp soft cloth or nonabrasive sponge, then rinse with clean water and wipe dry
Metal Grease Filter:
- Remove each filter by pulling the spring release handle and then pulling down the filter.
- Wash metal filters as needed in dishwasher or hot detergent solution.
- Reinstall the filter by making sure the spring release handles are toward the front. Insert aluminum filter into upper track.
- Push in spring-release handle.
- Push up on metal filter and release handle to latch into place.
- Repeat steps 1-5 for the other filter.
Replacing a Halogen Lamp
Turn off the range hood and allow the halogen lamp to cool. To avoid damage or decreasing the life of the new lamp, do not touch lamp with bare fingers. Replace lamp, using tissue or wearing cotton gloves to handle lamp.
If new lamps do not operate, make sure the lamps are inserted correctly before calling service.
- Disconnect power.
- Push up on the lens and turn it counterclockwise.

- Remove the lamp and replace it with a 120 V, 50 W maximum halogen lamp with a GU10 base. Turn it clockwise to lock it into place.
- Repeat steps 2-3 for the other lamp if needed.
- Reconnect power.
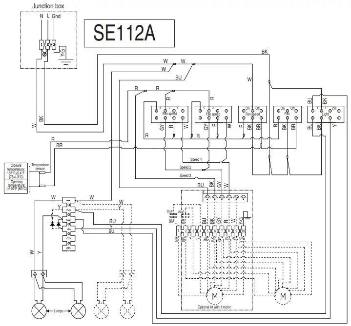
WIRING DIAGRAM

| Motor Resistance (Ohms) | ||
| Blue-Red: 18 | Blue-White: 21.6 (minimum | Blue-Black: 9.8 (maximum) |
| Blue-Gray: 14.3 | Room Temp: 73.4°F (23°C) | |
Motor Characteristics | |
| Power supply: 120 VAC | Power absorption: 420 W |
| Frequency: 60 Hz | Current: 3.7 A |
| Switch operation with button “1-2-3” | |||
| Position | 1 | 2 | 3 |
| Connection | 4 2 | 4 6 | 5 7 |
| Action | Speed 1 | Speed 2 | Speed 3 |
| Switch operation with button “ON-OFF” | ||
| Position | ON | OFF |
| Connection | 4 6 | 4 2 |
| Action | Motor ON | Motor OFF |
| Switch operation with button “Light” | |||
| Position | OFF | 1 | 2 |
| Connection | 4 2 | 4 6 | 7 6 8 5 |
| Action | Lights Off | Low Intensity | High Intensity |
ASSISTANCE OR SERVICE
When calling for assistance or service, please know the purchase date and the complete model and serial number of your appliance. This information will help us to better respond to your request.
If you need replacement parts
If you need to order replacement parts, we recommend that you use only factory specified parts. Factory specified parts will fit right and work right because they are made with the same precision used to build every new appliance. To locate factory specified replacement parts in your area, call us or your nearest designated service center.
In the U.S.A.
If you have any problems or questions, call the KitchenAid
Customer eXperience Center at 1-800-422-1230.
Our consultants provide assistance with:
- Scheduling of service. KitchenAid appliances designated service technicians are trained to fulfill the product warranty and provide after-warranty service anywhere in the United States.
- Features and specifications on our full line of appliances.
- Referrals to local KitchenAid appliance dealers.
- Installation information.
- Use and maintenance procedures.
- Accessory and repair parts sales.
- Specialized customer assistance (Spanish speaking, hearing impaired, limited vision, etc.).
For further assistance:
If you need further assistance, you can write to KitchenAid with any questions or concerns at:
KitchenAid Brand Home Appliances
Customer eXperience Center
553 Benson Road
Benton Harbor, MI 49022-2692
Please include a daytime phone number in your correspondence.
In Canada
If you have any problems or questions, call the KitchenAid Customer eXperience Center at 1-800-807-6777.
Our consultants provide assistance with:
- Scheduling of service. KitchenAid appliances designated service technicians are trained to fulfill the product warranty and provide after-warranty service anywhere in Canada.
- Features and specifications on our full line of appliances.
- Referrals to local KitchenAid appliance dealers.
- Use and maintenance procedures.
- Accessory and repair parts sales
For further assistance:
If you need further assistance, you can write to KitchenAid with any questions or concerns at:
KitchenAid Brand Home Appliances
Customer eXperience Center
200 – 6750 Century Ave.
Mississauga, Ontario L5N 0B7
Please include a daytime phone number in your correspondence
Accessories
Stainless Steel Grease Filter — kit contains one filter
Order Part Number W10351855
Order quantity 3 for 36″ (91.4 cm) model
Order quantity 4 for 48″ (121.9 cm) model
Blower Motor Systems (one system is required)
NOTE: Internal Blower Motor Systems: UXB0600DYS – 600 CFM Internal Blower Motor System is for use in the 36″ hood liner above a cooktop with a maximum of 65,000 Btus.
Use UXB1200DYS – 1200 CFM Internal Blower Motor System above cooktops rated higher than 65,000 Btus or with the 48″ hood liner.
600 CFM Internal Blower Motor System – Order Model Number UXB0600DYS
1200 CFM Internal Blower Motor System – Order Model Number UXB1200DYS
600 CFM In-Line Blower Motor System – Order Model Number UXI0600DYS
1200 CFM In-Line Blower Motor System – Order Model Number UXI1200DYS







































