
USER MANUAL
PACKAGE CONTENTS
LED Strip Lights
IR Remote Control
Control box
Power Supply
INSTALLATION STEPS
- Choose a dry, clean and smooth surface. (Notice: Do not stick the led strip on the surface, such as knitted/wool fabrics, dust wall, rough plastic surface, frosted glass.)

- Strip off the protective film.
(Notice: Do not peel off the tape under the film.)
- Stick the strip light and press it over it about10~15s.

- For corner setup, bend the strip and reinforce via clips.
(Notice: Avoid bending on LED beads.)
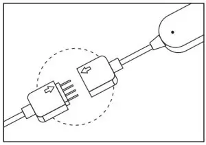
- Connect the arrow of the IR receiver to the arrow of LED Strip Lights.

- Connect the IR receiver to the DC wire.

- Installation completed. Use the IR remote to turn on and operate the lights.

Warning
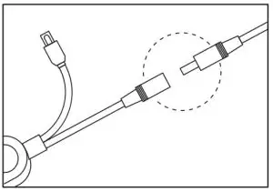
- Do does not connect to the power supply before installation.
- Please spread out the light strip before connecting the power supply.
Download the “Wonderful Home”APP and add the device
a. Download APP
Search in Apple store (IOS)or Google Play (Android) to download the Wonderful Home APP.
b. Prepare to add deice
Connecting power with the device to let the light on first, then open the blue tooth of your smartphone.
c. Add the device
Turn on the Wi-fi in the mobile, enter the Account and password. And then turn on the Bluetooth. Then Open the APP, when entering the home page, click the icon”+” in the top right corner to enter the wonderful device list. Select the “Auto Scan”, find the “Smart Strip”, then follow the APP prompt to add the device.
d. How to connect with Alexa & Google Home
After pairing with APP, the device will display on the home page, click the device name and enter the device detail page, then click the Settings icon at the top right corner. Click the Using guidance to see the instruction. Follow the steps to link strip light with Alexa & Google Home.
CONTROL BOX

CONNECTION INTERFACE


REMOTE CONTROLLER INDICATION
24 KEY
| 1.0n/Off: Press to turn the light on/off. |
| 2. Adjust Brightness: Dim or brighten the light. | |
| 3. Color Selecting: Press to change the color. R: Red, G: Green,B: Blue, W: White | |
| 4. Colorful Mode: Press to change the colorful scene mode. | |
| 5. Speed: For scene mode, press it to speed up or slow down the changing of lights; For music mode, press it to increase or decrease the sensitivity of the mic. | |
| 6. Music Mode: Press to cycle through Four music modes. | |
| 7. Rainbow Mode: Press to cycle through Four rainbow scene modes. |
NOTICE:
- Please pull out the transparent chip from the bottom of the IR remote to ensure that the battery is powered properly.
- Make sure the IR remote aims at the IR receiver within the sensing distance. The angle of the IR receiver is 120°and the sensing distance is 3 meters. Please remotely control within the sensing range.
44 KEY![]() | 1. WIFI: Quickly press three times to enter the distribution network mode and the red light flashes. |
| 2. IC SET: Press and hold to control the working length of the strip light. | |
| 3. White Flash Mode: White light flash. | |
| 4.0n/Off: Press to tum the light on/off. | |
| 5. Classic Mode: Press to change the mode. Seven Color Cycle/Fast Cycle/Breathe Cycle/Smooth Cycle mode. | |
| 6. Dream Color Dynamic Mode: Press to cycle forward or backward through 7 dream color dynamic modes. | |
| 7-1.Play/Pause: Press to Play/Pause the changing of lights. | |
| 7-2.Speed: Press to speed up or slow down the changing of lights. | |
| 7-3. Adjust Brightness: Dim or brighten the light. | |
| Mode: Press to change the quiet mode. Film/Dating/Sunset/Christmas Eve | |
| 9. off: Turn off after 1/2/3/4 hours, and the strip light will flash white after receiving the signal. Press twice to cancel the timing. | |
| 10. Local Music Mode: Press to change the local music mode. Energy/Rhythm/Spectrum/Roll | |
| 11. Color Selecting: Press to change the color. R: Red, G: Green,B: Blue, W: Whitett |
SAFETY TIPS
- Please pay attention to anti-static during the installation and use of the product.
- Do not use sharp objects to touch the product, and avoid contact with strong chemicals such as strong acid and alkali.
- When the product is installed, the bend should be avoided just in the position of the LED components.
- Please ensure that there is no hidden nail or metal conductive object in the contact part between the lamp and the wall.
- Please ensure the power is off before wiring and installation.
- Never connect two wires directly in case of a short circuit.
- Please connect several strip lights in parallel and choose a multi-ports adapter if you want to use several strip lights together.
- To ensure normal work of the strip Light, please use the voltage indicated on the packing.
- If the power supply is damaged, do not attempt to repair it yourself. Please leave it to a professional technician to deal with.
- Please don’t light the strip on for over 5s when they are rolled on the plastic reel.
- Please do not use this product in the open air or in a humid environment.
TROUBLESHOOTING
| Strip can’t light on after the installation. | • Check whether the joint is connected correctly. • Check whether the plastic sheet at the bottom of the IR remote is removed. • Check whether the button battery of the IR remote is out of power. |
| Two strips with different luminous colors when lighting on. | Check whether the two strips connect in parallel. |
CUSTOMER SERVICE
We are looking forward to providing the perfect services for you and will pay attention to your feedback. Should you have any questions, please give me the
letter via [email protected], We will reply within 24 hours.
FCC Statement:
This device complies with part 15 of the FCC Rules. Operation is subject to the following two conditions:
- this device may not cause harmful interference, and
- this device must accept any interference received, including interference that may cause undesired operation.
NOTE: This equipment has been tested and found to comply with the limits for a Class B digital device, pursuant to Part 15 of the FCC Rules. These limits are designed to provide reasonable protection against harmful interference in a residential installation. This equipment generates, uses, and can radiate
radio frequency energy and, if not installed and used in accordance with the instructions, may cause harmful interference to radio communications. However, there is no guarantee that interference will not occur in a particular installation.
If this equipment does cause harmful interference to radio or television reception, which can be determined by turning the equipment off and on, the user is encouraged to try to correct the interference by one or more of the following measures:
— Reorient or relocate the receiving antenna.
— Increase the separation between the equipment and receiver.
— Connect the equipment into an outlet on a circuit different from that to which the receiver is connected.
— Consult the dealer or an experienced radio/TV technician for help.
RF Exposure Statement:
This equipment complies with the FCC RF radiation exposure limits set forth for an uncontrolled environment. This equipment should be installed and operated with a minimum distance of 20 centimeters between the radiator and your body.



























