LSG Fitness Pacer M4 Treadmill

User Manual
The Pacer M4 Treadmill is a fitness machine designed for indoor use. The product may vary slightly from the item pictured due to model upgrades. It is important to read all instructions carefully before using this product and retain this owner’s manual for future reference. This manual may be subject to updates or changes. Up-to-date manuals are available through our website at www.lsgfitness.com.au.
Important Safety Instructions
It is important to read all instructions before using this treadmill. Regular maintenance is required to prolong the product’s useful life. Failing to maintain your treadmill may void your warranty. To reduce the risk of electric shock, disconnect your treadmill from the electrical outlet prior to cleaning and/or service work. Do not use an extension cord or attempt to disable the grounded plug by using improper adapters or in any way modify the cord set. Remove the safety key after use to prevent unauthorized treadmill operation.
Important Electrical Information
Choose an outlet exclusively for the machine and make sure the fuse is 10A. Do not plug any other appliances into the same outlet, such as fridges or air conditioning units.
Important Operating Instructions
There may be some noise from the rollers, especially new treadmills. This noise will diminish over time, although it may not completely go away. The belt will stretch over time, causing it to ride smoother over the rollers.
Parts List
- S1 Hexagon Socket Oval Head Bolt M8x40 2pcs
- S2 Spring Washer M8 2pcs
- S3 Hexagon Socket Oval Head Bolt M8x16 4pcs
- S4 Hexagon Socket Oval Head Bolt M8x30 2pcs
- S5 Nylon Nut M8 2pcs
- S6 Safety Key 1pc
- S7 Allen Wrench 1pc
Assembly Instructions
Hardware:
- Hexagon Socket Oval Head Bolt M8x30 2pcs
- Spring Washer M8 2pcs
- Hexagon Socket Oval Head Bolt M8x16 2pcs
Note: Do not fully tighten bolts in step 1 until step 2 is completed.
Folding Instructions
To unfold the machine, kick it. To fold the machine, keep pets and children away from it.
Overview
Before beginning a workout session, ensure that the Safety Key is properly placed onto the Computer Console and the Safety Clip is securely attached to an article of your clothing. Always stand on the side rails when you start the treadmill; never start the treadmill while standing on the running belt. The treadmill will automatically switch off after one hour of use.
The product may vary slightly from the item pictured due to model upgrades. Read all instructions carefully before using this product. Retain this owner’s manual for future reference.
NOTE:
This manual may be subject to updates or changes. Up-to-date manuals are available through our website at www.lsgfitness.com.au
WARNING: Read all instructions before using this treadmill.
It is important your treadmill receives regular maintenance to prolong its useful life. Failing to regularly maintain your treadmill may void your warranty.
DANGER
To reduce the risk of electric shock disconnect your treadmill from the electrical outlet prior to cleaning and/or service work
DO NOT USE AN EXTENSION CORD:
DO NOT ATTEMPT TO DISABLE THE GROUNDED PLUG BY USING IMPROPER ADAPTERS OR IN ANY WAY MODIFY THE CORD SET.
- Install the treadmill on a flat level surface with access to a 220-240 volt (50/60Hz), grounded outlet.
- Do not operate treadmill on deeply padded, plush or shag carpet. Damage to both carpet and treadmill may result.
- Do not block the rear of the treadmill. Provide a minimum of 1 metre clearance between the rear of the treadmill and any fixed object.
- Place your unit on a solid, level surface when in use.
- When running, make sure the plastic clip is fastened on your clothing. It is for your safety, should you fall or move too far back on the treadmill.
- Keep hands away from all moving parts.
- Never operate the treadmill if it has a damaged power cord or plug. When damaged, these must be replaced by the manufacturer, its service agent or similarly qualified persons in order to avoid a hazard.
- Keep the cord away from heated surfaces.
- Do not operate where aerosol spray products are being used or where oxygen is being administered.
Sparks from the motor may ignite a highly gaseous environment. - Never drop or insert any object into any openings.
- The treadmill is intended for in-home use only and is not suitable for commercial environments.
- To disconnect, turn all controls to the off position, remove the safety key, and then remove the plug from the outlet.
- The pulse sensors are not medical devices. Various factors, including the user’s movement, may affect the accuracy of heart rate readings. The pulse sensors are intended only as exercise aids in determining heart rate trends in general.
- Use the handrails provided; they are for your safety.
- Wear proper shoes. High heels, dress shoes, sandals or bare feet are not suitable for use on your treadmill. Quality athletic shoes are recommended to avoid leg fatigue.
- Before undertaking any type of exercise program, it is recommended that you consult a doctor.
- Injuries to health may result from incorrect or excessive training.
- This appliance is not intended for use by persons (including children) with reduced physical, sensory or mental capabilities, or lack of experience and knowledge, unless they have been given supervision or instruction concerning use of the appliance by a person responsible for their safety.
- WARNING: Heart rate monitoring systems may be inaccurate. If you feel faint stop exercising immediately.
- Children should not be allowed on or around the equipment, even when not in use.
- Children should be supervised to ensure that they do not play with this machine.
- Loose-fitting clothing or jewellery that could become an entanglement hazard should not be worn.
- Training shoes should be worn when using the equipment.
- Equipment must be used on a level and stable surface.
- All fixings should be checked before the equipment is used.
- All literature relating to the use of the equipment should be retained for future reference.
- Recommended operating temperature: 5-40°C.
Remove the safety key after use to prevent unauthorized treadmill operation
IMPORTANT ELECTRICAL INFORMATION
- Route the power cord away from any moving part of the treadmill including the elevation mechanism and transport wheels.
- NEVER remove any cover without first disconnecting AC power.
- NEVER expose this treadmill to rain or moisture. This treadmill is not designed for use outdoors, near a pool, or in any other high humidity environment.
- This is a high-power item; please do not share the same outlet with other high-power machines such as, fridges, air conditioning etc. Please choose an outlet exclusively for the machine and make sure the fuse is 10A.
IMPORTANT OPERATING INSTRUCTIONS
- Understand that changes in speed and incline do not occur immediately. Set your desired speed on the computer console and release the adjustment key. The computer will obey the command gradually.
- Use caution while participating in other activities while walking on your treadmill, such as watching television, reading, etc. These distractions may cause you to lose balance or stray from walking in the centre of the belt; which may result in serious injury.
- This unit starts with at a very low speed. It is recommended to stand on the side rails and only step on the treadmill as it is moving on a slow speed. This will prolong the life of your motor and run the belt smoothly.
- In order to prevent losing balance and suffering unexpected injury, never mount or dismount the treadmill while the belt is moving at high speeds.
- Always hold on to handrail while making control changes.
- A safety key is provided with this machine. Remove the safety key will stop the walking belt immediately; the treadmill will shut off automatically. Inserting the safety key will reset the display.
- Do not use excessive pressure on console control keys. They are precision set to function properly with little finger pressure.
- Replace any defective components immediately. The machine must be kept out of use until repaired.
- Belt wear-in period: all treadmills make a certain type of thumping noise due to the belt riding over the rollers, especially new treadmills. This noise will diminish over time, although may not completely go away. The belt will stretch over time, causing it to ride smoother over the rollers.
PARTS LIST
ASSEMBLY INSTRUCTIONS
STEP 1
- It is recommended to have a second person assist with this step. One person should hold the both Right and Left Handlebar Support Tubes in place while the other person tightens the bolts.
- Lift both Right and Left Handlebar Support Tubes up and align bolt holes. Use two M8x40 Hexagon Socket Oval
Head Bolts (S1) and two M8 Spring Washers (S2) to secure both Right and Left Handlebar Support Tubes onto the
Base Frame. Semi-tighten all bolts with the Allen Wrench provided. - Use four M8x16 Hexagon Socket Oval Head Bolts (S3) to secure both Right and Left Handlebar Support Tubes onto the Base Frame.
- Semi-tighten all bolts with the Allen Wrench provided.
NOTE: DO NOT FULLY TIGHTEN BOLTS IN STEP 1 UNTIL STEP 2 IS COMPLETED
STEP 2
- It is recommended to have a second person assist with this step. One person should hold the Computer Console in place while the other person connects the cables.
Connect the Main Control Cable from the Right Handlebar Support Tube to the cable that comes from the Computer Console.
Install the Handlebar Bracket onto the Right and Left Handlebar Support Tubes, using two M8x30 Hexagon Socket Oval Head Bolts (S4), two M8 Nylon Nuts (S5), and two M8x16 Hexagon Socket Oval Head Bolts (S3). Tighten bolts and nylon nuts with the Allen Wrench and Multi Hex Tool provided. - Place the Safety Key (S6) onto the Computer Console.
IMPORTANT: While sliding the Handlebar Bracket onto the Right and Left Handlebar Support Tubes when installing the console, please ensure the cables are connected and inserted inside the Right Handlebar Support Tube so that the cables is not trapped and get damaged or cut. Please see the diagram.
NOW PLEASE FULLY TIGHTEN ALL BOLTS INSTALLED IN STEP 1 AND STEP 2 WITH THE ALLEN WRENCH PROVIDED.
FOLDING INSTRUCTIONS
WARNING: Keep pets and children aware from the machine when unfolding
OPERATION GUIDE
OVERVIEW
Before beginning a workout session ensure that the Safety Key is properly placed onto the Computer Console and the Safety Clip is securely attached to an article of your clothing.
NOTE: Always stand on the side rails when you start the treadmill, never start the treadmill while you are standing on the running belt.
NOTE: Treadmill will auto switch off after 1 hours use.
FUNCTIONS
- START: Press the START button to start training on different training mode.
- STOP: Press the STOP button to stop training on different training mode
- MODE: Press the MODE button to select different functions (time, distance, or calories) for setting exercise goals in manual program mode before training.
- SPEED UP: Press the SPEED + button to make upward adjustments for pre-setting target training time, distance, or calorie in manual program mode before training. Press the SPEED + button to make upward adjustments for pre-setting target training time in pre-set training program (P01-P06) mode before training. Makes speed adjustments during all training periods on different training modes. The speed range is from 0.8 KPH to 12.0 KPH.
- SPEED DOWN: Press the SPEED – button to make backward adjustments for pre-setting target training time, distance, or calorie in manual program mode before training.
- Press the SPEED – button to make backward adjustments for pre-setting target training time in preset training program (P01-P06) mode before training. Makes speed adjustments during all training periods on different training modes. The speed range is from 0.8 KPH to 12.0 KPH
- INSTAND SPEED: Rotate the round speed knob to reach desired speed more quickly
DISPLAY FUNCTIONS
- TIME: Displays your elapsed workout time in minutes and seconds. Press the START button on the computer to begin exercising, the LCD window will countdown 3 seconds with the LCD showing “3-2- 1” before the running belt starts moving. The running belt starts moving with an initial speed of 0.8 KPH. You may press the SPEED + or SPEED -button on the computer console or handlebar to increase or decrease the running speed during exercise. Time will start counting from 0:00 to 99:59 per 1 second increment.
- SPEED: Displays the current speed from the minimum 0.8 KPH to the maximum 12.0 KPH. You may increase or decrease the speed by pressing the SPEED + or SPEED – button on the computer console or handlebar
- DISTANCE: Displays the accumulative distance travelled during workout. Press the START button on the computer to begin exercising, the LCD window will countdown 3 seconds with the LCD showing “3-2-1” before the running belt starts moving. The running belt starts moving with an initial speed of 1.0 KPH. You may press the SPEED + or SPEED – button on the computer console or handlebar to increase or decrease the running speed during exercise. Distance start counting up.
- CALORIES: Displays the total calories burned during your workout. Press the START button on the computer to begin exercising, the LCD window will countdown 3 seconds with the LCD showing “3-2- 1” before the running belt starts moving. The running belt starts moving with an initial speed of 0.8 KPH.
You may press the SPEED + or SPEED -button on the computer console or handlebar to increase or decrease the running speed during exercise. Calorie will start counting up.
(This data is a rough guide for comparison of different exercise sessions and should not be used in medical treatment). - PULSE: Displays your current heart rate in beats per minute (BPM). To activate, grip the hand pulse sensors during exercise and the pulse will display after 2-5 seconds. For a more accurate reading, grip pulse sensors with both hands.
TRAINING IN PRE-SET PROGRAM MODE (P01-P06)
The computer offers 6 pre-set programs (P01-P06). You may select one of the pre-set training programs in STOP mode before training. Press the PROG (PROGRAM) button on the computer console to select one of the training programs. The split window of TIME begins blinking.
Press the SPEED + or SPEED – button on the computer console or handlebar to change the setting.
Once you pre-set target time, press the START button on the computer to begin exercising. The running speed will change automatically during the workout (as shown below). The program is split evenly into 20 intervals. When the pre-set training program time countdown to 0:00, the computer will beep to alert you and the treadmill will stop automatically.
| SPEED / PROGRAM | TO SET TIME/20=RUNNING TIME OF EACH TIME PERIOD | ||||||||||||||||||||
| 1 | 2 | 3 | 4 | 5 | 6 | 7 | 8 | 9 | 10 | 11 | 12 | 13 | 14 | 15 | 16 | 17 | 18 | 19 | 20 | ||
| P1 | SPEED | 2 | 3 | 4 | 5 | 6 | 5 | 4 | 3 | 2 | 3 | 4 | 5 | 6 | 5 | 4 | 3 | 2 | 3 | 4 | 5 |
| P2 | SPEED | 3 | 4 | 5 | 6 | 7 | 8 | 3 | 4 | 5 | 6 | 7 | 8 | 3 | 4 | 5 | 6 | 7 | 8 | 3 | 4 |
| P3 | SPEED | 2 | 3 | 4 | 7 | 8 | 9 | 2 | 3 | 4 | 7 | 8 | 9 | 2 | 3 | 4 | 7 | 8 | 9 | 3 | 5 |
| P4 | SPEED | 3 | 6 | 9 | 4 | 7 | 10 | 3 | 6 | 9 | 4 | 7 | 10 | 3 | 6 | 9 | 4 | 7 | 10 | 6 | 3 |
| P5 | SPEED | 2 | 5 | 10 | 5 | 10 | 5 | 10 | 5 | 10 | 5 | 10 | 5 | 10 | 5 | 10 | 5 | 10 | 5 | 10 | 5 |
| P6 | SPEED | 2 | 5 | 6 | 7 | 8 | 8 | 8 | 6 | 4 | 5 | 6 | 7 | 8 | 8 | 8 | 6 | 4 | 4 | 7 | 4 |
INCLINE ADJUSTMENT
There are 3 incline angles that the Incline Adjuster can be set to. Place one hand on the Handle of the main frame, then lift the rear end of the main frame up and use the other hand to remove the Lock Pin. Adjust the Incline Adjuster to the desired position and insert the Lock Pin into the holes on the main frame and Incline Adjuster to lock the Incline Adjuster in place.
NOTE: Make sure when adjusting the incline angle of the Incline Adjuster that both Incline Adjusters should be adjusted to the same angle. Using the Incline Adjusters at different angles can cause the treadmill to be unstable and cause injury
MAINTENANCE INSTRUCTIONS
Reasonable cleaning/lubricating should be made to extend the lifetime of this unit. Performance is maximized when the belt and mat are kept as clean as possible.
WARNING:
- The mat/deck friction may lay a major role in the function and life of your treadmill and that is why we recommend you constantly lubricate this friction point to prolong the useful life of your treadmill. Failing to do this may void your warranty.
- Unplug power cord before maintenance.
- Stop treadmill before folding
GENERAL CLEANING
- Use a soft, damp cloth to wipe the edge of the belt and the area between the belt edge and frame. A mild soap and water solution along with a nylon scrub brush will clean the top of the textured belt. This task should be done once a month. Allow to dry before using.
- On a monthly basis, vacuum underneath your treadmill to prevent dust build up. Once a year, you should remove the black motor shield and vacuum out dirt that may accumulate.
GENERAL CARE
- Check parts for wear before use.
- Pay particular attention to the fixing knobs and make sure they are tight.
- Always replace the mat if worn and any other defective parts.
- If in doubt do not use the treadmill and contact us.
Take care to protect carpets and floor in case of leakages. This product is a machine that contains moving parts which have been greased/lubricated and could leak.
BELT/DECK/ROLLER LUBRICATION
The mat/deck friction may play a major role in the function and life of your treadmill and that is why we recommend you constantly lubricate this friction point to prolong the useful life of your treadmill. You should apply lubrication after approximately the first 25 hours of operation.
We recommend lubrication of the deck according to the following timetable:
- Light use (less than 3 hours per week) every 6 months.
- Medium use (3-5 hours a week) every 3 months.
- Heavy use (more than 5 hours per week) every 6-8 weeks.
See below the procedures for lubricating:
- Use a soft, dry cloth to wipe the area between the belt and the deck.
- Spread lubricant onto the inside surface of the belt and deck evenly (make sure the machine is turned off and the power is disconnected).
- Periodically lubricate the front and rear rollers to keep them at their peak performance. If the treadmill belt/deck/roller is kept reasonably clean it is possible to expect over 1200 hours before relubricating is necessary.
NOTE: DO NOT over lubricate running deck. Any excess lubricant that comes out should be wiped off.
HOW TO CHECK THE RUNNING MAT FOR PROPER LUBRICATION
- Disconnect the main power supply.
- Fold the treadmill up into the storage position.
- Feel the underside surface of the running mat.
If the surface is slick when touched, then no further lubrication is needed. If the surface is dry to the touch, apply a suitable silicone lubricant.
We recommend that you use a silicone based spray to lubricate your treadmill. This can be purchased directly from us or any hardware store.
Video Tutorial Available at: http://youtu.be/cP9NtFHfWlc
Lifespan Fitness YouTube Channel: http://www.youtube.com/user/treadmillsvideos
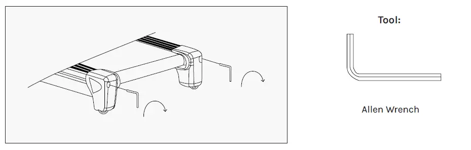
ADJUSTING THE RUNNING BELT
The running belt is pre-adjusted to the running deck at the factory, but after prolonged use it can stretch and require readjustment.
To adjust the belt, turn on the main power switch of the treadmill and let the belt run at a speed of 8-10 KPH. Use the Allen Wrench provided to turn the rear roller adjustment bolts in order to centre the belt. If the running belt is shifting to the left, turn the left adjustment bolt 1/4 turn clockwise, and the running belt should start to correct itself.
If the running belt is shifting to the right, then turn the right adjustment bolt 1/4 turn clockwise, and the belt should start to correct itself. Keep turning the adjustment bolts until the running belt is properly centered.
If the running belt is slipping during use, turn off and unplug the treadmill. Using the Allen Wrench provided, turn both left and right rear roller adjustment bolts 1/4 turn clockwise, then turn the main power switch back on and run the treadmill at a speed of 8-10 KPH. Run on to the running belt to determine if the belt is still slipping. Repeat this procedure until the belt no longer slips.
REPLACING MOTOR BRUSHES
After extended use, the motor brushes in your treadmill motor will wear down, and this can lead to motor failure. It is important that you maintain your motor by replacing the brushes on either side of the motor when they are worn down. We recommend that you check your motor every 1000 hours of usage.
IMPORTANT:
Before beginning the replacement of your motor brush, ensure that the treadmill is off and unplugged from the electrical socket.
- Remove the cover from the motor by squeezing it from the sides.
- You will find the motor brush held in with a clip, with the lead plugged in.

- Pull the clip out from its position.
- Hold the clip out of the way with a screwdriver or similar object. Keep the screwdriver in this position until step 9.

- Some treadmill motors may use a push clip instead. In this case, gently push the clip inwards and then up to release it from its latch.
- Remove the clip, noting the direction in which it was originally placed, and put it safely aside.

- Slide the motor brush out from its slot. If the brush is shorter than 5mm on the longest side, you will need to replace both brushes.
- Slide the motor brush lead off the terminal using another small screwdriver or needle nosed pliers.

- Plug the new motor brush lead into the terminal.
- Slide the new motor brush into the slot

- Release the clip back into its position.
- If your motor uses a push clip, replace the push clip by pushing it inwards and then down so that it engages the catch

- If your motor uses a push clip, replace the push clip by pushing it inwards and then down so that it engages the catch
- Check that the motor brush is held firmly in place by the clip, and that the lead is plugged securely onto the terminal.
- Replace the motor cover. Repeat steps 1-15 for the second brush located on the opposing side of the motor.
- You have now successfully replaced the motor brushes. We also recommend that you remove any dirt and dust from your treadmill motor fan using a vacuum cleaner before replacing the cover.
EXERCISE GUIDE
PLEASE NOTE:
Before beginning any exercise program, consult your physician. This is important especially if you are over the age of 45 or individuals with pre-existing health problems.
The pulse sensors are not medical devices. Various factors, including the user’s movement, may affect the accuracy of heart rate readings. The pulse sensors are intended only as an exercise aid in determining heart rate trends in general
- Exercising is great way to control your weight, improve your fitness and reduce the effect of aging and stress. The key to success is to make exercise a regular and enjoyable part of your everyday life.
- The condition of your heart and lungs and how efficient they are in delivering oxygen via your blood to your muscles is an important factor to your fitness. Your muscles use this oxygen to provide enough energy for daily activity. This is called aerobic activity. When you are fit, your heart will not have to work so hard. It will pump a lot fewer times per minute, reducing the wear and tear of your heart.
- So as you can see, the fitter you are, the healthier and greater you will feel.

WARM UP
- Start each workout with 5 to 10 minutes of stretching and some light exercises. A proper warm-up increases your body temperature, heart rate and circulation in preparation for exercise. Ease into your exercise.
- After warming up, increase the intensity to your desired exercise program. Be sure to maintain your intensity for maximum performance. Breathe regularly and deeply as you exercise.
COOL DOWN
Finish each workout with a light jog or walk for at least 1 minute. Then complete 5 to 10 minutes of stretching to cool down. This will increase the flexibility of your muscles and will help prevent post-exercise problems.
WORKOUT GUIDELINES
This is how your pulse should behave during general fitness exercise. Remember to warm up and cool down for a few minutes
The most important factor here is the amount of effort you put in. The harder and longer you work, the more calories you will bur
TROUBLESHOOTING
| PROBLEM | POTENTIAL CAUSES | CORRECTIONS |
|
Treadmill will not start. | 1. Treadmill not plugged in. 2. Safety Tether Key is not correctly installed. 3. Cisuit breaker in the house has been tripped. 4. Treadmill circuit breaker has been tripped. | 1. Plug the power cord into a wall outlet. 2. Reinstall the Safety Tether Key. 3. Reset the circuit breaker, or call an electrician to replace the circuit breaker. 4. Wait 5 minutes and then try to restart the treadmill. |
| Belt slips. | Belt not tight enough. | Adjust belt tension. |
| Belt hesitates when stepped on. | 1. Not enough lubrication applied onto the running deck. 2. Belt is too tight. | 1. Apply lubricant. 2. Adjust belt tension. |
| Belt is not centered. | Running belt tension not even across the rear roller. | Centre the belt. |
WARRANTY
- AUSTRALIAN CONSUMER LAW
Many of our products come with a guarantee or warranty from the manufacturer. In addition, they come with guarantees that cannot be excluded under the Australian Consumer Law. You are entitled to a replacement or refund for a major failure and compensation for any other reasonably foreseeable loss or damage.
You are entitled to have the goods repaired or replaced if the goods fail to be of acceptable quality and the failure does not amount to a major failure. Full details of your consumer rights may be found at www.consumerlaw.gov.au.
Please visit our website to view our full warranty terms and conditions:
https://www.lsgfitness.com.au/pages/warranty - WARRANTY AND SUPPORT
Please email us at [email protected] for all warranty or support issues.
For all warranty or support-related enquiries, please lodge a support ticket first by sending us an email



























