Williams Hussey 154CE Single Phase, 230V, AC Instruction Manual

Contact Information
Williams & Hussey Machine Co., Inc.
465 3rd Ave SE.
Britt, IA 50423
641–843–3240 (local)
800–258–1380 (toll free)
641–843–3869 (fax)
[email protected] (e–mail)
williamsnhussey.com (website)
Business Hours: Monday – Friday
8:30 am – 4:30 pm EST
THANK YOU for purchasing a Williams & Hussey Molder. Our molders have been manufactured in the United States since 1954. Our molders are built to last with little maintenance and easy set up. We are proud to produce a safe, quality, and versatile molder for our wood working customers.
Safety First! We encourage all operators to carefully read through this manual BEFORE using the molder. This manual provides instructions for assembling the molder to the machine base and wiring the control to the motor. The manual provides instructions how to operate the molder safely, how to mold, plane, tips on guide set ups and trouble shooting and much more.
Do Not Modify! Our molders are designed for specific applications. Do not modify or use this molder for any purpose other than what this manual describes as its capabilities. Substituting a motor with a horsepower rating over 2HP constitutes a modification. Any modifications or improper use to the molder may result in personal injury and will void the warranty.
Proper Knife Sizes! Our molders are intended to use knife sizes no larger than a 7” knife blank and depth of cut no deeper than ¾”. Modifications to these specifications could lead to the knives shattering possibly causing bodily injury.
Use The Operators Manual! This manual is designed to assist you in operating the molder safely, setting up the molder, proper application use, troubleshooting, parts listing and much more. Keep your manual available for future use.
Important! Read this manual before starting your molder, safety first!
If you have ANY questions regarding the set up, operation or proper applications please feel free to contact us.
WARRANTY INFORMATION
Molder – 1 Year Limited
Williams & Hussey Machine Co., Inc. warrants its molders for a period of one year from the original date of purchase.
WHAT IS COVERED?
The warranty covers any defects in workmanship or materials.
WHAT IS NOT COVERED?
The warranty does not cover damage due to; modifications, misuse, improper maintenance, normal wear, wood jams or using a knife motor with a horsepower rating over 2HP.
WHO IS COVERED?
The warranty covers the initial purchaser only.
LIMITATIONS ON WARRANTY
Williams & Hussey shall in no event be liable for death, injuries to persons or property, or for incidental, contingent, special, or consequential damages arising from the use of our products.
Motors, Controls & Elliptical Jig
Warranty covers any defects in workmanship or materials on original parts. Warranty does not cover defects due directly or indirectly to misuse, abuse, negligence or accidents, normal wear–and–tear, lack of maintenance, or improper repair or alteration.
VF–104 and VF–106
Refer to applicable motor and control warranties.
AUTHORIZATION FROM WILLIAMS & HUSSEY MACHINE AND TOOL CO. IS
REQUIRED BEFORE ITEMS ARE BETURNED FOR EVALUATION.
Molder Package Items:

NOTE: A plug is NOT supplied with our molder. Because of plug receptacle variations we do not include this with the molder purchase. Purchase the proper plug and follow the manufacturer’s instructions for proper installation.
Model 154CE Specifications

Optional Accessories:

Feel free to contact us by phone, fax, e–mail, or visit our website for molders, accessories, replacement parts and technical service. Our molders come with a lifetime guarantee of technical assistance!
SAFETY CHECK LIST
We encourage ALL operators of Williams & Hussey molders to carefully read this manual BEFORE operating the molder. Our molders are designed to specific applications and should NOT be modified. The Safety Checklist is for your safety and should be followed each time your molder is used.
Recommendation: It is recommended to always use a dust collection system with your molder.
This cuts down on dust, chips, and keeps your work area cleaner.
- Disconnect the power source BEFORE changing knives or servicing the molder.
- Wear safety glasses while operating the molder.
- Molder should be used on stable flooring. If using a mobile base, lock the wheels before starting the molder.
- Stand beside the molder, DO NOT stand in the way of the infeed or outfeed areas.
- Keep the knives sharp and clean. This also extends the life of your knives.
- Use clean stock, check for loose knots, nails, and foreign matter.
- When attaching knives use a bolt in each hole. Tighten knives and spin the knife arbor to check for knife clearance.
- Before starting the molder make sure the infeed and outfeed path is clear to run stock.
- Attach the chip extractor and secure with the axis pin.
Please continue reading this manual before running your molder!
PREPARING TO USE THE MOLDER
Steps 1–13 on pages 6–8 should be followed every time the molder is used. Understanding the molder and how to use it properly will ensure your safety, cut down on maintenance issues, and give your stock an excellent finish.
PLEASE READ ALL REFERENCED PAGES BEFORE STARTING YOUR MOLDER!
- SIZING STOCK – We recommend sizing stock on all (4) sides BEFORE running stock.
Stock should be “sized” before using. Planing all (4) sides within 1/32” of the finished molding size, stock should not extend beyond knife edges. Using dry, clean and sized stock will give a better finish and will aid in prolonging the knife life. See Page 15 for Planing. - POWER – Disconnect power source while preparing the molder.
Power should always be disconnected at the power source when not in use! The knife arbor spins at 6900 rpms, always make sure the knives are clear before powering molder up. Lack of power may be caused from improper wiring, follow the wiring instructions provided for proper wiring. - OIL – Check oil daily.
The gear box oil should be checked daily before starting or several times a day if running the molder continuously. The gear box holds 2 oz. of oil. The oil cup should be filled just to the top of the opening to the gear box. Some minor oil leaking is normal.
Do not overfill the oil cup; overfilling will result in the gearbox leaking. This is not a serious issue; eventually the molder will use the oil. We have found in older molders, worn shaft bushings are normally the cause of significant leakage.We recommend using our W&H Gear Box Oil. Our molders are shipped using Mobil Mineral Gear Oil, 600XP 460. Mobil 600XP, 460 is formulated to meet the stress by providing extra protection for gears, bearings & seals. Not using the proper oil or not maintaining oil levels will result in burned out gears and bearings. - CHIP EXTRACTOR – Remove the chip extractor to change knives.
The chip extractor is designed to be used in combination with a dust collection system. The chip extractor has been designed to keep most chip waste contained and into the dust collection system. Remove the chip extractor by removing the axis pin. When attaching the chip extractor, the plate should sit on the head of the molder evenly, insert the pin until you feel the “catch”, its now attached safely. DO NOT use the molder without the chip extractor safely attached! - KNIFE ATTACHMENT – The molder requires (2) knives, attach the knives using (1) screw for each hole.
The molder requires (2) knives (1 set) and screws to hold the knives safely in place. Use (1) screw for each knife hole. A 7/32” allen wrench and (8) screws have been provided with the molder. Knives should be clean and sharp and the molder arbor should be clean from any dust debris. NOTE: Do not use washers with screws; this may cause markings on the stock.
Knife attachment is for both molding and planing knives.
Set one knife at a time in place with the bevel edge positioned as shown in the illustration below. Push the knife firmly down against the arbor lip and sideways against the bolts in the direction of the tube side of the machine. Hold secure while tightening the bolts.
We do not recommend shimming out molding or planing knives - PLANING – Loosen the (4) 54–25 Pressure Screws exposing ¼” of thread. This will give you proper roller pressure.
Loosen all (4) pressure screws exposing ¼” of thread, this will give you correct roller pressure. Failure to do so will cause feeding difficulties and feed system damage. This is only done for planing; when molding; make sure the (4) pressure screws have been tightened. - GUIDES – Molding, set both guides to support the stock. Planing does not require guides but can be used if you prefer. One guide will be used when running wide boards.
Guides are used to align the knives with the stock and to secure the stock in place.
The molder came with a GS–2–1 Guide System with a set of Baltic Birch guides. See Page 9 for setting up guides. - SET THE HEAD – Molding; the (yellow) scale setting must be set to within 3/16” of the height of your stock entering the machine, compensating for any sub–plate thickness. Setting the head to the proper height will provide proper roller tension.
Use the locking handle to loosen or tighten head. Handle should always be tightened before using the molder. This cuts down on vibration.
The head is set when the knives have been attached, the stock and the knives are aligned, and the guide handles are locked in place. See Page 9.
When molding, the head scale setting must be set to within 3/16” of the height of the stock entering the molder, compensating for any sub plate thickness. This setting will provide proper roller tension. NOT setting the head at the correct height is not safe. - KNIFE CLEARANCE – After the head is set, spin the knife arbor to check for clearance.
Before running any stock through the molder it should be clear of extra bolts, wrenches and debris. The arbor spins at 6900 rpms, the only thing that should be in the path are the knives and the stock. - MOTOR TENSIONER – The machine base has a lock, called a motor tensioner. This was designed to cut back on motor vibration. Lock the motor in place by tightening the motor tensioner. You will need to adjust the motor tensioner each time you change your head setting.
To reduce tension, crank the head down to within ¼” of the actual setting and lock the motor. Reset the head to the ¼” lower running position and the tension will be reduced. You can vary the ¼” factor to achieve the tension desired.NOTE: Always unlock the motor before resetting the molder head height! - CHIP EXTRACTOR – Attach chip extractor with axis pin, when you feel the “catch”, the extractor is on securely.
- POWER – Power the molder on.
- FEED STOCK – Once all 12 steps have been followed run your stock. We recommend not standing to the infeed or out feed of the molder; stand to the side where the control is.
HOW TO MOLD
“SIZE” STOCK – See page 6, #1
SUB PLATE USE
A sub plate made of knife millable material is recommended to be used at all times, except when using the optional elliptical jig. The GS–2–1 Guide System included in your molder package has a ½” thick HDPE black texture sub plate. Some knives cut below the stock. If the knives cut below the stock the millable material will be cut into. If a sub plate has not been used and the steel knives hit the cast iron base this will result in the knives shattering. This is extremely dangerous and should be avoided at all times.
Some examples of knives that cut below the knife stock would be quarter rounds, half rounds, crowns, bed moldings and many more.
If you ordered a machine package a GS–2–1 Guide System was included in your shipment. The GS– 2–1 has a ½” thick black HDPE texture sub plate, this is considered millable material.
SETTING STOCK WITH THE GS–2–1
- A GS–2–1 guide system includes a ½” sub plate, a flex guide, a solid guide and the hardware.
- To set the guides, attach the knives to the knife arbor and position to the far right of the knife arbor. See page 7, #5, Knife Attachment.
- The flex guide and solid guide may be interchanged from one side to the other. Generally, you would want the flex guide on the highest side of the molding to protect it from being cut into by the long side of the knife. This will preserve your flex guide.
- Attach the flex guide (do not tighten) to the side of the profile that will cut the least deep into your stock. The beveled portion of the guide should be facing the stock.
- Attach the solid guide (do not tighten) on the other side of the stock.
- Place a sample piece of stock on the sub plate. Lower the molder head and point the knives toward the stock, knives should be positioned slightly above stock. Align knives and stock, when knives and stock are aligned lower molder head until rollers touch the stock.
- Press both guides against stock, tighten handles, pull handles up position them out of the stock path.
- Raise the molder head, remove the sample stock piece, and replace with the actual “sized” stock to be used. This allows you to make any additional adjustments to the guide tension if needed, stock should move freely between the guides.
SETTING THE SCALE FOR SINGLE OR MULTIPLE PASSES
The “0” on the yellow scale references the top of the GS–2–1 guide system ½” sub plate. Insert stock after head setting has been determined.
Full pass cut example: ¾” Stock, set scale at ¾” achieving a finished profile.
Multiple pass example: ¾” Stock, set scale up to 3/16” above stock thickness, run profile.
Continue lowering the head until the finished profile is achieved.
These settings allow you to achieve proper roller tension for holding the stock and providing a safe operation. Check knife rotation clearance by turning the knife arbor to insure.
NOTE: Some profiles may require a relief cut in the deep section with a roughing knife or dado cut. This cut relieves stress on the motor and lessens the load on the feed system.
Relieving deep cuts allows the molder to not bog down, will have less tear out.
OPERATIONAL TIPS
- Do not cut a wider stock area than the knife was designed to cut. This will cause excessive heat in the knife, burn your stock and puts a harmful load on the feed system.
- The roll pressure screws are set at maximum molding pressure from the factory. They are screwed into the head as far as possible and the check nut is tightened. This ensures proper roller tension.
MOLDING TECHNIQUES
When making guides for molding applications we recommend running a test piece through, top and bottom before cutting finished pieces. Store guides along with the knives for future use.
MOLDINGS THAT REQUIRE TOP & BOTTOM CUTS
Crown Top & Bottom

Key Cut Example
Some profiles require top and bottom cuts. Cut bottom profile first. After the bottom cuts have been made, change the knives over to the top profile knives.
For proper top and bottom alignment, the bottom bevel cut will need to be supported. A couple of options would be if ordering a bottom knife, you can have a key path cut as a guiding mechanism for your top profile. Option 2 would be making a set of angled guides similar to the “V” block guides. This will allow stability when cutting the top profile.
Rabbet/Dado
Some profiles require rabbet or dado cuts. Cut the rabbet or dado first. After the rabbet or dado cuts have been made, change the knives over to the profile knives.
Make a guide to support the rabbet or dado cut. This will allow stability when cutting the top profile.
Relief
Relief cuts maybe needed for casing profiles for flexibility to the surface. Cut the relief first. After the relief cut has been made, change the knives over to the profile knives. No special guide is needed.
SPECIAL GUIDE SET UP & KNIFE SHARPENING
“V” BLOCKS

“V” Block Example
The deepest cut that can be made on the molder is ¾”. If your depth of cut is greater than ¾” and you’re running straight molding a “V” block maybe your solution.
A “V” block is a cradle that is built from wood on angle(s). By elevating the stock at an angle, it enables you to maximize your use of the ¾” depth of cut.
TONGUE AND GROOVE
Inspect stock for cupping and warping before cutting. Plane stock to one uniform size, this will ensure the tongue and groove fit properly.
Wooden guides are required for cutting tongue and groove. Guide thickness should be 3/8” thinner than stock or the roller will scuff on the guides when the stock leaves the molder. When cutting thin stock fastens a sub plate between the guides to maintain a thick enough guide to control the stock.
Check the knife clearance to the guide. Clear away any interfering portion of the guide by gently lowering your knife down into the guides to just below the running position.
KNIFE SHARPENING
Keeping knives sharp will prolong the life of the knives and give stock a quality finish. Our standard technique is surface grinding the (back) of the knives. Sharpening the face may cause a change in the profile; we only use this technique if the sharpening can be performed without changing the profile.
Minimum thickness for molding knives is 5/32”
Minimum height for planing knives is 1 3/8”, angle should always be 57◦
Our in stock and custom knives are manufactured using M2 high speed steel flat or corrugated material. The molder requires (2) knives of the same profile. Our knives are sold in a set of 2.
CONSTANT RADIUS MOLDING
The molder has the capabilities to cut constant radius molding. A constant radius means the radius does not change. A changing radius will require the EJ–92 Elliptical Jig.
When molding constant or changing radius profiles the deep cut of the profile normally is on the open side of the molder. Using of the tube side will limit the radius. Our in stock and custom knives are manufactured with the deep cut on the open side of the molder.
TIP: When ordering custom knives specify deep cut location.
STOCK & TEMPLATE PREPARATION
This is one example of how to make a radius template and radius stock.
First determine the angle needed to cut the wood sections in order to stay within the selected radius. Lay out the wood sections by marking the angles while being careful to select cuts for grain structure and color. Cut the sections and biscuit join them together with glue.
Make a fixture to band saw the inside and outside radii consisting of a pivot bar and bracket. Mount the pivot bar to the stock on the scrap portion of the inside radius. The pivot bar is drilled with numerous holes to accommodate various radius sizes. Make sure the outside radius is cut first.
Make the guides to 20” long using the GS–2–1 guide system. The guides may be made using the band saw set up. Make one guide for the inside radius and one for the outside radius.
SET UP
Curved Guides & Stock Example
- Disconnect power source.
- Attach the knives.
- Raise molder head and set the stock on the sub plate.
- Align the stock with the molding profile.
- Lower the head to pinch the stock.
- Set the guides and lock in place.
- Raise the molder head, remove the stock, and reset the head to within 3/16” of stock thickness.
- Check knife area for clearance.
- Attach the chip extractor with the axis pin.
- Power up and feed stock.
CAUTION: DO NOT ATTEMPT CLOSED LOOP MOLDING
This can cause knife breakage.
CHANGING RADIUS SET UP
Our EJ–92 Elliptical Jig is required.
RAISED PANEL MOLDING
NOTE: Panel must always have 9” for rollers to engage
Our in stock panel knives are designed to produce a ¼” tongue on stock sizes ¾” or 5/8”. Select a panel knife based on the finished panel thickness. A panel must be 9” or more in the direction you are molding in order to not have the panel come off of one roller before it engages the second roller. When using multiple passes you must always have at least 9” of panel remaining in the direction of the cut, maintaining roller pressure.
In this example the straight guide is used on our sub plate toward the tubes. Normally raised panels would exceed sub plate capacity. In the case of wide panels where only one guide can be used, the operator will need to assist the panel through the molding process.
HELPFUL TIPS
- Most panels will extend beyond the open side.
- While molding raised panels apply upward pressure on panel along with pressure against the guide.
- There is approximately 1/32” clearance between the top of the panel and the head of the molder if the head is at stock size setting.
- Modifying tongue size or making deeper cuts will cause imperfections on the stock. Avoid setting the head below stock size.
THE SET UP
- Disconnect power source.
- Attach the knives.
- Raise molder head and set the stock on the sub plate.
- Align the stock with the molding profile.
- Lower the head to pinch the stock.
- Set the guide and lock in place.
- Raise the molder head, remove the stock, and reset the head to within 3/16” of stock thickness.
- Check knife area for clearance.
- Attach the chip extractor with the axis pin.
- Stand somewhere between the open side and infeed side to assist panel through. Mold the panel cross grain ends first.
- Power up and feed stock.
PLANING
The planing operation removes excess wood from rough lumber to create a uniform smooth surface. Plane rough lumber on all (4) sides until you reach the dimensional wood stock size.
The amount of stock removed in one pass is dependent on the density of the wood (relative hardness), how wide the cut is, and the moisture content of the stock. The chart below refers to general guidelines planing depth of cut.
GENERAL GUIDELINES FOR DEPTH OF CUT

THE SET UP
- Disconnect power source.
- Loosen all (4) 54–25 pressure screws ¼” (see caution note).
- Attach the planing knives.
- Set the head position to a height 1/32” less than the dimension of the stock.
- One–third of a turn on the elevating handle will equal 1/32”. Tighten the locking handle.
- Check knife area for clearance.
- Attach the chip extractor with the axis pin.
- Stand somewhere between the open side and in feed side to assist panel through.
- Power up and feed stock.
PLANING THE EDGE OF STOCK

When planing the edge of stock, a high, square, relieved guide is needed in order to have the edge square and to provide stability.
To reduce friction, relieve inside of both guides.
CAUTION! When using the molder as a planer back off all (4) 54–25 pressure screws ¼”, this will provide less roller tension. Too much tension could risk shearing the P–223 roll pin in the P–108
Rev A large bronze worm gear and will minimize snipe.
WIDE BOARDS
Our molders are open ended allowing stock to cut wide boards such as base boards and raised panel doors. Wide stock cuts may need support from the open ended side. Below are some guidelines to follow for this application.
HELPFUL TIPS
● Larger pieces such as a door two people or supports on each end of the molder may be needed to allow the operator to apply pressure on the stock as it feeds through.
1. Stand somewhere between the open side and the infeed side to assist stock through.
2. While molding apply upward pressure on the stock along with pressure against the guide.
3. Page 14, details how to run “Raised Panel Molding” wide boards is a similar process.
THE SET UP
- Disconnect power source.
- Attach the knives.
- Raise molder head and set the stock on the sub plate.
- Align the stock with the molding profile.
- Lower the head to pinch the stock.
- Set the guide and lock in place.
- Raise the molder head, remove the stock, and reset the head to within 3/16” of stock thickness.
- Check knife area for clearance.
- Attach the chip extractor with the axis pin.
- Stand somewhere between the open side and in feed side to assist panel through.
- Power up and feed stock.
TROUBLESHOOTING
CHATTER – Chatter marks are irregularities in the finish quality of the surface of the wood. They can be evenly spaced or randomly distributed.
Chatter marks are caused by vibration. Below is a list of possible causes of vibration.
- Is the head locked in place?
- Is the motor tensioner locked?
- Is the head height set correctly?
o If the head setting is incorrect this could cause lack of proper roller tension. - Are your knives sharp?
o Dull knives cause intermittent feeding. - How is the belt condition?
o Belt should be running smoothly. Belt should be aligned on the pulley correctly.
SNIPE – Snipe is generally an undercut in the stock. It occurs in the first and last few inches of the stock length. Snipe occurs when the knives hit the stock before outfeed roller engages and when the stock leaves infeed roller. The suggestions below are to minimize snipe.
- Use a jointer for cupped, warped, or twisted stock.
- Lock the head in place.
- Butt the stock pieces tight end to end.
- Put slight upward pressure during infeed and outfeed operation.
- If using infeed and out feed supports for long boards, set supports slightly higher than the molder bed.
- Use slightly longer stock length than needed and cut off snipe.
STOCK MARKS – Along with chatter & snipe another cause of irregular marks on stock would be using incorrect knife attaching screws. Our molders are shipped with (12) 3/8–16 X 1” button head cap screws. Use (1) screw for each hole on the knife, do NOT use a washer. Adding to the height of the screw may result in the screw head hitting the stock causing marks.
FEEDING PROBLEMS
- The stock stops but the feed–rollers continue to turn. This is a traction or friction problem.
● Make sure the stock is not binding in the guides.
● Make sure the stock is of consistent width. Sizing stock is recommended.
● Make sure the stock is the proper width for the knife profile.
● Make sure the head is set at the correct height.
● Check the rollers for wear or residue.
● Check the pressure screw tension. - One roller stops while the other continues to operate.
● Make sure the set screws on the P–111 sprockets are tight. - Both feed rollers stop when stock is engaged.
● Check for a broken P–223 roll pin located in P–108 Rev A bronze gear, located in the gearbox.
● Insert a straightened paper clip through roll pin hole. Roll pin is damaged and will need to be replaced if the paperclip does not go through both ends. - Both feed rollers will not turn with or without stock.
● Check for a broken P–117 fiber drive, located in the knife arbor.
● Check for a broken P–203 primary shaft, located in the gearbox.
● Check for a stripped P–105 small bronze worm gear, located in the gearbox
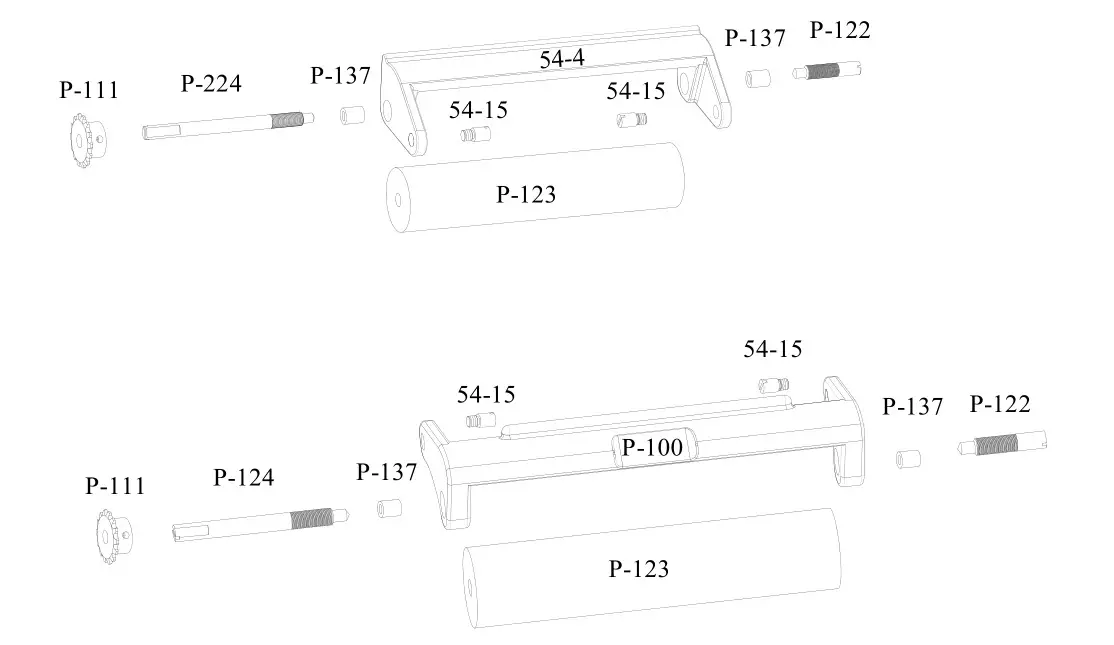
REMOVING FEED ROLLS
If axles are removed easily, they can be reused. In some cases, the P–122 short axle will not remove easily, mainly because thread locker has been used. If you have difficulty removing the P–122 short axle you will need to use a hack saw to cut it, in this case you will not be able to reuse the feed roll.
- Disconnect power source. Remove the 54–514 chip extractor and raise the 54–2 Rev A molder head.
- Remove all (4) of the following (if changing both feed rolls):
54–25 pressure screws
54–26 spring guides
54–24 REV A roller pressure springs
54–51 check nuts - Remove the (2) 54–15 pivot screws from the 54–505 infeed swing arm assembly. Remove the swing arm by rolling it over the 54–16 rest pin, disconnecting it from the chain and leaving the chain connected to P–150 drive sprocket. Same steps for the 54–506 outfeed swing arm assembly.
- Take the P–111 chain sprocket off the swing arm P–124 axle (infeed) or P–224 axle (outfeed).
Remove feed roll. - To remove feed roll from the swing arm place the feed roller in a vise lengthwise. Use two adjustable wrenches and attach to the flat on the P–124 or P–224 sprocket axle and remove the axle. Using a screwdriver, push in as hard as you can while using a wrench on the square shank of the screwdriver and remove P–122 short axle.
INSTALLING FEED ROLLS
- Follow Steps 1–5; Removing Feed Rolls.
- When installing the axles, the feed roll should be inside the swing arm casting. NOTE: Proper placement of axles and orientation of swing arms is critical. Refer to illustration below.
- Each roll has a shallow hole in one side and a deep hole in the other. There is a reamed section at the end of each hole. The P–122 short axle end has a ¼” depth reamed section.
- Install the P–122 short axle in the ¼” depth reamed section using thread locker. Install the P–124 or P–224 axle in the deep reamed hole. NOTE: P–122 should be installed using thread locker, P–124 & P–224 do NOT use thread locker.
- Place the P–124 or P–224 axle in a vise with the flat on the shaft against one of the vises. The roller will be standing up vertically.
- Put a couple drops of thread locker on the P–122 axle and insert the axle into the swing arm casting and roller and screw in the axle loosely tightly. Grasp the roller with both hands and tighten it against the P–124 or P–224 axle. Go back and finish tightening the P–122 axle as hard as you can.
- Replace the P–111 sprocket on the P–124 or P–224 axle.
- 54–505 Infeed Swing Arm Assembly Installation:
● Insert the 54–505 Infeed Swing Arm Assembly into the 54–2 Rev A head casting from the underside of the head casting.
● Install the 54–505 assembly up and over the 54–16 rest pin.
● Engage the P–155 short chain onto the P–111 sprocket.
● Install the (2) 54–15 pivot screws using a couple drops of thread locker.
● Double check to see that the chain is properly engaged on the P–111 sprocket. - 54–506 Outfeed Swing Arm Assembly Installation:
● Insert the 54–506 Outfeed Swing Arm Assembly into the 54–2 Rev A head casting from the underside of the head casting.
● Install the 54–505 assembly up and over the 54–16 rest pin.
● Engage the P–156 long chain onto the P–111 sprocket.
● Install the (2) 54–15 pivot screws using a couple drops of thread locker.
● Double check to see that the chain is properly engaged on the P–111 sprocket. - Install the 54–25 pressure screws, 54–26 spring guides, 54–24 REV A roller pressure springs and the 54–51 check nuts.
REMOVING THE P–511 REV A GEAR BOX, COMPLETE, ASSEMBLY
Follow these instructions for removing the gear box. The gear box is composed of the (3) gear assemblies. If you are experiencing feed function difficulties a part may need to be replaced.
- Disconnect power source. Remove the chip extractor and raise head approximately 4”.
- Turn the knife arbor so the 54–42 set screw located in the infeed P–111 sprocket is facing down. From the underside of the P–202 chain guard loosen the set screw located in the hub of the sprocket.
- Remove the (2) P–240 hex head bolts and (1) P–239 hex head bolt from the P–202 chain guard.
- To remove the gear box assembly; remove the infeed P–111 sprocket and the P–155 short chain simultaneously. Remove the P–156 long chain once the gear box is partially free.
- Check the following:
● The P–117 fiber drive will be in the end of the arbor, unless the fiber drive broke.
● The P–111 (Outfeed) roller sprocket will be attached to the P–224 axle.
● The P–111 (Infeed) roller sprocket will be attached to the P–124 axle.
REMOVE THE GEAR BOX
- Loosen set screws on the (2) P–150 drive sprockets located in the gear box assembly. Remove the sprockets from the P–210 drive shaft.
- Remove the P–213 nylon bushing and P–214 nylon washer.
- Drain the oil.
- Remove (4) P–220 socket head cap screws holding gear box onto the chain guard.
- Tap on the P–502 shaft and the P–504 shaft with a soft mallet to separate the two housings.
- Carefully drive out the P–504 large bronze gear assembly from the outside of the gear box with a ¼” pin punch. Watch for small P–127 spacer and the P–120 spacer.
- From the outside of the gear box drive out the P–143 1/8” dowel pin with a punch. From the inside of the gear box, using a screwdriver gently tap out the P–115 plug bushing.
- Remove the P–503 secondary shaft assembly (small bronze gear) from the open side of the gear box.
- Remove the P–502 primary shaft assembly (small worm and slotted end shaft).
- Replace damaged part (s). We recommend replacing the P–128 gasket.
- Reassemble gear box.
● P–502 assembly
● P–503 assembly
● Align the slot in the P–115 plug bushing by looking through the hole of where the P–143 1/8” dowel pin goes. Tap in dowel pin until the pin is flush with the outside of the gear box housing.
● P–504 assembly (the P–127 washer will need to be attached to the hub of the P–108 Rev A; large bronze gear) Slide the P–120 spacer onto the shaft.
● Replace the P–128 Gasket
INSTALLING THE GEAR BOX TO CHAIN GUARD
- Attach the gear box to the chain guard using the (4) P–220 socket head cap screws. (do not forget to attach the P–128 gasket in between the gear box and the chain guard)
- Attach the P–213 nylon bushing to the P–203 shaft (slotted)
- Attach the P–214 nylon washer to the P–203 shaft (slotted)
- Attach the (2) P–150 sprockets to the P–210 drive shaft (P–504 assembly) Sprocket hubs need to face toward the chain guard leaving a 1/32” gap between the inner sprocket and the chain guard. The second sprocket should be tight to the first sprocket.
- Tighten the 54–42 set screws in each of the P–150 sprockets on the flat of the P–210 drive.
- Droop the chain over and under the P–213 nylon bushing and against the P–214 nylon washer.
- Line up the P–156 long chain onto the outfeed P–111 sprocket with the inner P–150 sprocket closest to the chain guard.
- Attach the P–155 short chain over the second P–150 sprocket. Engage the P–111 infeed sprocket, hub facing toward roller, set screw facing downward (do not install on shaft yet).
- With the (2) P–240 hex head bolts and (1) P–239 hex head bolt handy pick up the gear box assembly and engage the P–156 long chain on the outfeed P–111 sprocket. Engage the infeed P–111 sprocket simultaneously lining up the P–203 primary shaft and P–117 fiber drive that should be in knife arbor slot.
- Attach the (3) bolts to the head casting, tighten only the P–239 bolt. Will tighten the (2) P–240 bolts in Step 15.
- Line up the P–155 short chain onto the infeed P–111 sprocket with the outer P–150 sprocket.
Tighten the infeed P–111 sprocket set screw on the axle flat. - Fill the gear box with approximately 2 oz of oil. The oil level resting should only be at the top of the opening hole of the gear box. If you overfill the gear box will leak. Some minor oil leaking is normal.
- Check for knife clearance.
- Attach the chip extractor with 54–14 axis pin.
- With an adjustable wrench handy start the molder. Adjust the chain guard (if needed) until you achieve a smooth running sound. Loosen the P–239 bolt if needed. This position will be when the primary shaft is most centrally located in the end of the arbor. When the position is achieved tighten the (1) P–239 first and then tighten the (2) P–240 bolts.
EXPLODED VIEW 154CE MOLDER

EXPLODED VIEW FEED ROLL ASSEMBLIES


SHAFT ASSEMBLIES

MODEL 154CE PARTS LIST

MODEL 154CE BREAKDOWN OF ASSEMBLIES PARTS LIST
Parts can be ordered as individual items or by the assembly

FEED ROLL KITS ARE RECOMMENDED FOR REPLACEMENTS
Feed roll kits include the following: 2 feed rolls, 4 axles & thread locker.
Refer to page 18 for more details
P–123–K Feed Roll, Yellow, Kit 1
Recommended for short runs, single passes and profiles with soft edges.
P–170–K Feed Roll, Green/Green, Kit 1
Recommended for long runs, multiple passes and profiles with sharp edges
MODEL 154CE BREAKDOWN OF ASSEMBLIES PARTS LIST
Parts can be ordered as individual items or by the assembly.

















