BLACK DECKER ST182320 Trimmer Battery Powered Edge

Product Information
The BLACK+DECKER ST182320 trimmer is a handheld appliance designed for trimming and finishing lawn edges and cutting grass in confined spaces. This appliance is intended for consumer use only and comes with a power supply unit. The intended use, safety instructions, and residual risks associated with the product are described in the user manual.
Product Usage Instructions
When using the BLACK+DECKER ST182320 trimmer, always take care and follow the safety instructions provided in the user manual to reduce the risk of fire, electric shock, personal injury, and material damage. Always use safety glasses or goggles when using mains-powered appliances. Keep children, persons with reduced physical, sensory or mental capabilities or lack of experience and knowledge, or people unfamiliar with these instructions away from the work area or appliance. Only use the appliance in daylight or good artificial light and in a dry location. Do not allow the appliance to become wet or immerse it in water. Avoid using the appliance in bad weather conditions, especially when there is a risk of lightning. Do not open the body casing or operate the appliance in explosive atmospheres, such as in the presence of flammable liquids, gases, or dust. After use, store the appliance in a dry, well-ventilated place out of reach of children. Close supervision is necessary when the appliance is used near children. The appliance is only to be used with the power supply unit provided with the appliance.
intended use
Your BLACK+DECKER ST182320 trimmer has been designed for trimming and finishing lawn edges and to cut grass in confined spaces. This appliance is intended for consumer use only.
Safety instructions
Warning! When using mains powered appliances, basic safety precautions, including the following, should always be followed to reduce the risk of fire, electric shock, personal injury and material damage.
Warning! When using the machine the safety rules must be followed. For your own safety and bystanders please read these instructions before operating the machine. Please keep the instructions safe for later use.
- Read all of this manual carefully before operating the appliance.
- The intended use is described in this manual. The use of any accessory or attachment or the performance of any operation with this appliance other than those recommended in this instruction manual may present a risk of personal injury.
- Retain this manual for future reference. Using your appliance Always take care when using the appliance.
- Always use safety glasses or goggles.
- Never allow children, persons with reduced physical, sensory or mental capabilities or lack of experience and knowledge or people unfamiliar with these instructions to use the machine, local regulations may restrict the age of the operator.
- Never operate the machine while people, especially children, or pets are nearby.
- Do not allow children or animals to come near the work area or to touch the appliance.
- Close supervision is necessary when the appliance is used near children.
- This appliance is not intended for use by young or infirm persons without supervision.
- This appliance is not to be used as a toy.
- Only use the appliance in daylight or good artificial light.
- Use in a dry location only. Do not allow the appliance to become wet.
- Avoid using the appliance in bad weather conditions, especially when there is a risk of lightning.
- Do not immerse the appliance in water.
- Do not open the body casing. There are not user-serviceable parts inside.
- Do not operate the appliance in explosive atmospheres, such as in the presence of flammable liquids, gases or dust.
- The appliance is only to be used with the power supply unit provided with the appliance.
Residual risks
Additional residual risks may arise when using the tool which may not be included in the enclosed safety warnings. These risks can arise from misuse, prolonged use etc. Even with the application of the relevant safety regulations and the implementation of safety devices, certain residual risks can not be avoided. These include
- Injuries caused by touching any rotating/moving parts.
- Injuries caused when changing any parts, blades or accessories.
- Injuries caused by prolonged use of a tool. When using any tool for prolonged periods ensure you take regular breaks.
- Impairment of hearing.
- Health hazards caused by breathing dust developed when using your tool (example:- working with wood, especially oak, beech and MDF.)
After use
- When not in use, the appliance should be stored in a dry, well ventilated place out of reach of children.
- Children should not have access to stored appliances.
- When the appliance is stored or transported in a vehicle it should be placed in the boot or restrained to prevent movement following sudden changes in speed or direction.
inspection and repairs
- Before use, check the appliance for damaged or defective parts. Check for breakage of parts and any other conditions that may affect its operation.
- Do not use the appliance if any part is damaged or defective.
- Have any damaged or defective parts repaired or replaced by an authorised repair agent.
- Never attempt to remove or replace any parts other than those specified in this manual. Safety of others
- This appliance can be used by children aged from 8 years and above and persons with reduced physical, sensory or mental capabilities or lack of experience and knowledge if they have been given supervision or instruction concerning use of the appliance in a safe way and understand the hazards involved.
- Children shall not play with the appliance. Cleaning and user maintenance shall not be made by children without supervision.
Vibration
The declared vibration emission values stated in the technical data and the declaration of conformity have been measured in accordance with a standard test method provided by EN50636 and may be used for comparing one tool with another. The declared vibration emission value may also be used in a preliminary assessment of exposure.
Warning! The vibration emission value during actual use of the power tool can differ from the declared value depending on the ways in which the tool is used. The vibration level may increase above the level stated.
When assessing vibration exposure to determine safety measures required by 2002/44/EC to protect persons regularly using power tools in employment, an estimation of vibration exposure should consider,
the actual conditions of use and the way the tool is used, including taking account of all parts of the operating cycle such as the times when the tool is switched off and when it is running idle in addition to
the trigger time.
Additional safety instructions for grass trimmers
Warning! Cutting elements continue to rotate after the motor is switched off.
- Be familiar with the controls and the proper use of the appliance.
- Always remove the battery from the appliance whenever the appliance is unattended, before clearing a blockage, before cleaning and maintenance, after striking a foreign object. Or whenever the appliance starts vibrating abnormally.
- Wear stout shoes or boots to protect your feet.
- Wear long trousers to protect your legs.
- Before using the appliance, check that your cutting path is free from sticks, stones, wire and any other obstacles.
- Only use the appliance in the upright position, with the cutting line near the ground. Never switch the appliance on in any other position.
- Move slowly when using the appliance. Be aware that freshly cut grass is damp and slippery.
- Do not work on steep slopes. Work across the face of slopes, not up and down.
- Never cross gravel paths or roads while the appliance is running.
- Never touch the cutting line while the appliance is running.
- Do not put the appliance down until the cutting line has come to a complete standstill.
- Use only the appropriate type of cutting line. Never use metal cutting line or fishing line.
- Be careful not to touch the line trimming blade.
- Keep hands and feet away from the cutting line at all times, especially when switching on the motor.
- Before using the appliance and after any impact, check for signs of wear or damage and repair as necessary.
- Never operate the appliance with damaged guards or without guards in place.
- Take care against injury from any device fitted for trimming the filament line length. After extending new cutter line always return the machine to its normal operating position before switching on.
- Always ensure that the ventilation slots are kept clear of debris.
Additional safety instructions for batteries and chargers
Batteries
- Never attempt to open for any reason.
- Do not expose the battery to water.
- Do not store in locations where the temperature may exceed 40 °C.
- Charge only at ambient temperatures between 10 °C and 40 °C.
- Charge only using the charger provided with the tool.
- When disposing of batteries, follow the instructions given in the section “Protecting the environment”.
Chargers
- Use your BLACK+DECKER charger only to charge the battery in the tool with which it was supplied. Other batteries could burst, causing personal injury and damage.
- Never attempt to charge nonchargeable batteries.
- Have defective cords replaced immediately.
- Do not expose the charger to water
- Do not open the charger.
- Do not probe the charger.
The charger is intended for indoor use only.
Read the instruction manual before use.
Electrical safety
Your charger is double insulated; therefore no earth wire is required. Always check that the mains voltage corresponds to the voltage on the rating plate. Never attempt to replace the charger unit with a regular mains plug.
- If the supply cord is damaged, it must be replaced by the manufacturer or an authorised BLACK+DECKER Service Centre in order to avoid a hazard.
labels on appliance
The following pictograms are shown on the tool along with the date code
Read the manual prior to operation.
Wear safety glasses or goggles when operating this appliance.
Wear suitable ear protectors when operating this appliance.
Always remove the battery from the appliance before performing any cleaning or maintenance.
Beware of flying objects. Keep bystanders away from the cutting area.
Do not expose the appliance to rain or high humidity.
Directive 2000/14/EC guaranteed sound power.
Features
This appliance includes some or all of the following features.
- Trigger
- Lock off button
- Handle
- Auxiliary handle
- Height adjust collar
- Trimmer head
- Edge guide
- Guard
- Spool housing
- Battery
Charging the battery (Fig. A)
The battery needs to be charged before first use and whenever it fails to produce sufficient power on jobs that were easily done before. The battery may become warm while charging; this is normal and does not indicate a problem.
Warning! Do not charge the battery at ambient temperatures below 10 °C or above 40 °C. Recommended charging temperature: approx. 24 °C.
note: The charger will not charge a battery if the cell temperature is below approximately 10 °C or above 40 °C. The battery should be left in the charger and the charger will begin to charge automatically when the cell temperature warms up or cools down.
- Plug the charger into an appropriate outlet before inserting the battery pack.
- Insert the battery pack into the charger.

- The green LED will flash indicating that the battery is being charged.

- The completion of charge is indicated by the green LED remaining on continuously. The pack is fully charged and may be used at this time or left in the charger
Warning! Recharge discharged batteries as soon as possible after use or battery life may be greatly diminished.
Charger diagnostics
This charger is designed to detect certain problems that can arise with the battery packs or the power source. Problems are indicated by one LED flashing in different patterns.
Bad Battery
The charger can detect a weak or damaged battery. The red LED flashes in the pattern indicated on the label. If you see this bad battery blink pattern, do not continue to charge the battery. Return it to a service centre or a collection site for recycling
hot/Cold Pack Delay
When the charger detects a battery that is excessively hot or excessively cold, it automatically starts a Hot/Cold Pack delay, suspending charging until the battery has normalized. After this happens, the charger automatically switches to the Pack Charging mode. This feature ensures maximum battery life. The red LED flashes in the pattern indicated on the label when the Hot/Cold pack delay is detected.
Leaving the battery in the charger
The charger and battery pack can be left connected with the LED glowing indefinitely. The charger will keep the battery pack fresh and fully charged.
Important charging notes
- Longest life and best performance can be obtained if the battery pack is charged when the air temperature is between 65°F and 75°F (18°- 24 °C). DO NOT charge the battery pack in an air temperature below +40°F (+4.5°C), or above +105°F (+40.5°C). This is important and will prevent serious damage to the battery pack.
- The charger and battery pack may become warm to touch while charging. This is a normal condition, and does not indicate a problem. To facilitate the cooling of the battery pack after use, avoid placing the charger or battery pack in a warm environment such as in a metal shed, or an uninsulated trailer
- If the battery pack does not charge properly:
- Check current at receptacle by plugging in a lamp or other appliance
- Check to see if receptacle is connected to a light switch which turns power off when you turn out the lights.
- Move charger and battery pack to a location where the surrounding air temperature is approximately 65°F – 75°F (18°- 24°C).
- If charging problems persist, take the appliance, battery pack and charger to your local service center.
- The battery pack should be recharged when it fails to produce sufficient power on jobs which were easily done previously. DO NOT CONTINUE to use under these conditions. Follow the charging procedure. You may also charge a partially used pack whenever you desire with no adverse affect on the battery pack.
- Foreign materials of a conductive nature such as, but not limited to, steel wool, aluminium foil, or any buildup of metallic particles should be kept away from charger cavities. Always unplug the charger from the power supply when there is no battery pack in the cavity. Unplug charger before attempting to clean.
- Do not freeze or immerse charger in water or any other liquid.
Warning! Shock hazard. Do not allow any liquid to get inside charger. Never attempt to open the battery pack for any reason. If the plastic housing of the battery pack breaks or cracks, return to a service center for recycling.
installing and removing the battery pack from the appliance
Warning! Make certain the lock-off button is not engaged to prevent switch actuation before removing or installing battery.
- To install battery pack
Insert battery (10) into appliance until an audible click is heard (Figure B). Ensure battery pack is fully seated and fully latched into position. - To remove battery pack
Depress the battery release button (11) as shown in Figure C and pull battery pack out of appliance.
Assembly
Warning! Before assembly, make sure that the tool is switched off and the battery has been removed.
Assembly tools required (not supplied): Phillips Screwdriver.
Fitting the guard (Fig. D, E)
Warning! Remove the battery from the appliance before attempting to attach the guard, edge guide or handle. Never operate appliance without guard firmly in place. The guard must always be on the appliance to protect the user.
- Remove the screw from the guard.
- Turn the trimmer upside down so that you are looking down at the spool cap (16).
- Turn the guard (8) upside down and slide it fully onto the motor housing (12). Make sure the tabs (13) on the guard slip into the holes (14) of the motor housing as shown in Figure D.
- Continue to slide the guard on until you hear it “snap” into place.
- Using a Philips screwdriver, insert the guard screw and tighten securely as shown in Figure E to complete the guard assembly.
- Once the guard is installed, remove the covering from the line cut-off blade, located on the edge of the guard.
Warning! Never use the tool unless the guard is properly fitted.

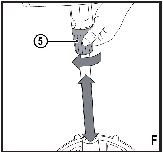
height adjustment (Fig. F, g–g3)
Warning! Adjust the length of the trimmer to obtain proper working positions shown in Figures G–G3.
- The overall height of the trimmer can be adjusted by loosening the height-adjust collar (5) and rotating it in the direction of the arrow shown in Figure F.
- Move the upper housing straight up or down. When the desired height is achieved, tighten the collar by rotating it opposite of the direction shown in Figure F.



Releasing the cutting line
In transit, the cutting line is taped to the spool housing.
- Remove the tape holding the cutting line to the spool housing.
Operation
- Warning! Always use proper eye protection.
- Warning! Before you begin trimming, only use the appropriate type of cutting line.
- note: Inspect area to be trimmed and remove any wire, cord, or string-like objects which could become entangled in the rotating line or spool. Be particularly careful to avoid any wire which might be bent outwardly into the path of the appliance, such as barbs at the base of a chain link fence.
Switching on and off
- To switch the appliance on, push the lock-off button (2), and squeeze the trigger (1).
- To switch the appliance off, release the trigger.
Operating the trimmer (Fig. F, g–g3)
- With the unit on, angle unit and slowly swing the trimmer side to side as shown in Figure G.
- Maintain a cutting angle of 5° to 10° as shown in Figure G1. Do not exceed 10° (Figure G2). Cut with the tip of the line. To keep distance from hard surfaces use edge guide (7).

- Maintain a minimum distance of 600mm between the guard and your feet as shown in Figure G3. To achieve this distance adjust the overall height of the trimmer as shown in Figure F.

Convert to edging mode (Fig. h, i)
Warning! When being used as an Edger, stones, pieces of metal and other objects can be thrown out at high speed by
the line. The trimmer and guard are designed to reduce the danger. However, MAKE SURE that other persons and pets are at least 30 m away. Optimum cutting results are achieved on edges deeper than 50 mm.
- Remove the battery from the trimmer.
- To operate as a maintenance edger, turn the collar (5) as shown in part 1 of Figure H.
- Hold the metal shaft and rotate the lower housing 180° as shown in part 2.
- Turn the collar until tight.
- Lift the edge guide (7) into the edging position as shown in Figure I.
- Position the trimmer above the surface as shown in Figure J.
- Return to the trimming position by loosening the lock collar and rotating the lower housing back 180°. Turn the collar until tight.


Helpful cutting tips
- Use the tip of the string to do the cutting; do not force string head into uncut grass. Use edge guide along such things as fences, houses and flower beds for best practices.
- Wire and picket fences cause extra string wear, even breakage. Stone and brick walls, curbs, and wood may wear string rapidly.
- Do not allow spool cap to drag on ground or other surfaces.
- In long growth cut from the top down and do not exceed 300 mm high.
- Keep trimmer tilted toward the area being cut; this is the best cutting area.
- The trimmer cuts when passing the unit from the right to left. This will avoid throwing debris at the operator.
- Avoid trees and shrubs. Tree bark, wood moldings, siding, and fence posts can easily be damaged by the string.
Cutting line / line feeding
- Your trimmer uses 1.65 mm diameter, Round nylon line. During use, the tips of the nylon lines will become frayed and worn and the special self feeding spool will automatically feed and trim a fresh length of line. Cutting line will wear faster and require more feeding if the cutting or edging is done along sidewalks or other abrasive surfaces or heavier weeds are being cut.
- The advanced automatic line feeding mechanism senses when more cutting line is needed and feeds and trims the correct length of line whenever it’s required. Do not bump unit on ground in attempt to feed line or for any other purposes.
Clearing jams and tangled line (Fig. K, L, M)
Warning! Remove the battery from the trimmer before making any assembly, adjustments or changing accessories. Such preventive safety measures reduce the risk of starting the appliance accidentally. From time to time, especially when cutting thick or stalky weeds, the line feeding hub may become clogged with sap or other material and the line will become jammed as a result. To clear the jam, follow the steps listed below.
- Remove the battery from the trimmer.
- Press the release tabs (15) on the line spool cap (16), as shown in Figure K and remove the cap by pulling it straight off.
- Pull the nylon line spool out and clear any broken line or cutting debris from the spool area.
- Place spool and line into spool cap with line “parked” in slots provided as shown in Figure L1.
- Insert the line end through the appropriate hole in the spool housing. Pull slack line through until it pulls out of the holding slots as shown in Figure L2.
- Press the spool down gently and rotate it until you feel it drop into place and then push to snap into place. (When in place, the spool will turn a few degrees left and right freely).
- Take care to keep the line from becoming trapped under the spool.
- Align the spool cap tabs with the slots on the spool housing.
Snap the spool cap back on as shown in Figure M by depressing lugs and pressing into spool housing.

note: Make sure that cover is fully positioned, listen for two audible clicks to ensure both lugs are correctly located. Power the appliance on. In a few seconds or less you’ll hear the nylon line being cut automatically to the proper length.
Warning! To avoid appliance damage, if the cutting line protrudes beyond the trimming blade, cut it off so that it just reaches the blade.
note: Other replacement parts (guards, spool caps, etc.) are available through BLACK+DECKER service centers. To find your local service location visit www.blackanddecker.com.
Warning! The use of any accessory not recommended by BLACK+DECKER for use with this appliance could be hazardous.
Replacing the spool (Fig. K, l, M, n)
- Remove battery from appliance.
- Depress the tabs (15) and remove the spool cap (16) from the spool housing (17) (Figure K).
- Grasp empty spool with one hand and spool housing with other hand and pull spool out.
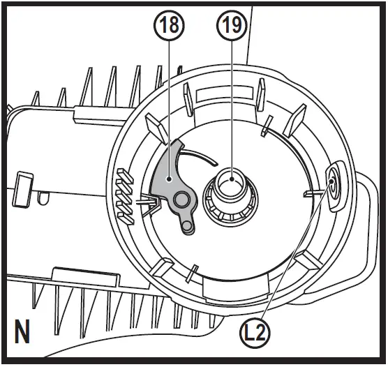
- If lever (18) (Figure N) in base of housing becomes dislodged, replace in correct position before inserting new spool into housing.
- Remove any dirt and grass from the spool and housing.
- Unfasten the end of the cutting line and guide the line into the eyelet (L2) Figure L.
- Take the new spool and push it onto the boss (19) (Figure N) in the housing. Rotate the spool slightly until it is seated. The line should protrude approximately 136 mm from the housing.
- Align the tabs on the spool cap with the slots in the housing (Figure M).
- Push the cap onto the housing until it snaps securely into place.

Rewinding spool from bulk line (Fig. O, P, Q)
Bulk line is also available for purchase from your local retailer.
Note: Hand wound spools from bulk line are likely to become tangled more frequently than BLACK+DECKER factory wound spools. For best results, factory wound spools are recommended. To install bulk line, follow the steps below
- Remove battery from appliance.
- Remove the empty spool from the appliance as described in “Replacing the spool
- Remove any remaining cutting line from the spool.
- Make a fold at the end of the cutting line at about 19 mm (20). Feed the cutting line into one of the line anchoring slots (21) as shown in Figure O.
- Insert the 19 mm end of the bulk line into the hole (22) in the spool adjacent to the slot as shown in Figure P. Make sure the line is pulled tight against the spool as shown in Figure P.
- Wind the cutting line onto the spool in the direction of the arrow on the spool. Make sure to wind the line on neatly and in layers. Do not crisscross (Figure Q).
- When the wound cutting line reaches the recesses (23), cut the line (Figure P).
- Fit the spool onto the appliance as described in “Replacing the spool”.



Maintenance
Your BLACK+DECKER corded/cordless appliance/tool has been designed to operate over a long period of time with a minimum of maintenance. Continuous satisfactory operation depends upon proper tool/appliance care and regular cleaning. Your charger does not require any maintenance apart from regular cleaning.
Warning! Before performing any maintenance on corded/ cordless power tools
- Switch off and unplug the appliance/tool.
- Or switch off and remove the battery from the appliance/tool if the appliance/tool has a separate battery pack.
- Or run the battery down completely if it is integral and then switch off.
- Unplug the charger before cleaning it. Your charger does not require any maintenance apart from regular cleaning.
- Regularly clean the ventilation slots in your tool/appliance and charger using a soft brush or dry cloth.
- Regularly clean the motor housing using a damp cloth. Do not use any abrasive or solvent-based cleaner.
- Regularly clean the cutting line and spool using a soft brush or dry cloth.
- Regularly use a blunt scraper to remove grass and dirt from the underneath of the guard.
Troubleshooting
| Problem | Solution |
| Appliance runs slowly. |
|
| Automatic line feed does not feed line. |
|
| |
| Overfeeding |
|
| line unravels when cap or spool is removed | Make sure to park the lines in holding slots (Fig. L1) before removing. |
Protecting the environment
Separate collection. Products and batteries marked with this symbol must not be disposed of with normal household waste. Products and batteries contain materials that can be recovered or recycled reducing the demand for raw materials. Please recycle electrical products and batteries according to local provisions. Further information is available at www.2helpU.com.
Technical data
| ST182320 | ||
| input Voltage | VDC | 18 |
| no-load Speed | min-1 | 900 |
| Weight | kg | 2.05 |
| Battery | Bl2018 | |
| Voltage | VDC | 18 |
| Capacity | Ah | 2,0 |
| Type | Li-Ion |
| Charger | 905902** (typ. 1) | |
| input Voltage | VAC | 230 |
| Output Voltage | VDC | 18 |
| Current | mA | 400 |
Hand/arm weighted vibration value according to EN50636-2- 91: = < 3.6 m/s², uncertainty (K) = 1.5 m/s². LPA (sound pressure) 76 dB(A) uncertainty (K) = 2.6 dB(A)
Guarantee
- Black & Decker is confident of the quality of its products and offers consumers a 24 month guarantee from the date of purchase. This guarantee is in addition to and in no way prejudices your statutory rights. The guarantee is valid within the territories of the Member States of the European Union and the European Free Trade Area.
- To claim on the guarantee, the claim must be in accordance with Black&Decker Terms and Conditions and you will need to submit proof of purchase to the seller or an authorised repair agent. Terms and conditions of the Black&Decker 2 year guarantee and the location of your nearest authorised repair agent can be obtained on the Internet at www.2helpU.com, or by contacting your local Black & Decker office at the address indicated in this manual.
- Please visit our website www.blackanddecker.co.uk to register your new Black & Decker product and receive updates on new products and special offers.
EC declaration of conformity
MACHINERY DIRECTIVE OUTDOOR NOISE DIRECTIVE
ST182320 Cordless String Trimmer
Black & Decker declares that these products described under “technical data” are in compliance with: 2006/42/EC,
EN60335-1: 2012 + A11:2014, EN50636-2-91:2014
2000/14/EC, Lawn Trimmer, L ≤ 50 cm, Annex VI
DEKRA Certification B.V., Utrechtseweg 310, 6802 ED
Arnhem, The Netherlands
Notified Body ID No.: 0344
Level of sound power according to 2000/14/EC
(Article 12, Annex III, L ≤ 50 cm):
LWA (measured sound power) 88 dB(A)
uncertainty (K) = 2.6 dB(A)
LWA (guaranteed sound power) 96 dB(A)
These products also comply with Directive 2014/30/EU and 2011/65/EU.
For more information, please contact Black & Decker at the following address or refer to the back of the manual. The undersigned is responsible for compilation of the technical file and makes this declaration on behalf of Black & Decker.
R. Laverick
Director of Engineering
Black & Decker Europe, 210 Bath Road, Slough,
Berkshire, SL1 3YD
United Kingdom
16/11/2016

The charger is intended for indoor use only.
Read the instruction manual before use.
Read the manual prior to operation.
Wear safety glasses or goggles when operating this appliance.
Wear suitable ear protectors when operating this appliance.
Always remove the battery from the appliance before performing any cleaning or maintenance.
Beware of flying objects. Keep bystanders away from the cutting area.
Do not expose the appliance to rain or high humidity.
Directive 2000/14/EC guaranteed sound power.





























