SAFETY INSTRUCTIONS
- Read these instructions carefully before use.
- The product is not intended to be used by children.
- Keep the product under careful supervision when it is used by, or near children.
- Pull out the plug before cleaning.
- Do not use the product if it is damaged or not working properly, or if the power cord or plug are damaged. Take the product to an authorised service centre to be checked, repaired or adjusted, so that it is safe to use.
- Do not use any accessories other than those recommended by the appliance manufacturer. The use of other accessories can result in fire, electric shock and/or personal injury.
- Do not use the product outdoors.
- Do not use the product in the bathroom or damp areas.
- The product is not intended to be installed in wet rooms.
- Do not rinse the product under water.
- Never use the product for anything other than the purpose it was designed for.
- This product can be used by children from 8 years and upwards and by persons with physical, sensorial or mental disabilities, or persons who lack experience or knowledge, if they are supervised or receive instructions concerning the safe use of the product and understand the risks involved with its use. Do not allow children to play with the product. Do not allow children to clean or maintain the product without supervision.
TECHNICAL DATA
- Output 120 W
- Rated voltage 230 V
- Weight 6.6 kg
- Size 40 x 24 x 26.5 cm
DESCRIPTION

- Metal casing
- Power switch
- Dispenser holder
- Polishing brush (right)
- Polishing brush (left)
- Cleaning brush (middle)
- Motor
- Mat
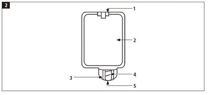
SHOE POLISH CONTAINER

- Safety pin
- Container
- Nozzle
- Spring
- Outlet for shoe polish
USE
- Press the power switch on top of the casing to start the product. Press once to start, press again to switch off.
- To apply shoe polish on the shoe, lift up the shoe and carefully stroke it against the dispenser nozzle. Natural shoe polish can be used for shoes of all colours.
- It is strongly recommended to use one of the brushes for natural shoe polish and the other for coloured shoe polish. Do not mix the two brushes, as this will affect the results.
- Press the power switch again to switch off the product after use.
NOTE:
The product is intended for intermittent household use. The motor can be run continuously for 5 minutes, after which it should be switched off for at least 5 minutes before using the product again. The product has over heating protection that switches off the product if the motor overheats. If the overheating protection trips, wait about 10 to 15 minutes before starting the product again (this time depends on the ambient temperature).
REFILLING SHOE POLISH
The sight glass on the shoe polish container indicates when it is time to refill the shoe polish.
- Release the catch for the dispenser and pull it out to open the dispenser holder.
- Remove the container, release the nozzle and fill with shoe polish of the same type.
- Replace the spring and steel ball, replace the nozzle, and firmly tighten. Check also that the ventilation hole on the top of the container is open. Otherwise the shoe polish will be not flow out properly when the shoe is stroked against the nozzle. Remove and discard the safety pin from the ventilation hole the first time the container is filled.
- Replace the shoe polish container in the holder and lock it in place on the product.
MAINTENANCE
- Pull out the plug before cleaning and/or maintenance
- The mat can be removed from the product and washed or vacuum cleaned to remove dust and mud. Allow the mat to dry in a cool place before putting it back .Do not expose the mat to heat or direc tsunlight when drying it.
- If a brush needs to be replaced, undo the0 screw holding the brush and pull the0 brush to the side to remove it from the0 axle. Fit a new brush by following the instructions in the reverse order.0 Make sure that the screw rests on the flat side of the motor axle.
NOTE:
Do not rinse the product with water.

SAFETY INSTRUCTIONS

















