PlayUSA.com
PKST64
Heavy-Duty Keyboard Stand
Heavy-Duty Keyboard Stand – Height Adjustable Music Stand with 2nd Tier
User Manual
WHAT’S IN THE BOX:

- (1) Design Stands
- (2) Leg frame
- (2) Keyboard support arms
- (2) 2nd tier support arm
- (2) L-Base tube
- (2) Support tube
- Knob
- Knob Bolts
- Rubber Pad
- Cords ties
ASSEMBLY INSTRUCTIONS
Step 1

- Assemble leg frames B with U frame A (U frame with cable ties). Slot right leg frame B (holes on the outer side) into the U frame A. Adjust and fix at the desired height by screw-in engage and lock knob G.
- The pin of the engage and lock knob G must be submerged in a hole of the leg frame B before being tightened.
- Assemble the second leg frame G likewise. Take care to adjust to the same height.
Step 2

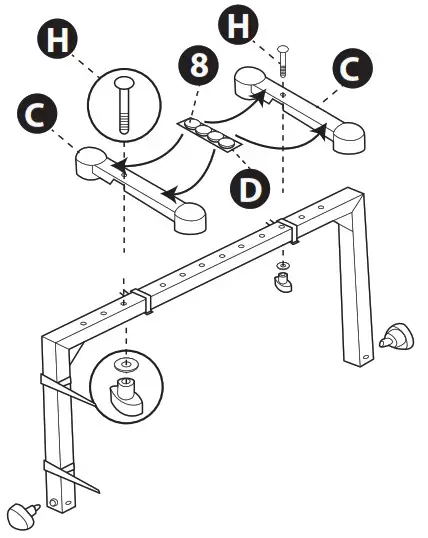
- Place a support arm C at the required position on the U frame A.
- Slot a carriage bolt (H) through a support arm C and U frame A.
- Attach the second support arm in the same way.
Step 3

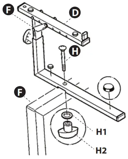
- Assemble 2 2nd tier support arms D with support tubes F, then assemble 2 support tubes F with L- base tubes E, adjust to desired height and angle, tighten with provided knobs G.
Step 4

- Place 2nd tiers at the required positions on the U frame A. Slot carriage bolts (H) through L-base tubes and U frame A.


Questions? Issues?
We are here to help!
Phone: (1) 718-535-1800
Email: [email protected]
WARNING: This product can expose you to a chemical or group of chemicals, which may include ”Lead and Cadmium” which is known in the state of California to cause cancer, birth defects, or other reproductive harm. For more info, go to https://www.p65warnings.ca.gov/.
Features:
- Stable and Appealingly Practical Designed
- Four Point Support with Protective Rubber Discs
- Adjustable Height
- Comfortable and Quick with Engage and Lock Knobs
- Ideal for a Second Keyboard or Laptop
- Provides 10 Different Height Adjustment Positions
- Adjustable Stacker Width
- Safe & Reliable Keyboard Placement
- Rugged & Durable Metal Construction
- Quick & Convenient Height Adjustment
- Second Tier with Fully Adjustment for Laptop, Second Keyboard, MIDI, Mixer, ETC.
- Adjustable Rubber Supports to Support Equipment Above
- Easy to Assemble, Easy to Adjust
- Spider Design with Height, Width, and Depth Adjustable
- Folding Design for Travel and Storage
- Designed for Home Studio, Classroom, Stage, and Recording
Technical Specs:
- Load Capacity: 177.8 lbs.
- 2nd Tier Stand Load Capacity: 55.5 lbs
- Arms Width: 7”, 11.8”, 16.5”, 21.6”, 26.4” and 31” -inches
- Arms Depth: 13.6” -inches
- Adjustable Height: 23.6” x 40.2” -inches in 28 Stages
- 2nd Tier Angle Adjustments (0° -5° -10° -15° -20°)
- 2nd Tier Dimensions (W x H): 10.3″ – 14.8″ x 4.8″ – 28.8″ -inches, (Depth) :15.7″ -inches Bottom,13″ -inches Top
- Overall Dimensions (L x W x H): 37.4” x 22.4” x 33.7 – 41” -inches (With 2nd Tier)


















