PyleUSA.com
PKST58
Heavy-Duty Keyboard Stand
Height Adjustable Music Stand with Protective Rubber Discs
User Manual
WHAT’S IN THE BOX:

- (1) Design Stands
- (2) Leg frame
- (2) Keyboard support arms
- Knob
- Knob Bolts
- Rubber Pad
- Cords ties
ASSEMBLY INSTRUCTIONS
Step1

- Assemble leg frames B with U frame A (U frame with cable ties). Slot right leg frame B (holes on the outer side) into the U frame A. Adjust and fix at the desired height by screw-in engage and lock knob G.
- The pin of the engage and lock knob G must be submerged in a hole of the leg frame B before being tightened.
- Assemble the second leg frame likewise. Take care to adjust to the same height.
Questions? Issues?
We are here to help!
Phone: (1) 718-535-1800
Email: [email protected]
WARNING: This product can expose you to a chemical or group of chemicals, which may include ”Lead and Cadmium” which is known in the state of California to cause cancer, birth defects, or other reproductive harm. For more info, go to https://www.p65warnings.ca.gov/.
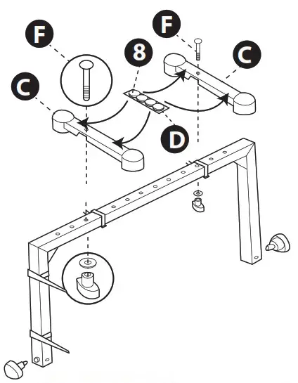
Step2

- Place a support arm C at the required position on the U frame A.
- Slot a carriage bolt (F) through a support arm C and U frame A.
- Attach the second support arm in the same way.
Features:

- Stable and Appealingly Practical Designed
- Four Point Support with Protective Rubber Discs
- Adjustable Height
- Comfortable and Quick with Engage and Lock Knobs
- Ideal for a Second Keyboard or Laptop
- Provides 10 Different Height Adjustment Positions
- Adjustable Stacker Width
- Safe & Reliable Keyboard Placement
- Rugged & Durable Metal Construction
- Quick & Convenient Height Adjustment
- Second Tier with Fully Adjustment for Laptop, Second Keyboard, MIDI, Mixer, ETC.
- Adjustable Rubber Supports to Support Equipment Above
- Easy to Assemble, Easy to Adjust
- Spider Design with Height, Width, and Depth Adjustable
- Folding Design for Travel and Storage
- Designed for Home Studio, Classroom, Stage, and Recording
Technical Specs:
- Load Capacity: 177.8 lbs.
- Arms Width: 7”, 11.8”, 16.5”, 21.6”, 26.4” and 31” -inches
- Arms Depth: 13.6” -inches
- Adjustable Height: 23.6” x 40.2” -inches in 28 Stages
- Product Dimensions (L x W x H): 37.4” x 22.4” x 23.6 – 40.2” -inches



















