K S Stopcontact Outdoor Socket Charge

WHAT’S IN THE BOX

Assembly and installation instructions
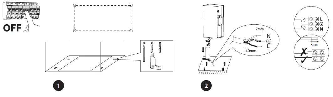
- The light fitting/sockets must be installed by a qualified electrician. The main supply must be disconnected at the fuse box before starting installation. Before starting with installation, use a voltage tester to make sure the wiring is off circuit. It is not sufficient just to turn off the power at the switch. You also need to ensure that in relation to the earthing on the electrical lead the local regulations are observed. Make sure you have a solid foundation.
- Place the pole on the ground. Boreholes silhouetted on the foundation. Drill the necessary holes. Insert the plugs.
- Pull the strip with the terminal block from the socket. Attach the wires and keep the correct colors in track: Blue lead = Neutral (N). Brown or Black lead = Live (L). Yellow/Green lead =
Earth (not on class II light fittings). Note that: the (brown) wire L1 corresponds to the mains cable L (or the connector marked with the symbol L), the (blue) wire N1 corresponds to the neutral conductor N (or the connector marked with the symbol N), the (yellow/green) wire 1 corresponds to the earth cable (or the luster terminal with symbol ). Place the strip back into the socket. The socket is now ready for installation on the foundation. - The socket t is now ready for use. Switch on the main supply.
Maintenance requirements: It is recommended that the surface is rubbed regularly with a neutral oil or water without cleaning agents and then wiped with a soft cloth. Keep the armature free from a salty environment, coastal location and an acid free environment, this affects the armature. Rub it regularly with Carwash, it ensures a longer lifetime of the armature.



The drawings are for illustrative purposes only. They may vary in model.



















