
swisherinc.com
OWNER’S MANUAL
MODEL NO.
STARTING SERIAL #:
L115260001
20020
IMPORTANT
Read and follow all safety precautions and Instructiobefore operating this equipment.
Model 20020 shown
ROAD BUSTER
GRAVEL GRADER

1602 CORPORATE DRIVE, WARRENSBURG, MISSOURI 64093
PHONE 800-222-8183 FAX 660-747-8650 EMAIL [email protected]
Manufacturing quality lawn care equipment since 1945
LIMITED WARRANTY
The manufacturer’s warranty to the original consumer purchaser is: This product is free from defects in materials and workmanship for the period’s shown below beginning from the date of purchase by the original consumer purchaser. We will repair or replace, at our discretion, parts found to be defective due to materials or workmanship. This warranty is subject to the following limitations and exclusions:
| Materials and Workmanship | 3 Years |
| Commercial Use | The warranty period for this product when used for commercial or rental is limited to 1 year from the date of original purchase. |
| Limitation | This warranty applies only to products that have been properly assembled, adjusted, and operated in accordance with the instructions contained within this manual. This warranty does not apply to any product of Swisher that has been subject to alteration, misuse, abuse, improper assembly or installation, shipping damage or to normal wear of the product. |
| Exclusions | Excluded from this warranty are normal wear items, normal or routine adjustments, and normal or routine maintenance. |
In the event you have a claim under this warranty, you must return the product to an authorized service dealer. All transportation charges, damage, or loss incurred during transportation of parts submitted for replacement or repair under this warranty shall be borne by the purchaser. Should you have any questions concerning this warranty, please contact us toll-free at 1-800-222-8183. The model number, serial number, date of purchase, and the name of the authorized Swisher dealer from whom you purchased the splitter will be needed before any warranty claim can be processed.
HIS WARRANTY DOES NOT APPLY TO ANY INCIDENTAL OR CONSEQUENTIAL DAMAGES AND ANY IMPLIED WARRANTIES ARE LIMITED TO THE SAME TIME PERIODS STATED HEREIN FOR ALL EXPRESSED WARRANTIES. Some states do not allow the limitation of consequential damages or limitations on how long an implied warranty may last, so the above limitations or exclusions may not apply to you. This warranty gives you specific legal rights and you may have other rights, which vary from state to state. This is a limited warranty as defined by the Magnuson-Moss Act of 1975.
SAFETY PRECAUTIONS
This Safety Alert Symbol indicates important messages in this manual. When you see this symbol, carefully read the message that follows and be alert to the possibility of personal injury.
Read this manual completely. This machine can amputate hands, feet, and throw objects. Failure to observe the following safety instructions could result in serious injury or death.
- Read and understand the manual. Learn to operate this equipment in a safe manner. Familiarize yourself with all of the controls in a safe environment before starting to work with this machine.
- DO NOT under any circumstances alter this Grader. This equipment was designed and engineered in accordance with operating instructions. Altering this equipment, or using this equipment in such a way as to circumvent its design capabilities and capacities, could result in serious injury or fatality and
WILL VOID THE WARRANTY. - Allow ONLY responsible adults who have read this manual to operate this machine. NEVER allow children to operate this machine.
- NEVER operate or allow someone to operate this equipment while under the influence of alcohol, drugs or medication. Being coherent is essential for safety.
- NEVER use grader for any other purpose than grading non-public roadways/driveways. Any other use can result in injury. Your grader is a precision piece of power equipment, not a toy. Therefore, exercise extreme caution at all times.
- ALWAYS wear protective gear such as safety goggles, steel-toed shoes, and a helmet if on an ATV/UTV.
- BEFORE towing, be certain that the grader is securely attached to the towing vehicle and that the support leg is secured in the towing positions.
- NEVER allow persons to ride on the grader. DO NOT carry any cargo on your grader other than weight that is secured on the mainframe weight tray provided.
- ALWAYS watch for the traffic of any kind when near or around roadways.
- ALWAYS shut the towing vehicle off and apply the emergency brake if applicable, before getting off to the service grader.
- ALWAYS use grader only when sufficient lighting/daylight is present.
- NEVER operate the grader on slopes greater than 15°.
- NEVER attempt to work on the electric motor or electrical devices yourself. Contact customer service
and they will find a qualified service center. - ALWAYS check working parts on grader before each use for worn or broken parts that would need
replaced. - ONLY use manufacturer-recommended replacement parts.
TOWING SAFETY
- Be sure the support jack stand is in the travel position and the coupling is secure. This must also be retracted so as not to interfere while towing. Retract the jackstand by removing the pin, pivoting up, and replacing the pin.
- Never exceed 15 MPH while towing your grader. Be extra cautious when traveling over rough terrain.
- Always be careful while backing your grader. You could jackknife your grader if not careful.
- See tire and wheel specifications for PSI while towing.
- Be aware of the extra length of grader while turning, parking, crossing intersections, and in all driving situations.

OPERATION INSTRUCTIONS
POSI-LOCK COUPLER
ADJUST COUPLER LOCKING PRESSURE ON BALL BEFORE USE. PLACE HANDLE IN LOCKED POSITION WITH BALL IN COUPLER. TIGHTEN LOCKNUT AGAINST TENSION SPRING SO THAT COUPLER IS NOT LOOSE ON BALL. CORRECT ADJUSTMENT WILL ALLOW THE HANDLE TO BE RELEASED WITH MODERATE PRESSURE APPLIED TO THE HANDLE.
TO OPEN, PULL UP ON THE COUPLER HANDLE AND ROTATE FORWARD. PLACE COUPLER ON BALL WHEN BALL IS COMPLETELY NESTED IN BALL SOCKET, ROTATE COUPLER HANDLE BACKWARD UNTIL HANDLE IS IN LOCKED POSITION.
AFTER TOWING, CHECK THE COUPLER FOR TIGHTNESS ON THE BALL. ALWAYS CHECK TIGHTNESS BEFORE TOWING. BE SURE THE COUPLER HANDLE IS IN A LOCKED POSITION.
WARNING:
NEVER EXCEED WEIGHT CAPACITY. ALWAYS USE THE CORRECT BALL SIZE, MAKING SURE THE BALL S COMPLETELY INSERTED INTO THE COUPLER. LOCK COUPLER HANDLE SECURELY BEFORE TOWING. ALWAYS CHECK FOR DAMAGES AND REPLACE IF DAMAGED. AVOID SHARP TURNS AND STEEP VERTICAL ANGLES WHEN TOWING.
MAINTENANCE & STORAGE
When storing the grader always lowers the grader to which the scarifiers contact the ground and the actuator is relieved of carrying any load. It is not recommended to ever leave the grader stored with the actuator holding the weight of the unit.
It is recommended to use the jack stand provided to raise and lower the unit when connecting and disconnecting from vehicles. DO NOT try and lift the weight of the grader by yourself when uncoupling, it may cause injury.
INTENDED USE / RECOMMENDED VEHICLES
The grader is intended to refinish non-public driveways or roadways consisting of primary gravel and or rock. Be aware of your surroundings and what is beneath the ground you intend to use the grader on. ALWAYS avoid large rocks, embedded obstacles, and buried utilities such as gas, electric, or phone lines.
A minimum of a 500 cc ATV/UTV or a 20 HP /500 lb. garden tractor is required to pull the grader and a Four-wheel or all-wheel drive is always recommended when available on the vehicle to gain maximum traction to ensure the best performance.
Understand that the amount of ground engagement with the scarifiers depends strongly on the type of vehicle you are using and the media makeup that you are refinishing. The looser the media and the more traction from the vehicle allow more ground engagement and the lighter the vehicle and more hard-packed the media allows less engagement.
It is recommended to start with minimum engagement (1/4”-1/2”) when beginning to refinish an area, and as the ground loosens increase the depth of engagement on scarifiers.
The grader design allows the operator to add weight to the unit if necessary to break up the ground when pulled with an adequate vehicle. The weight area is located in the mainframe section on the unit on either side of the actuator mount. Any additional weight should not exceed 100 lbs and should always be secured within the weight area by any means possible.
The rear blade on the grader can be used in several positions depending on the work you are doing. In fig. 1 the blade is free-floating and only restrained by the pin in the last pin position. This allows the blade to swing freely and the weight of the blade helps level and smooth loose media. In fig 2 the blade is pinned in the upright position and the grader can act as a scrapping blade when scarifiers are raised up away from media.
TRANSMITTER AND RECEIVER
The grader comes equipped with a remote control to raise and lower the unit by an electric actuator. The remote has two buttons, one to extend and one to retract the actuator. Follow the directions below to activate the remote once the battery is installed.
- Once the receiver is plugged into a power source, with the remote in hand hold down the button on the receiver box until a GREEN LED light comes on solid.
- Once the GREEN LED is solid hold down one of the buttons on the remote for approximately one second and verify the GREEN LED light flashes momentarily when the button is pressed.

- Repeat this process but with the opposite button on the remote
- Once both signals have been sent to the receiver the LED light on the receiver should turn solid RED. This means your transmitter and receiver are now paired.
- Press the IN and OUT buttons as needed.
To turn off the wireless system press the button on the receiver box once and ensure there is no longer a LED light on.

LED Indicator Light
Steady RED – The system is active and ready to use.
Flashing RED during use – The battery or power source is low.
RED light is off – The wireless remote control is turned off, or not active.
Replacing batteries
If the indicator light on the handheld remote flashes during use, the batteries are low and should be replaced.
- Remove the two screws from the handheld remote located on the back of the remote.
- Separate the top and bottom sections of the remote using a flat head screwdriver or similar device.
- Remove the old batteries and dispose of them in accordance with local environmental regulations.
- Insert (2) new A23 style alkaline batteries as shown with the positive terminals facing the switches. Do not mix old and new batteries.
- Join the top and bottom sections making sure they snap together and the rubber seal remains intact.
- Secure with the two screws.

ASSEMBLY
This grader has been mostly assembled at the factory. Refer to uncrating and assembly instructions below to complete the final assembly steps. Refer to the drawings and part lists should it become necessary to disassemble the unit for repair or replacement of parts.
Inspect all components for damage. If you believe you have a damaged part please contact customer service immediately at 1-800-222-8183.
TOOLS REQUIRED: (2) ¾” WRENCH OR SOCKET, (2) 1 ¼” WRENCHES/SOCKETS OR LARGE CRESCENT WRENCHES HAMMER, CROWBAR/PRYBAR, WIRE CUTTERS, GLOVES, AND PROTECTIVE EYEWEAR RECOMMENDED
WARNING: Exercise extreme caution, as parts are very heavy. Sufficient persons or mechanical handling equipment should be used.
Step 1: Carefully remove the top, sides, and ends of the crate with a hammer and pry bar.
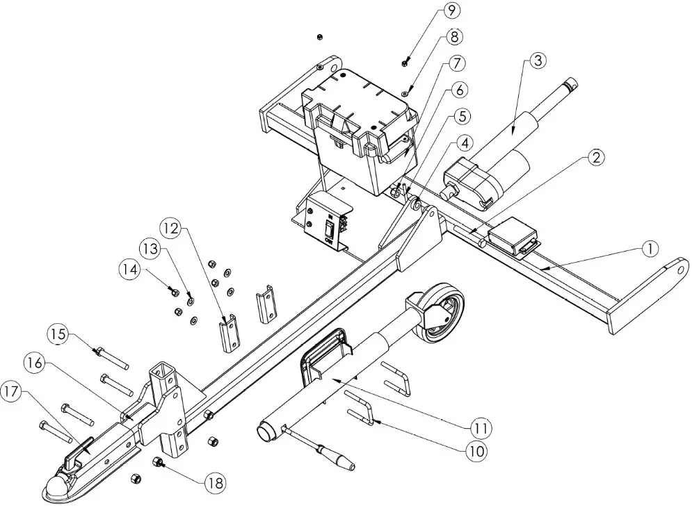
Step 2: Remove the ball coupler assembly #1 from within the frame assembly and install it onto the tongue assembly with the NB577 (bolts) #2 and NB281 (nuts) #3 provided.

Step 3: Remove main tongue assembly from crate and bolt, both frames end #1 to the inside of mainframe rail sides using (2) 11431 bolts #2 and (2) 13997 nuts #3 provided. Tighten hardware snug but do not lock completely, allow frame assemblies to hinge.

Step 4: Once the two mainframe assemblies are fastened, install the 20008TK height indicator bracket #1 over actuator #4 and slide towards the front of nit. While holding the actuator up run NB132 bolt #5 through fram20008TK #1, 19942TK #2, actuator, then through the second spacer and the opposite side of the bracket. Capture the bolt with the NB281 nu#3 provided.

SHOWN BELOW IN FIG. 2 IS THE PROPER ASSEMBLY OF THE HEIGHT INDICATOR AND ACTUATOR.

Supplying Power to the Grader
The grader is supplied with two power leads. The remote power lead (20038) is designed to be attached to your ATV/UTV or other vehicle’s 12V battery. The onboard power lead (20039) is designed to hook up to a battery installed directly on the grader. Both power leads plug directly into the grader wiring harness but the only one can be used at a time. The 20039 harness requires (2) NB524 nuts and (2) NB690 bolts to fasten to battery posts. These are located in the parts bag.
Caution: Always be sure to install a RED wire of lead to the Positive side of the battery and a BLACK wire of lead to the negative side of the battery. ALWAYS disconnect the negative (black) lead from the battery first and install the negative (black) last when reconnecting to the battery. Caution: Always be sure to secure the remote lead to the tongue of the grader and vehicle so as not to drag on the ground or become tangled in the unit.
*Below is a visual of all harnesses and where the connections attach.
NOTE: Grader does not come supplied with a battery but has the option of installing an onboard battery. The unit is designed to use a 12 V U1 or U1 deep cycle battery.
Any other style of the battery may not mount on the unit correctly or allow the unit to function properly.
Maintaining Battery: It is very important to recharge a battery after each use or if completely drained, and also recommended to install a battery tender (charger) on to the battery when not in use. IT IS NOT recommended to charge a battery at more than a 10 amp rate for extended periods of time.

PARTS BREAKDOWN

| ITEM NO. | PART NUMBER | DESCRIPTION | QTY. |
| 1 | 19946TK | Weldment – Main Tongue, Grader; Txt BIk | 1 |
| 2 | NB577 | Bolt – 1/2-13 X3 1/2 GR5 ZY | 1 |
| 3 | 19957 | Actuator – 12VDC, 20:1, ACME 6′,1500# | 1 |
| 4 | 19942TK | Spacer – .5151D X l’OD X .500N, Txt BIk | 2 |
| 5 | NB100 | Bolt – Carriage, 1/4-20 X 6 GR5 | 2 |
| 6 | NB281 | Nut – Nyloc 1/2-13 ZY | 1 |
| 7 | 19974 | Battery – Box, Grader | 1 |
| 8 | NB274 | Washer – SAE Flat 1/4 ZY | 2 |
| 9 | NB180 | Nut – Nyloc 1/4-20 | 2 |
| 10 | 12447 | Ubolt – SQ , 3/8-16X2.437 X 3 Lg GR 5 ZY | 2 |
| 11 | 19179 | Jackstand | 1 |
| 12 | 19477TK | Plate – Support, Kickstand Txt BIk | 2 |
| 13 | NB272 | Washer – SAE Flat 3/8 ZY Carbon Steel | 4 |
| 14 | NB182 | Nut – Nyloc 3/8-16 ZY | 4 |
| 15 | NB577 | Bott- 1/2-13 X3 1/2 GR5 ZY | 4 |
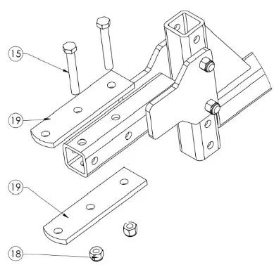
| 16 | 19958TK | Weldment – Hitch, Grader; Txt BIk | 1 |
| 17 | 7365 | Coupler – 2′ Ball | 1 |
| 18 | NB281 | Nut – Nyloc 1/2-13 ZY | 4 |
| 19 | 19962TK | Plate – Hitch, Latch; Txt BIk | 2 |
LATCH PIN OPTION
(Latch pin plates included in parts bag)

| ITEM NO. | PART NUMBER | DESCRIPTION | QTY. |
| 1 | 19971 | Tire -13 X 650-6 3/4 ID Smooth | 2 |
| 2 | NB195 | Washer -13/16 X 1 1/4 X 1/8 ZY; Mild | 2 |
| 3 | NB126 | Pin – Cotter, 1/8 X 1, Crbn St! Ext Pricing | 2 |
| 4 | 15177 | Bent Pin – W/ Hair Pin 1/20D X 3.5, ZP | 1 |
| 5 | NB132 | Bolt -1/2-13 X 4 HCC GR5 ZY | 1 |
| 6 | 19944TK | Plate – Rake, Grader, Txt BIk | 1 |
| 7 | NB121 | Nut -Jam Lock, 1/2-13 2-Way Gr A | 8 |
| 8 | 20057 | Bolt – Carriage, 1/2-13 X 1 1/2 GR5 ZY | 8 |
| 9 | 19961TK | Spacer – .750 ID X 1 OD X 1.250, Txt BIk | 2 |
| 10 | 19945TK | Bracket – Rake Hinge, Grader; Txt Blk | 2 |
| 11 | 11431 | Bolt – 3/4-10 X 2 GR8 ZY | 4 |
| 12 | 10501 | Bolt – Carriage 3/8-16 X 1 1/4 GR5 ZY | 14 |
| 13 | 19941TK | Plate – Outer Skid, Grader, Txt Bik | 2 |
| 14 | 19940TK | Plate – Inner Skid, Grader, Txt Blk | 2 |
| 15 | NB280 | Nut – 2 Way Lock 3/8-16 ZY & Wax Gr A | 14 |
| 16 | NB127 | Pin – Hair, # 39 (A155H)ZY Std | 6 |
| 17 | 19943TK | Scarifier – 4140 Rc28-32,Txt BIk | 6 |
| 18 | 20051 | Pin – Clevis, Std 3/8 X 1 1/4 ZY | 6 |
| 19 | 19929TK | Weldment – Main Frame, Txt BIk | 1 |
| 20 | NB281 | Nut – Nyloc 1/2-13 ZY | 1 |

HEIGHT INDICATOR
| ITEM NO. | PART NUMBER | DESCRIPTION | QTY. |
| 1 | NB281 | Nut – Nyloc 1/2-13 ZY | 1 |
| 2 | NB577 | Bolt- 1/2-13 X3 1/2 GR5 ZY | 1 |
| 3 | 19942TK | Spacer – .5151 D X l’OD X .500′, Txt Bik | 2 |
| 4 | 20008TK | Bracket – Height indicator Txt BIk | 1 |
| 5 | 19857 | Button – Plastic, Bottom | 2 |
| 6 | 19858 | Button – Plastic, Top | 2 |
ELECTRICAL CONTROLS
| ITEM NO. | PART NUMBER | DESCRIPTION | QTY. |
| 1 | NB524 | Nut -Serr Flange, 1 /4-20 Grade 5 ZY | 2 |
| 2 | 15749 | Electrical – 12V 30 AMP Relay | 2 |
| 3 | NB690 | Bolt – Serr Flange, 1/4-20 X 3/4 GR5 ZY | 2 |
| 4 | NB250 | Bolt – 1/4-20 X 3/4 GR5 ZY | 2 |
| 5 | 19970 | Remote – Wireless, Grader | 1 |
| 6 | 19978 | Switch – DPDT, 30A, On-Off-On MOM | 1 |
| 7 | NB180 | Nut – Nyloc 1/4-20 | 2 |
SAFETY DECALS
Replace decals immediately if damaged.


The operation of any grader can produce foreign objects to be thrown into the air, resulting in severe eye damage. Always wear certified safety glasses or wide-vision safety goggles over spectacles before and while operating such a machine.

MAINTENANCE LOG
| Date of Service | Service Performed | Notes |
SPECIFICATIONS
Dimensions
| Length | 95″ |
| Width | 50″ |
| Weight | 380lbs |
| Shipping Dim. | 51.5″ X 51.5″ X 24″ |
| Shipping Weight | 460lbs |
Working Dimensions
| Working Width | 50″ | |
| Max. Teeth Ground Clearance | 10″ | |
| Grading Depth Range | 1-10″ | 2″ max. ground engagement recommended with ATV/UTV |
| Total Scarifier Adjustment | 9″ |
Towing
| Recommended Towing Vehicle | Minimum 500cc ATV/UTV 4X4 Desired |
| Hitch Style | 2″ Ball Coupler and Hitch Pin both Standard |
Material
| Frame | Welded 3/8″ Steel & Tube |
| Scarifiers | Hardened 1/2″ Steel |
| Hardware | Minimum Grade 5 |
Miscellaneous
| Actuator | 1500 # Industrial Remote Controlled Linear |
| Tires/Wheels | 13 X 650-6 3/4 ID Smooth |
| Power Source | 12V U1 Deep cycle battery recommended |

SWISHER HISTORY
SINCE 1945
All Grader parts listed herein may be ordered directly from Swisher, your nearest Swisher dealer, or from our website.
FOLLOWING INFORMATION IS AVAILABLE:
* PRODUCT – SWISHER GRADER
* SERIAL NUMBER –
* MODEL NUMBER –
* ENGINE MODEL NUMBER –
* TYPE –
* PART NUMBER
* PART DESCRIPTION

TELEPHONE – 1-800-222-8183
FAX – 1-660-747-8650
SWISHER
1602 CORPORATE DRIVE
WARRENSBURG, MO 64093


















