HG-013-L Aquarium Gravel Cleaner
User Manual
E-mail: [email protected]
HG-013-L Aquarium Gravel Cleaner
hygger aquarium gravel cleaner is a tool for cleaning gravel, washing sand, and changing water by siphoning. It is easy to clean the debris hidden in the sand or floating in the water. Please read this user manual carefully before use and follow instructions carefully in accordance with the manual.
Attentions : The gravel cleaner requires a vertical drop of 19.7 inches from water inlet to water outlet and a minimum tank water level of 11 inches before changing water.
PRODUCT FEATURES
Multi-function: The Gravel cleaner can be used for water changes, sand washing, and dirt absorption.
Suitable for a variety of fish tanks: This aquarium gravel cleaner comes with 3 extended pipes which is a total length of 43 inches. It can be extended from 24.5 inches to 43 inches and has a 78 inch outlet hose.The flow rate of this product is 256GPH,This can be used in tanks up to 32 inches depth of tank and is suitable for middle or large sized aquariums.
Durable suction ball: The suction ball is made of high quality and durable EVA material.
Easy to assemble: Quick assembly within a few minutes. Press the suction ball several times until the water fills within the whole outlet strap tube, then release the suction ball, water will flow out automatically following this. Equip a flow control valve and the hose fixture clamp. The outlet strap hose can be hung on the bucket and the water flow can be adjusted freely. Powerful Vacuum: It’s has enough power to clean every corner of the tank without wet hands, Quickly draining dirty water.
Assembly Instruction:

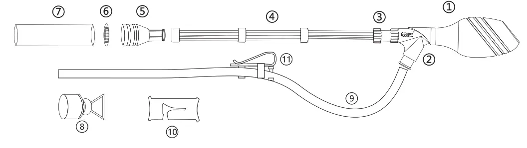
| 1. Suction ball 2. Water outlet connector 3. Water inlet connector 4. Water inlet pipe 5. Water inlet kits | 6.Filter screen 7. Gravel clean pipe 8. Debris vacuum 9.Water outlet hose 10 Flow control valve 11. Hose fixture clamp |
INSTALLATION :
- Insert the water inlet pipe and water outlet hose.

- Connect the inlet kits and the gravel clean tube.

- Put the water inlet pipe into the aquarium and the water outlet hose into a bucket.

- Clamp the outlet hose on the bucket with a hose fodure damp to prevent hose from falling oft

- Press the suction ball several times until the water fills within the whole outlet strap tube, then release the suction ball, water will flow out automatically.

- Insert the gravel clean pipe to the sand or gravel which will be absorbed into the pipe, lift up and down to replace sand or gravel, and remove debris from your tank.

TIPS:Don’t insert the gravel clean pipe into the sand until the water is flowing out of the outlet pipe.
TIPS:
- Use flow control valve to reduce the flow speed. Clip the flow control valve to the outlet hose when in use A.

- When your tank has not sand, use debris vacuum can absorb debris.Directly insert the debris vacuum into the water inlet pipe to use.

- Extent the inlet pipe to suit the different heights of the tank.

ATTENTIONS:
Please read this user manual carefully before using and follow strictly in accordance with the manual.
✓ Please keep it away from children.
✓ The water outlet must be lower 19.7incti than the water inlet when you use this gravel cleaner.
✓ Please check for air leakage when connecting the tube.
✓ Please clean the Internal garbage regularly.
✓ Do not use the gravel cleaner in flammable and corrosive liquid.
✓ Do not use the water changer in too hot or too cold water( temperature above 36°Cor under 0°C). It will damage the material.
PACKAGE INCLUDED:
| 1, lx Suction ball | 2, lx Water outlet connector | 3, lx Water inlet connector |
| 4, 3x Water inlet pipe | 5, lx Water inlet kits | 6, lx Filter screen |
| 7, lx Gravel clean pipe | 8, lx Debris vacuum | 9, lx Water outlet hose |
| 10, lx Flow control valve | 11, lx Hose fixture clamp | 12, lx User manual |
WARRANTY:
- 1-year free warranty.
- 1-month free return.
- Free replacement for 3 months.
CONTACT INFORMATION
Website: www.hygger-online.com
E-mail: [email protected]
Thank you for choosing hygger, making aquarium keeping easier one product at a time. If you have any problems or suggestions for the gravel cleaner, please contact us by email before leaving feedback or opening a case, it will be the fastest way to solve your problem.
If you are satisfied with our product, please leave positive feedback for our product, in order to let more customers enjoy it. Thanks again.
https://wa.me/qr/JTMWCKJNUIMIP1
![]()
Puhui Import and Export GmbH
BirnbaumsmOhle 65
Frankfurt(Oder) 15234
Briefkasten: [email protected]
Telefonnummer: +03381-2697990![]()
CET Product Service Ltd.
Beacon House Stokenchurch Business
Park,Ibstone Rd,Stokenchurch
High Wycombe HP14 3FE UK
[email protected]
+447419325266![]()
Made in china




























