CORSAIR H60 Hydro Series High Performance 120mm Liquid CPU Cooler

Note: Most newer PC cases include a CPU cutout to allow access to the bottom of the motherboard. If your case does not include a cutout, you will need to remove your motherboard from the case before installation
Included Hardware
Highlighted parts for Intel installation only

Note: The H60 comes with Intel mounting bracket pre-installed on the pump for quick installation.
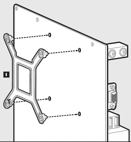
Installing the Intel Backplate
Note: Intel LGA 2011 and LGA 2066 does not require backplate installation. Proceed to step 2.

Installing the Intel Standoff Screws
- Attach the provided Intel standoff.
- Use (B) for LGA llSX/1366, or (C) for LGA 2011/2011-3/2066.
- Tighten all four screws until firmly secure.

Install the Fan and Radiator
Mount the radiator and fan to your case’s rear 120mm fan opening.
Note:
For best cooling performance, we recommend mounting the fan as an air intake to your PC case.

Installing the Pump Unit
- Align the bracket and pump over the standoff screws as shown.
- Tighten the thumbscrews until all four corners are firmly secured.

Connect Power to the Fan and Pump
- Connect pump power cable to an available SATA power plug (figure 1).
- Connect pump tach cable to the CPU_FAN header on your motherboard (figure 2).
- Connect fan tach cable to a 4 pin header on your motherboard (figure 3).

Included Hardware

Installing the AMD Mounting Bracket
Note: It is important that the AMD retention bracket be evenly secured on all sides before installation.
- Remove the integrated Intel mounting bracket (figure 1).
- Install the AMO bracket by pushing both sides into the slot on the pump until secure (figure 2).

Install the Fan and Radiator
Mount the radiator and fan to your case’s rear 120mm fan opening.
Note:
For best cooling performance, we recommend mounting the fan as an air intake to your PC case.

Prepare the Mounting Bracket
Insert the AMD screw clips and secure with the screws as shown. Do not tighten the thumbscrews all the way.

Install the Pump Unit
Align the bracket with the Stock AMD mounting clips as shown. Tighten the thumbscrews until secure.


Connect Power to the Fan and Pump
- Connect pump power cable to an available SATA power plug (figure 1).
- Connect pump tach cable to the CPU_FAN header on your motherboard (figure 2).
- Connect fan tach cable to a 4 pin header on your motherboard (figure 3).

FAQ
- How do I know the direction of the air flow of the fan?
An arrow located on the side of the fan indicates the direction of air flow. - Can I reuse the pre-applied thermal paste on the H60 for a re-installation?
Re-installation of the H60 cooler will require you clean off the pre-applied thermal paste and apply an aftermarket paste. - Where can I purchase additional radiator screws for push-pull configuration?
Additional screws can be purchased from corsair.com.
Thank you for purchasing the CORSAIR Hydro Series H60 High-Performance Liquid CPU Cooler. Please visit: corsair.com to download a detailed user guide or to obtain technical support.
NOTE ON ENVIRONMENTAL PROTECTION:
After the implementation of the European Directive 2012/19/EU in the national legal system, the following applies:
- Electrical and electronic devices may not be disposed of with domestic waste.
- Consumers are obliged by law to return electrical and electronic devices at the end of their service lives to the public collecting points set up for this purpose or point of sale. Details to this are defined by the national law of the respective country. This symbol on the product, the instruction manual or the package indicates that a product is subject to these regulations. By recycling, reusing the materials or other forms of utilising old devices, you are making an important contribution to protecting our environment.
FCC
This equipment has been tested and found to comply with the limits for a Class B digital device, pursuant to part 15 of the FCC Rules. These limits are designed to provide reasonable protection against harmful interference in a residential installation. This equipment generates, uses and can radiate radio frequency energy and, if not installed and used in accordance with the instructions, may cause harmful interference to radio communications. However, there is no guarantee that interference will not occur in a particular installation. If this equipment does cause harmful interference to radio or television reception, which can be determined by turning the equipment off and on, the user is encouraged to try to correct the interference by one or more of the following measures:
- Reorient or relocate the receiving antenna.
- Increase the separation between the equipment and receiver.
- Connect the equipment into an outlet on a circuit different from that to which the receiver is connected.
- Consult the dealer or an experienced radio/TV technician for help.
This device complies with part 15 of the FCC Rules. Operation is subject to the following two conditions:
- This device may not cause harmful interference, and
- this device must accept any interference received, including interference that may cause undesired operation.
FCC Caution: Any changes or modifications not expressly approved by the party responsible for compliance could void the user’s authority to operate this equipment.
CORSAIR MEMORY, Inc. declares that this equipment is in compliance with Directive 2014/30/EU and Directive 2011/65/EU. A copy of the original declaration of conformity can be obtained at “corsair.com/documentation“.




















