CORSAIR iCUE H100i Performance Liquid CPU Cooler
INCLUDED HARDWARE
Highlighted parts for Intel installation only
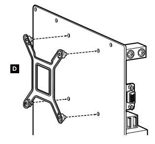
INSTALLING THE INTEL BACKPLATE
Adjust the backplate for your required socket.
NOTE: Intel LGA 2066 /2011-3/2011 does not require backplate installation. Proceed to step 2. 
INSTALLING THE INTEL STANDOFF SCREWS
- Attach the provided Intel standoff for your socket.
- Use (A) for LGA 1200/115X, (B) for LGA 2011/ 2011-3/2066 or (C) for LGA1700.
- Tighten all four standoffs until firmly secured.

INSTALL THE FANS AND RADIATOR
Attach the radiator and the fans as shown. For the best cooling performance, we recommend mounting the fans as an air-intake to your PC case. 
INSTALLING THE PUMP UNIT
- Align the bracket and pump over the standoff screws as shown.
- Attach the thumb nuts (F) to the standoff screws as shown.
- Tighten the thumb nuts until all four corners are firmly secured.

INCLUDED HARDWARE
Highlighted parts for AMD AM4 installation only 
INSTALLING THE AMD AM4 MOUNTING BRACKET
- Remove the integrated Intel mounting bracket (Figure 1).
- Install the AMD AM4 bracket by pushing both sides into the slot on the pump until secure (Figure 2).
Note: It is important that the AMD AM4 retention bracket be evenly secured on all sides before installation.
INSTALL THE FANS AND RADIATOR
Attach the radiator and the fans as shown. For the best cooling performance, we recommend mounting the fans as an air-intake to your PC case. 
PREPARE THE MOTHERBOARD FOR INSTALLATION
Remove the existing AMD AM4 mounting brackets shown. 
INSTALLING THE AMD AM4 STANDOFF SCREWS
- Attach the provided AMD AM4 standoffs to the CPU socket.
- Tighten all four screws until firmly secure.

INSTALLING THE PUMP UNIT
Align the bracket with the AMD AM4 standoffs as shown. Tighten the thumb nuts (F) until secure.
INCLUDED HARDWARE
Highlighted parts for AMD sTRX4 installation only
INSTALLING THE AMD sTRX4 MOUNTING BRACKET
- Remove the integrated Intel mounting bracket (Figure 1).
- Install the AMD sTRX4 bracket by pushing both sides into the slot on the pump until secure (Figure 2).
Note: It is important that the AMD sTRX4 retention bracket be evenly secured on all sides before installation.
INSTALLING THE AMD sTRX4 STANDOFF SCREWS
- Attach the provided AMD sTRX4 standoffs to the CPU socket.
- Tighten all four standoff screws until firmly secure.

INSTALL THE FANS AND RADIATOR
Attach the radiator and the fans as shown. For the best cooling performance, we recommend mounting the fans as an air-intake to your PC case. 
INSTALLING THE PUMP UNIT
- Align the bracket and pump over the standoff screws as shown.
- Attach the thumb nuts (F) to the standoff screws as shown.
- Tighten the thumb nuts until all four corners are firmly secured.

CONNECT FANS TO PUMP AND PUMP TO MOTHERBOARD
- Connect pump tach cable to the CPU_FAN header on your motherboard (Figure 1).
- Connect each fan to the USB-C Wire Harness and connect the USB-C cable to the pump (Figure 2).

CONNECT PUMP TO USB AND SATA POWER
- Using the included USB-C cable, connect the iCUE ELITE Series cooler to a motherboard USB 2.0 header.
- Connect pump power cable that is attached to the USB-C Wire Harness to an available SATA power plug from your power supply.

FAQ
- How do I know the direction of the airflow of the fan?
An arrow located on the side of the fan indicates the direction of airflow. - Can I reuse the pre-applied thermal paste on the cooler for re-installation?
Re-installation of the cooler will require you to clean off the pre-applied thermal paste and apply an aftermarket paste. - What orientation should I install my radiator?
The best way to install a radiator is with the tubes on the bottom of the case, though you can install it with the tubes in any position, including an inverted radiator, as long as the highest point in the radiator is visibly higher than the CPU pump.
- My cooler and fans are blinking red or not functioning. What do I do?
Please double-check all connections between the cooler and fans. Ensure that the cooler is updated to the most recent firmware via iCUE. If this does not resolve your problems, please open a support ticket at support.corsair.com or contact our customer support team for further troubleshooting and assistance. https://help.corsair.com/hc/en-us/requests/new
































