
iCUE
H100i | H150i | H170i
ELITE LCD XT
EXTREME PERFORMANCE LCD LIQUID CPU COOLER
Note: Most newer PC cases include a CPU cut-out to allow access to the bottom of the motherboard. If your case does not include a cut-out, you will need to remove your motherboard from the case prior to installation. ELITE LCD XT coolers come with the Intel mounting bracket pre-installed on the pump for quick installation.

Please ensure you power down your entire PC before installation.
The LCD module, the pump, and the Commander CORE are sensitive to hotplugging and ESD.
INCLUDED HARDWARE
Highlighted parts for Intel installation only

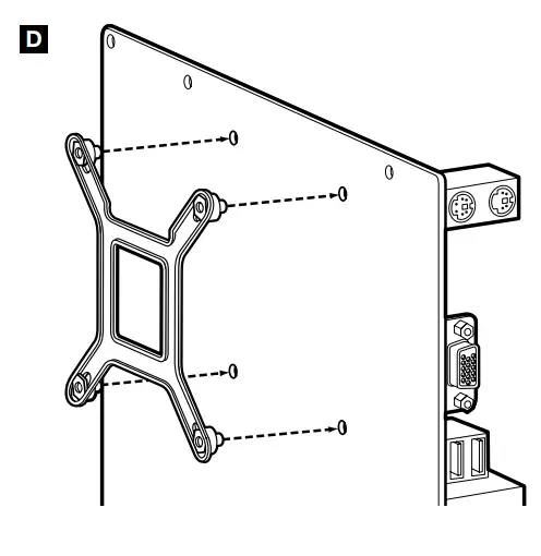
INSTALLING THE INTEL BACKPLATE
Adjust backplate for your required socket.
Note: Intel LGA 2011/2011-3/2066 do not require backplate installation. Proceed to step 2.

INSTALLING THE INTEL STANDOFF SCREWS

- Attach the provided Intel standoff for your socket.
- Use (A) for LGA 1200/115X, (B) for LGA 2011/2011-3/2066 or (C) for LGA 1700.
- Tighten all four screws until firmly secured.
INSTALL THE FANS AND RADIATOR

Attach the radiator and the fans as shown. For the best cooling performance, we recommend mounting the fans as an air-intake to your PC case.
INSTALLING THE PUMP UNIT

- Align the bracket and pump over the standoff screws as shown.
- Attach the thumbscrews (F) to the standoff screws as shown.
- Tighten the thumbscrews until all four corners are firmly secured.
INCLUDED HARDWARE
Highlighted parts for AMD AM5/AM4 installation only

INSTALLING THE AMD AM5/AM4 MOUNTING BRACKET
CONNECT COMMANDER CORE AND ELITE LCD XT MODULE TO USB 2.0 HEADER AND POWER
> Remove the integrated Intel mounting bracket (Figure 1).
> Install the AMD AM5/AM4 bracket by pushing both sides into the slot on the pump until secure (Figure 2).
Note: It is important that the AMD AM5/AM4 retention bracket be evenly secured on all sides before installation.

INSTALL THE FANS AND RADIATOR
Attach the radiator and the fans as shown. For the best cooling performance, we recommend mounting the fans as an air-intake to your PC case.
PREPARE THE MOTHERBOARD FOR INSTALLATION
Remove the existing AMD AM5/AM4 mounting brackets shown.
INSTALLING THE AMD AM5/AM4 STANDOFF SCREWS
> Attach the provided AMD AM5/AM4 standoffs to the CPU socket.
> Tighten all four screws until firmly secure.
INSTALLING THE PUMP UNIT
Align the bracket with the AMD AM5/AM4 standoffs as shown. Tighten the thumbscrews (F) until secure.
INCLUDED HARDWARE
Highlighted parts for AMD sTRX4 installation only

INSTALLING THE AMD sTRX4 MOUNTING BRACKET
> Remove the integrated Intel mounting bracket (Figure 1).
> Install the AMD sTRX4 bracket by pushing both sides into the slot on the pump until secure (Figure 2).
Note: It is important that the AMD sTRX4 retention bracket be evenly secured on all sides before installation.
INSTALLING THE AMD sTRX4 STANDOFF SCREWS
> Attach the provided AMD sTRX4 standoffs to the CPU socket.
> Tighten all four screws until firmly secure.
- INSTALL THE FANS AND RADIATOR
Attach the radiator and the fans as shown. For the best cooling performance, we recommend mounting the fans as an air-intake to your PC case.
INSTALLING THE PUMP UNIT
CONNECT FANS AND PUMP TO COMMANDER CORE
- Connect pump 24-pin cable to your Commander CORE (Figure 1).
- Connect pump tach cable to the CPU_FAN header on your motherboard (Figure 2).
- Connect each fan to the Commander CORE (Figure 3).
- Connect each fan RGB lead to the Commander CORE (Figure 3).

CONNECT COMMANDER CORE AND ELITE LCD XT MODULE TO USB 2.0 HEADER AND POWER
> Align the bracket and pump over the standoff screws as shown.
> Attach the thumbscrews (F) to the standoff screws as shown.
> Tighten the thumbscrews until all four corners are firmly secured.

FAQ
- How do I know the direction of the airflow of the fan?
An arrow located on the side of the fan indicates the direction of airflow. - Can I reuse the pre-applied thermal paste on the cooler for re-installation?
Re-installation of the cooler will require you to clean off the pre-applied thermal paste and re-apply the XTM70 thermal paste (sold separately). - What orientation should I install my radiator?
The best way to install a radiator is with the tubes on the bottom of the case, though you can install it with the tubes in any position, including an inverted radiator, as long as the highest point in the radiator is visibly higher than the CPU pump.
- My cooler and fans are blinking red or not functioning. What do I do?
Please double check all connections from the cooler and fans to the Commander CORE.
Ensure that the Commander CORE and LCD module are update to the most recent firmware via iCUE. If this does not resolve your problems, please open a ticket at support.corsair.com or contact our customer support team for further troubleshooting and assistance. https://help.corsair.com/hc/en-us/requests/new - What should I do if my cooler backplate feels loose after installation?
It is common for your cooler backplate to feel loose after you install it into your motherboard for the first time. Once you have seated and tightened down the cooler pump, it will pull the backplate to the motherboard and apply pressure on the socket via the cooler.
IMPORTANT: Do NOT, under any circumstances, add additional washers and spacers to your backplate to decrease play in the backplate. Doing so will increase the mounting pressure to the retention kit and potentially damage your retention kit, otherboard, or socket.
| Support: | support.corsair.com | |||
| Web: | corsair.com | Blog: | corsair.com/blog | |
| Phone: | (888) 222-4346 | Forum: | forum.corsair.com | |
| Warranty: | corsair.com/support/warranty | YouTube: | youtube.com/corsairhowto |
© 2023 CORSAIR MEMORY, Inc. All rights reserved. CORSAIR and the sails logo are registered trademarks of CORSAIR in the United States and/or other countries. All other trademarks are the property of their respective owners. Product may vary slightly from those pictured. 49-002654 AA
![]()
R-R-CSI-RWF0048
R-R-CSI-RWF0070
R-R-CSI-RWF0077
R-R-CSI-RWF0078
R-R-CSI-RWF0085



















