JENSEN JCR-390 Stereo Compact Disc Player

WARNING: TO PREVENT FIRE OF SHOCK HAZARD, DO NOT USE THIS PLUG WITH AN EXTENSION CORD, RECEPTACLE OR OTHER OUTLET UNLESS THE BLADES CAN BE FULLY INSERTED TO PREVENT BLADE EXPOSURE. TO PREVENT FIRE OR SHOCK HAZARD, DO NOT EXPOSE THIS APPLIANCE TO RAIN OR MOISTURE. The Caution Marking is located at the bottom enclosure of the apparatus. The Rating plate is located at the bottom enclosure of the apparatus.
IMPORTANT SAFETY INSTRUCTIONS
1. Read these instructions.
2. Keep these instructions.
3. Heed all warnings.
4. Follow all instructions.
5. Do not use this apparatus near water.
6. Clean only with dry cloth.
7. Do not block any ventilation openings. Install in accordance with the manufacturer’s instructions.
8. Do not install near any heat sources such as radiators, heat registers, stoves, or other apparatus (including amplifiers) that product heat.
9. AC adaptor is used as disconnect device and it should remain readily operable during intended use. In order to disconnect the apparatus from the mains completely, the AC adaptor should be disconnected form the mains socket outlet completely.
10. Only use attachments/accessories specified by the manufacturer.
11. Use only with a cart, stand, tripod, bracket, or table recommended by the manufacturer, or sold with the product. When a cart is used, use caution when moving the cart/apparatus combination to avoid injury from tip-over.
12. Unplug this apparatus during lightning storms or when unused for a long period of time.
13. Refer all servicing to qualified service personnel. Servicing is required when the apparatus has been damaged in any way, such as power-supply cord or plug is damaged, liquid has been spilled or objects have fallen into the apparatus, the apparatus has been exposed to rain or moisture, does not operate normally, or has been dropped.
14. This appliance shall not be exposed to dripping or splashing water and that no object filled with liquids such as vases shall be placed on the apparatus.
15. Do not overload wall outlet. Use only power source as indicated.
16. Use replacement part as specified by the manufacturer.
17. Upon completion of any service or repairs to this product, ask the service technician to perform safety checks.
18. Power Sources – This product should be operated only from the type of power source indicated on the marking label. If you are not sure of the type of power supply to your home, consult your product dealer or local power company. For products intended to operate from battery power, or other sources, refer to the operating instruction.
19. Object and Liquid Entry – Never push objects of any kind into this product through openings as they may touch dangerous voltage points or short-out parts that could result in a fire or electric shock. Never spill liquid of any kind on the product.
20. Damage Requiring Service – Unplug this product from the wall outlet and refer servicing to qualified service personnel under the following conditions:
a) When the power-supply cord or plug is damaged,
b) If liquid has been spilled, or objects have fallen into the product,
c) If the product has been exposed to rain or water,
d) If the product does not operate normally by following the operating instructions. Adjust only those controls that are covered by the operating instructions as an improper adjustment of other controls may result in damage and will often require extensive work by a qualified technician to restore the product to its normal operation.
e) If the product has been dropped or damaged in any way, and
f) When the product exhibits a distinct change in performance – this indicates a need for service.
21. Battery shall not be exposed to excessive heat such as sunshine, fire or the like.
22. Excessive sound pressure from earphones and headphone can cause hearing loss.
23. Minimum distances of 4 inches around the apparatus for sufficient ventilation.
24. The ventilation should not be impeded by covering the ventilation openings with items, such as newspapers, table-cloths, curtains, etc.
25. No open flame sources, such as lit candles, should be placed on the product.
26. The use of apparatus in moderate climates.
27. Attention should be drawn to the environmental aspects of battery disposal.
SAVE THESE INSTRUCTIONS.
COMPLIANCE WITH FCC REGULATIONS
This device complies with Part 15 of the FCC Rules. Operation is subject to the following two conditions:
- This device may not cause harmful interference, and
- This device must accept any interference received, including interference that may cause undesired operation.
This equipment has been tested and found to comply with the limits for a class B digital device, pursuant to Part 15 of the FCC Rules. These limits are designed to provide reasonable protection against harmful interference in a residential installation. This equipment generates uses and can radiate radio frequency energy and, if not installed and used in accordance with the instructions, may cause harmful interference to radio communications. However, there is no guarantee that interference
will not occur in a particular installation. If this equipment does cause harmful interference to radio or television reception, which can be determined by turning the equipment off and on, the user is encouraged to try to correct the interference by one or more of the following measures:
- Reorient or relocate the receiving antenna.
Increase the separation between the equipment and receiver. - Connect the equipment into an outlet on a circuit different from that to which the receiver is connected.
- Consult the dealer or an experienced radio/TV technician for help.
CAUTION: Changes or modifications not expressly approved by the party responsible for compliance could void the user’s authority to operate the equipment.
Follow the advice below for safe operations. ON PROTECTION AGAINST LASER ENERGY EXPOSURE
- As the laser beam used in this compact disc player is harmful to the eyes, do not attempt to disassemble the casing.
- Stop operation immediately if any liquid or solid object should fall into the cabinet.
- Do not touch the lens or poke at it. If you do, you may damage the lens and the player may not operate properly.
- Do not put anything in the safety slot. If you do, the laser diode will be ON when the CD door is still open.
- If the unit is not to be used for a long period of time, make sure that all power sources are disconnected from the unit. Remove all batteries from the battery compartment.
- This unit employs a laser. The use of controls or adjustment or performance of procedures other than those specified here may result in exposure to hazardous radiation. Should any trouble occur, remove the power source and refer servicing to qualified personnel.
PROTECT YOUR FURNITURE!!
This system is equipped with non-skid rubber ‘feet’ to prevent the product from moving when you operate the controls. These ‘feet’ are made from non-migrating rubber material specially formulated to avoid leaving any marks or stains on your furniture. However certain types of oil based furniture polishes, wood preservatives, or cleaning sprays may cause the rubber ‘feet’ to soften, and leave marks or a rubber residue on the furniture. To prevent any damage to your furniture we strongly recommend that you purchase small selfadhesive felt pads, available at hardware stores and home improvement centers everywhere, and apply these pads to the bottom of the rubber ‘feet’ before you place the product on fine wooden furniture.
DEAR JENSEN CUSTOMER
Selecting fine audio equipment such as the unit you’ve just purchased is only the start of your musical enjoyment. Now it’s time to consider how you can maximize the fun and excitement your equipment offers. This manufacturer and the Electronic Industries Association’s Consumer Electronics Group want you to get the most out of your equipment by playing it at a safe level. One that lets the sound come through loud and clear without annoying blaring or distortion and, most importantly, without affecting your sensitive hearing. Sound can be deceiving. Over time your hearing “comfort level” adapts to higher volumes of sound. So what sounds “normal” can actually be loud and harmful to your hearing. Guard against this by setting your equipment at a safe level BEFORE your hearing adapts.
To establish a safe level:
- Start your volume control at a low setting.
- Slowly increase the sound until you can hear it comfortably and clearly, and without distortion. Once you have established a comfortable sound level:
- Set the dial and leave it there. Taking a minute to do this now will help to prevent hearing damage or loss in the future. After all, we want you listening for a lifetime. We Want You Listening for a Lifetime Used wisely, your new sound equipment will provide a lifetime of fun and enjoyment. Since hearing damage from loud noise is often
undetectable until it is too late, this manufacturer and the Electronic Industries Association’s Consumer Electronics Group recommend you avoid prolonged exposure to excessive noise.
Customer’s Record:
The serial number of this product is found on its bottom. You should note the serial number of this unit in the space provided as a permanent record of your purchase to aid in identification in the event of theft of loss.
LOCATION OF CONTROLS

| 1 | LED DISPLAY | 17 | PROGRAM / ALARM 1 BUTTON |
| 2 | SPEAKERS | 18 | REPEAT / ALARM 2 BUTTON |
| 3 | CD INDICATOR | 19 | FUNCTION BUTTON |
| 4 | FM INDICATOR | 20 | DIMMER / SNOOZE / SLEEP BUTTON |
| 5 | AM INDICATOR | 21 | POWER BUTTON |
| 6 | AUX-IN INDICATOR | 22 | SKIP BUTTON |
| 7 | PROGRAM INDICATOR | 23 | SKIP BUTTON |
| 8 | REPEAT INDICATOR | 24 | ALARM OFF/ PLAY/PAUSE BUTTON |
| 9 | PM INDICATOR | 25 | TIME SET/ CD STOP BUTTON |
| 10 | SLEEP INDICATOR | 26 | CD DOOR OPEN/CLOSE |
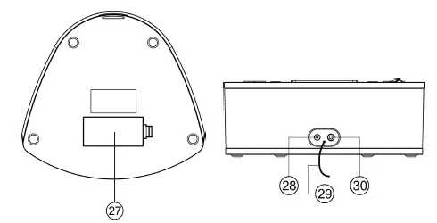
| 11 | ALARM 2 INDICATOR | 27 | BATTERY DOOR |
| 12 | ALARM 1 INDICATOR | 28 | DC IN JACK |
| 13 | USB CHARGING PORT | 29 | FM ANTENNA |
| 14 | CD DOOR | 30 | AUX-IN JACK |
| 15 | VOLUME + BUTTON | ||
| 16 | VOLUME – BUTTON |
POWER SOURCE (AC ADAPTOR ONLY)
The unit is powered by an external 120V AC adaptor with an output of AC 5V / 3A. The unit is also equipped with a battery back-up system for the clock that is powered by 2 x ‘AA’ (UM-3) batteries (Not included).
POWER CONNECTION
- Plug the cord of the power adaptor into the DC IN JACK (#28) located on the back of the unit.
- Plug the power adaptor into a household wall socket. The unit is powered up and in standby mode when you see the display turn on and begin flashing.
Battery Back-up system
- The unit is equipped with a battery back-up system. It requires 2 x ‘AA’ (UM-3) batteries (Not included).
- Open the BATTERY DOOR (#27) on the bottom of the unit. Insert the batteries into the backup batteries compartment and make sure the positive and negative (+ or -) sides of the batteries are in contact with the corresponding terminals in the batteries compartment . Replace the BATTERY DOOR (#27).
- If a power outage occurs; the unit automatically switches to the battery power supply and keeps the clock settings.
- When replacing the battery, do not disconnect the power adaptor. Otherwise, all clock and alarm settings will be lost.
Note:
The unit will still operate without the batteries installed, but the time and alarm settings will be lost and have to be reset in the event of a power interruption or failure.
BATTERY NOTE AND CARE
- Batteries shall not be exposed to excessive heat such as sunshine, fire, or the like.
- Be sure that all batteries are installed correctly. The wrong polarity may damage the unit.
- Do not mix old and new batteries.
- Do not mix alkaline, standard (carbon-zinc), or rechargeable (nickel-cadmium) batteries.
- Only batteries of the same or equivalent type as recommended are to be used.
- If the unit is not be used for an extended period of time, remove all batteries. An old or leaking battery can cause damage to the unit and may void the warranty.
- Do not dispose batteries in fire. Batteries may leak or explode.
- Danger of explosion if battery is incorrectly replaced.
STANDBY MODE
Standby Mode is when the unit is first plugged into an AC power source (display flashing), or after all the settings have been made and the time is showing on the display. The radio, CD player and Aux-in modes are all off, no buttons are pressed and no alarms are sounding.
SETTING THE CLOCK
The LED DISPLAY (#1) will flash when the unit is plugged in for the first time. The unit is now in standby mode.
Setting the Time:
- In standby mode, press and hold the TIME SET BUTTON (#25) until the hour digits of the clock display begin to flash.
- Repeatedly tap the SKIP BUTTON (#22) or SKIP BUTTON (#23) to set the hour. Press and hold the buttons for fast reverse/advance setting. Make sure the correct AM or PM time is selected when setting the hour.
Note: The PM INDICATOR (#9) is located in the right part of the LED DISPLAY (#1). The PM INDICATOR (#9) will light when the hour digits selected are for PM time. The PM INDICATOR (#9) will be off when the hour digits selected are for AM time. - Press the TIME SET BUTTON (#25) to confirm the time and the minute digits will flash.
- Repeatedly tap the SKIP BUTTON (#22) or SKIP BUTTON (#23) to set the minute. Press and hold the buttons for fast reverse/advance setting.
- Tap the TIME SET BUTTON (#25) to confirm and complete the setting. The display will stop flashing.
Checking the time:
Press and hold the TIME SET BUTTON (#25) 2 seconds when the unit is in CD, FM or AM modes and the current time will show on the LED DISPLAY (#1) for 5 seconds. The previous display will automatically return once the 5 seconds expires.
ALARM OPERATION
The unit features a dual alarm clock.
Setting the alarms:
- In standby mode, press and hold the ALARM 1 BUTTON (#17), The ALARM 1 INDICATOR (#12) and the hour of the alarm time will flash.
- Tap the SKIP BUTTON (#23) or SKIP BUTTON (#22) to set the hour. Press and hold the buttons for fast advance/reverse setting.
Note: Make sure the correct AM or PM time is selected when setting the hour. - Tap the ALARM 1 BUTTON (#17) to confirm the hour setting, the minute digits will flash to prompt for input.
- Tap the SKIP BUTTON (#23) or SKIP BUTTON (#22) to set the minute. Press and hold the button for fast reverse/advance setting.
- Tap the ALARM 1 BUTTON (#17) to confirm the minute setting. The wake up option will now show on the LED DISPLAY (#1) to prompt for input.
- Tap the SKIP BUTTON (#23) or SKIP BUTTON (#22) to select the wake up option (Cd-CD, bU-ALARM, rAd-FM or rAd-AM).
- Tap the ALARM 1 BUTTON (#17) to confirm and complete the ALARM 1 setting.
- Setting the ALARM 2 time uses the same steps above, but using the ALARM 2 BUTTON (#18) in place of the ALARM 1 BUTTON (#17).
Note: The unit will automatically save the settings and return to Standby mode if you do not tap any button within 10 seconds.
Wake to music from CD – Turning the wake to CD on:
- The CD will automatically turn on when the alarm time is reached. The corresponding ALARM 1 INDICATOR (#12) or ALARM 2 INDICATOR (#11) will flash.
- The unit will start playing the CD when the wake time is reached, so make sure the CD is inserted and can be properly played, otherwise the unit will default to the alarm sound automatically.
- The volume level will gradually increase from low to high.
- Press the SNOOZE BUTTON (#20) to temporarily turn off the CD player, or press and hold the ALARM OFF BUTTON (#24) or POWER BUTTON (#21) two seconds to turn the alarm off. If no buttons are pressed when the radio is playing, it will continue playing for 60 minutes and then turn off automatically.
Waking to Alarm – Turning wake to ALARM on:
- A beeping Alarm will automatically turn on when the alarm time is reached. The corresponding ALARM 1 INDICATOR (#12) or ALARM 2 INDICATOR (#11) will flash.
- The volume level of the alarm sound will gradually increase from low to high.
- Press the SNOOZE BUTTON (#20) to temporarily turn off the alarm, or press and hold the ALARM OFF BUTTON (#24) or POWER BUTTON (#21) two seconds to turn the alarm off. If no buttons are pressed when the alarm is sounding, it will continue sounding for 60 minutes and then turn off automatically.
Wake to Radio (AM or FM) – Turning the wake to FM or AM on:
- The Radio will automatically turn on when the alarm time is reached. The corresponding ALARM 1 INDICATOR (#12) or ALARM 2 INDICATOR (#11) will flash.
- The unit will turn on to the last FM or AM radio station you listened to when the wake time is reached, so make sure the station is set to the one you want to wake up to.
- The volume level will gradually increase from low to high.
- Press the SNOOZE BUTTON (#20) to temporarily turn off the radio, or press and hold the ALARM OFF BUTTON (#24) or POWER BUTTON (#21) two seconds to turn the alarm off. If no buttons are pressed when the radio is playing, it will continue playing for 60 minutes and then turn off automatically.
Review the Alarm time setting:
- In standby mode, press and hold the ALARM 1 BUTTON (#17), The ALARM 1 INDICATOR (#12) and the hour of the alarm time will flash.
- Tap the ALARM 1 BUTTON (#17) to check the minute of the alarm time.
- Tap the ALARM 1 BUTTON (#17) again to check the wake up option.
- Tap the ALARM 1 BUTTON (#17) again return to standby mode.
- Review the ALARM 2 setting uses the same steps above, but using the ALARM 2 BUTTON (#18) in place of the ALARM 1 BUTTON (#17).
Setting the alarms ON/OFF:
- In Standby mode, tap the ALARM 1 BUTTON (#17) to turn on Alarm 1. The ALARM 1 INDICATOR (#12) on the LED DISPLAY (#1) will turn on.
- Tap the ALARM 1 BUTTON (#17) again to turn off the Alarm 1. The ALARM 1 INDICATOR (#12) will be turned off.
- Turning Alarm 2 on/off will uses the same steps above, but using the ALARM 2 BUTTON (#18) in place of the ALARM 1 BUTTON (#17).
SNOOZE FUNCTION
When the alarm sounds, tap the SNOOZE BUTTON (#20) to temporarily turn off the alarm and activate the snooze function. The alarm will stop and turn on again 9 minutes later. This can be repeated when the alarm sounds again.
Notes:
- The corresponding AL1 or AL2 alarm indicator will flash during the snooze period.
- To cancel the snooze period and the alarm, press the POWER BUTTON (21).
RADIO OPERATION
Listening to the radio:
1. Tap the POWER BUTTON (#21) to turn the unit on.
2. If you repeatedly tap the FUNCTION BUTTON (#19), you will step through the different modes available: CD -> FM Radio -> AM Radio -> AUX
3. Tap the FUNCTION BUTTON (#19) repeatedly to select either FM or AM radio mode.
4. The FM or AM frequency will show on the LED display (#1).
5. Manual Tuning: Repeatedly tap the SKIP BUTTON (#22) or SKIP BUTTON (#23) to manually adjust the frequency.
6. Automatic Tuning: Press and hold the SKIP BUTTON (#22) or SKIP BUTTON (#23) to automatically tune to the previous or next available station.
7. Tap the VOL + / – BUTTONS (#15 / #16) to obtain the desired volume level.
8. Press and hold the POWER BUTTON (#21) to turn the radio off.
Notes:
• Use Manual Tuning to select weaker stations that might be skipped during Automatic Tuning.
• If the Automatic Tuning does not stop on the exact frequency of the station, for example, it stops on 88.9 MHz instead of 88.8 MHz, use the manual tuning method to “fine tune” to the exact frequency of the desired station.
TIPS FOR BEST RADIO RECEPTION
AM – The AM antenna is built inside the radio. If AM reception is weak, change the position of the unit until the internal antenna picks up the strongest signal.
FM – If FM reception is weak, fully extend the FM ANTENNA (#29) and vary the position and location of the antenna until you find the strongest signal.
To set / recall the radio presets:
The unit allows you to store up to 10 FM stations and 10 AM stations for easy recall at any time.
- Set to FM or AM mode
- Turn to the desired radio station by “MANUAL” or “AUTO” tuning method.
- Press the PROGRAM BUTTON (#17) to enable program mode, “P01” appears in display and flashing.
- Press BUTTON (#23) or BUTTON (#22) repeatedly to select the desired station memory for storage.
- Press the PROGRAM BUTTON (#17) again to confirm the setting.
- Repeat step 2 to 5 to store other stations if necessary.
Note: You can overwrite a present station by storing another frequency in its place.
Recalling the Preset Stations
In FM or AM radio mode, tap the PROGRAM BUTTON (#17), the preset station number Pxx will show on the LED DISPLAY (#1), tap the SKIP BUTTON (#22) or SKIP BUTTON (#23) to select the preset stations.
CD OPERATION
PLEASE READ THIS IMPORTANT INFORMATION:
CD mechanisms used in devices like this are designed to fully read all commercial CDs. They will also read self-compiled CD-R/CD-RW discs but it may take up to 10 seconds for playback to start. If playback does not start, it is likely due to the quality of the CD-R/RW disc and/or the compatibility of the CD compilation software. Manufacturer is not responsible for the playback quality of CD-R/RW discs. Do not attach a label or seal to either side of the CD-R/RW disc. It may cause a malfunction.
PLAY MODE
- Tap the POWER BUTTON (#21) to turn the unit on.
- Repeatedly tap the FUNCTION BUTTON (#19) to select CD mode. The CD indicator (#3) will light on the left part of the LED DISPLAY (#1).
- Open the CD DOOR (#14), load a CD with the label side facing upward and then close the CD door.
- Disc information (total number of tracks) will appear on the LED DISPLAY (#1).
- Press PLAY/PAUSE BUTTON (#24) to start playing the CD. The track time will show on the LED DISPLAY(#1).
- While playing, press the PLAY/PAUSE BUTTON (#24) to pause, the track time will flash on the LED DISPLAY (#1). Press PLAY/PAUSE BUTTON (#24) again to resume playing.
- Tap VOLUME + (#15) or VOLUME – (#16) to the desired volume level.
- Press CD STOP BUTTON (#25) to stop playing.
- Press and hold the POWER BUTTON to turn off the unit.
NOTES: – If skipping occurs during CD play, try turning the volume down. Do not open the CD DOOR when a CD is playing.
REPEAT MODE
Repeat 1:
Tap the REPEAT BUTTON (#18), the REPEAT INDICATOR (#8) will light up and flash. The current track will be repeated until it is interrupted.
Repeat All:
Tap the REPEAT BUTTON (#18) again; the REPEAT INDICATOR (#8) will stay lit. The whole disc will be played repeatedly.
To Cancel Repeat Function:
Tap the REPEAT BUTTON (#18) again. The REPEAT INDICATOR (#8) will turn off.
SKIP AND SEARCH MODE
1. During Play or Pause mode, tap the SKIP BUTTON (#23) or SKIP BUTTON (#22) to go to the next track or go back to the beginning of the current track.
2. During play mode or Pause mode, press and hold the SKIP BUTTON (#23) or SKIP BUTTON (#22) to search within the current track with audible high speed playback.
PROGRAM PLAY MODE
This function allows music tracks to be played in a programmed sequence.
NOTE: Program can only be set in STOP mode.
1. Press and hold the PROGRAM BUTTON (#17). The PROGRAM INDICATOR (#7) light on the LED DISPLAY and the program number P01 will flash.
2. Press the SKIP BUTTON (#23) SKIP BUTTON (#22) to select the track to be programmed.
3. Press the PROGRAM BUTTON (#17) again to store the selection. The program number will advance to P02 and flash to prompt for the next input.
4. You may repeat steps 2 to 3 to program up to 20 tracks. As soon as you have entered the 20th track, the display will show “FUL”.
5. Press the PLAY/PAUSE BUTTON (#24) to start playback in order.
6. Press the CD STOP BUTTON (#25) to stop playback and press it twice to clear all programmed tracks. The PROGRAM INDICATOR (#7) will go off
Note:
Normally all the programmed tracks will be played through once and then stop. However, you may use the REPEAT function to repeatedly play a certain track (Repeat 1) or all tracks
(Repeat All) in the program. You may also tap the SKIP BUTTON (#23) to go directly to other tracks ahead or the SKIP BUTTON (#22) to go back to previous track(s) during program play.
AUXILIARY INPUT
This unit provides an AUX IN JACK (#30) for connecting external audio devices like MP3 players, CD players, smart phones and iPods (except iPod shuffle 3rd generation) to listen to your external source through the speakers of this system.
1. Use an audio cable (not included) with one 3.5 mm stereo plug on each end of the cable.
2. Plug one end into the AUX IN JACK (#30) on the main unit and the other end of the cable into the Line-out Jack or Headphone Jack of your external audio device.
3. Turn on the external audio device.
4. To select auxiliary audio input, tap the FUNCTION BUTTON (#19) to select AUX mode.
5. The volume level can now be controlled through the main unit. Operate all other functions on the auxiliary device as usual.
Notes:
- If the Line Out Jack of your external device is connected, then you only need to adjust the volume control of this system. If the Headphone Jack of your external device is connected, then you may need to adjust both the volume control of your external device and the volume control of this system to find the most desirable volume setting.
- Press and hold the POWER BUTTON (#21) to turn off the unit when you finish listening. Don’t forget to switch off the power on your external device as well.
SLEEP OPERATION
The SLEEP TIMER feature allows you to turn off the unit automatically after a designated time has elapsed.
1. Select CD, FM/AM or AUX Mode and begin playing music from the selected source.
2. Tap the SLEEP BUTTON (#20) to enter sleep mode.
3. Repeatedly tap the SLEEP BUTTON (#20) to select the sleep timer 90 – 80 – 70 – 60 – 50 – 40 – 30 – 20 – 10 – 05 – OFF (in minutes). The unit will play for the selected length of time then turn off automatically.
4. To cancel the sleep timer, repeatedly tap the SLEEP BUTTON (#20) until the timer shows OFF.
5. To turn the unit “Off” before the selected length of time, press POWER BUTTON (#21) at any time.
Note: Tap the SLEEP BUTTON (#20) once to check the remaining sleep time.
DIMMER OPERATION
Press and hold the DIMMER BUTTON (#20) repeatedly to select the brightness settings of the display (Low or High).
USB CHARGING (CHARGING CORD NOT INCLUDED)
THE UNIT FEATURES A FRONT MOUNTED USB CHARGING PORT (DC 5V 2.1 A) FOR CHARGING YOUR CELL PHONE.
1. Plug the standard end of a USB charging cable (not included) into the USB CHARGING PORT (#13) located on the front of the unit. Plug the other end of the charging cable into your device.
2. Check the battery charging indicator on your device to make sure the charging process starts normally.
3. Unplug the cable when your device is fully charged.
WARNING!
The USB port located on the front of the unit is designed for charging a smart phone or small portable device and does not support data transfer or connection to a computer. Don’t connect the USB port of the unit to another USB charger. It may damage both units and void the warranty.
CARE AND MAINTENANCE
1. Do not subject the unit to excessive force, shock, dust or extreme temperature.
2. Do not tamper the internal components of the unit.
3. Clean your unit with a dry cloth. Solvent or detergent should never be used.
4. Avoid leaving your unit in direct sunlight or in hot, humid or dusty places.
5. Keep your unit away from heating appliances and sources of electrical noise such as fluorescent lamps or motors.
6. If drop-outs or interruptions occur in the music during CD play, or if the CD fails to play at all, its bottom surface may require cleaning. Before playing, wipe the disc from the center outwards with a good soft cleaning cloth.
TROUBLESHOOTING GUIDE
If you experience difficulties in the use of this clock radio, please check the following or call 1-800-777-5331 for Customer Service and support
| Symptom | Possible Cause | Solution |
| Noise or sound distorted on AM or FM broadcast | – Station not tuned properly for AM or FM. – The internal antennas are not positioned correctly | – Retune the AM or FM broadcast station. – Reposition the unit until the best reception is obtained. |
| AM or FM no sound | – Unit not in “RADIO” function mode. – Volume set at minimum | – Tap the FUNCTION BUTTON to select FM or AM mode. – Increase Volume. |
| CD player will not play | – Unit not in CD function mode. – CD is not loaded properly. – If the CD is self-compiled, the media used may not be compatible with the player. | – Select CD function mode. – Load CD with label side up. – Use better quality blank media and retest. |
| CD skips while playing | Disc is dirty or scratched. | Wipe CD with clean cloth or use another disc. |
| Intermittent sound from CD player | – Dirty or defective disc – Dirty pick up lens – Player is subject to excessive shock or vibration | – Clean or replace the defective disc. – Use a CD lens cleaning disc to clean the lens. – Relocate the player away from shock or vibration. |
| Sound appears distorted at high volume setting | Volume control is set to maximum. | Adjust Volume control to a lower comfortable level. |
| No charging from the USB port | The USB cable is damaged or not securely attached | Replace the USB cable or try reconnecting it again |
SPECIFICATION
- Power: AC Adaptor:
- Input AC 100-240V ~
- Output: DC 5V 3A
- Backup battery: 2 x AA batteries (not included)
- USB Charging: DC 5V 2.1A
- Frequency Range: FM 87.5 – 108 MHz AM 520 – 1710 kHz
At Spectra, environmental and social responsibility is a core value of our business. We are dedicated to continuous implementation of responsible initiatives with an aim to conserve and maintain the environment through responsible recycling. Please visit us at http://www.spectraintl.com/green.htm for more information on Spectra’s green initiatives or to find a recycler in your area.
90 DAY LIMITED WARRANTY AND SERVICE VALID IN THE U.S.A. ONLY
SPECTRA MERCHANDISING INTERNATIONAL, INC. warrants this unit to be free from defective materials or factory workmanship for a period of 90 days from the date of original customer purchase and provided the product is utilized within the U.S.A. This warranty is not assignable or transferable. Our obligation under this warranty is the repair or replacement of the defective unit or any part thereof, except batteries, when it is returned to the SPECTRA Service Department, accompanied by proof of the date of original consumer purchase, such as a duplicate copy of a sales receipt. You must pay all shipping charges required to ship the product to SPECTRA for warranty service. If the product is repaired or replaced under warranty, the return charges will be at SPECTRA’s expense. There are no other express warranties other than those stated herein.
This warranty is valid only in accordance with the conditions set forth below:
- The warranty applies to the SPECTRA product only while:
- It remains in the possession of the original purchaser and proof of purchase is demonstrated.
- It has not been subjected to accident, misuse, abuse, improper service, usage outside the descriptions and warnings covered within the user manual or non-SPECTRA approved modifications.
- Claims are made within the warranty period.
- This warranty does not cover damage or equipment failure caused by electrical wiring not in compliance with electrical codes or SPECTRA user manual specifications, or failure to provide reasonable care and necessary maintenance as outlined in the user manual.
- Warranty of all SPECTRA products applies to residential use only and is void when products are used in nonresidential environment or installed outside the United States. This warranty gives you specific legal rights, and you may also have other rights which vary from state to state. TO OBTAIN SERVICE please remove all batteries (if any) and pack the unit carefully and send it freight prepaid to SPECTRA at the address shown below. IF THE UNIT IS RETURNED WITHIN THE WARRANTY PERIOD shown above, please include a proof of purchase (dated cash register receipt) so that we may establish your eligibility for warranty service and repair of the unit without cost. Also include a note with a description explaining how the unit is defective. A customer service representative may need to contact you regarding the status of your repair, so please include your name, address, phone number and email address to expedite the process.
IF THE UNIT IS OUTSIDE THE WARRANTY PERIOD, please include a check for $25.00 to cover the cost of repair, handling and return postage. All out of warranty returns must be sent prepaid. It is recommended that you contact SPECTRA first at 1-800-777-5331 or by email at [email protected] for updated information on the unit requiring service. In some cases, the model you have may be discontinued, and SPECTRA reserves the right to offer alternative options for repair or replacement.
SPECTRA MERCHANDISING INTERNATIONAL, INC. 4230 North Normandy Avenue, Chicago, IL60634, USA. 1-800-777-5331
To register your product, visit the link on the website below to enter your information. http://www.spectraintl.com/wform.htm




















