TITAN TTT817GBC 36V 23cm 2-in-1 Brush Cutter
Safety warnings
General safety warnings
- Never allow children, persons with reduced physical, sensory or mental capabilities or lack of experience and knowledge or people unfamiliar with these instructions to use the machine, local regulations may restrict the age of the operator.
- Children shall not play with the appliance.
- Cleaning and user maintenance shall not be made by children.
- In case of lack of knowledge or first use of this product, we recommend that you have a training / training with a professional or an experienced person.
- Do not use the device while tired, sick or under the influence of alcohol or other drugs.
General power tool safety warnings
WARNING! Read all safety warnings, instructions, illustrations and specifications provided with this power tool. Failure to follow all instructions listed below may result in electric shock, fire and/or serious injury.
Save all warnings and instructions for future reference.
The term “power tool” in the warnings refers to your mains-operated (corded) power tool or battery-operated (cordless) power tool.
Work area safety
- Keep work area clean and well lit. Cluttered or dark areas invite accidents.
- Do not operate power tools in explosive atmospheres, such as in the presence of flammable liquids, gases or dust. Power tools create sparks which may ignite the dust or fumes.
- Keep children and bystanders away while operating control
Electrical safety
- Power tool plugs must match the outlet. Never modify the plug in any way. Do not use any adapter plugs with earthed (grounded) power tools. Unmodified plugs and matching outlets will reduce risk of electric shock.
- Avoid body contact with earthed or grounded surfaces, such as pipes, radiators, ranges and refrigerators. There is an increased risk of electric shock if your body is earthed or grounded.
- Do not expose power tools to rain or wet conditions. Water entering a power tool will increase the risk of electric shock.
- Do not abuse the cord. Never use the cord for carrying, pulling or unplugging the power tool. Keep cord away from heat, oil, sharp edges or moving parts. Damaged or entangled cords increase the risk of electric shock.
- When operating a power tool outdoors, use an extension cord suitable for outdoor use. Use of a cord suitable for outdoor use reduces the risk of electric shock.
- If operating a power tool in a damp location is unavoidable, use a residual current device (RCD) protected supply. Use of an RCD reduces the risk of electric shock.
Personal safety
- Stay alert, watch what you are doing and use common sense when operating a power tool. Do not use a power tool while you are tired or under the influence of drugs, alcohol or medication. A moment of inattention while operating power tools may result in serious personal injury.
- Use personal protective equipment. Always wear eye protection. Protective equipment such as dust mask, non-skid safety shoes, hard hat, or hearing protection used for appropriate conditions will reduce personal injuries.
- Prevent unintentional starting. Ensure the switch is in the off-position before connecting to power source and/or battery pack, picking up or carrying the tool. Carrying power tools with your finger on the switch or energizing power tools that have the switch on invites accidents.
- Remove any adjusting key or wrench before turning the power tool on. A wrench or a key left attached to a rotating part of the power tool may result in personal injury.
- Do not overreach. Keep proper footing and balance at all times. This enables better control of the power tool in unexpected situations.
- Dress properly. Do not wear loose clothing or jewellery. Keep your hair and clothing away from moving parts. Loose clothes, jewellery or long hair can be caught in moving parts.
- If devices are provided for the connection of dust extraction and collection facilities, ensure these are connected and properly used. Use of dust collection can reduce dust-related hazards.
- Do not let familiarity gained from frequent use of tools allow you to become complacent and ignore tool safety principles. A careless action can cause severe injury within a fraction of a second.
Power tool use and care
- Do not force the power tool. Use the correct power tool for your application. The correct power tool will do the job better and safer at the rate for which it was designed.
- Do not use the power tool if the switch does not turn it on and off. Any power tool that cannot be controlled with the switch is dangerous and must be repaired.
- Disconnect the plug from the power source and/or remove the battery pack, if detachable, from the power tool before making any adjustments, changing accessories, or storing power tools. Such preventive safety measures reduce the risk of starting the power tool accidentally.
- Store idle power tools out of the reach of children and do not allow persons unfamiliar with the power tool or these instructions to operate the power tool. Power tools are dangerous in the hands of untrained users.
- Maintain power tools and accessories. Check for misalignment or binding of moving parts, breakage of parts and any other condition that may affect the power tool’s operation. If damaged, have the power tool repaired before use. Many accidents are caused by poorly maintained power tools.
- Keep cutting tools sharp and clean. Properly maintained cutting tools with sharp cutting edges are less likely to bind and are easier to control.
- Use the power tool, accessories and tool bits etc. in accordance with these instructions, taking into account the working conditions and the work to be performed. Use of the power tool for operations different from those intended could result in a hazardous situation.
- Keep handles and grasping surfaces dry, clean and free from oil and grease. Slippery handles and grasping surfaces do not allow for safe handling and control of the tool in unexpected situations.
Battery tool use and care
- Recharge only with the charger specified by the manufacturer. A charger that is suitable for one type of battery pack may create a risk of fire when used with another battery pack.
- Use power tools only with specifically designated battery packs. Use of any other battery packs may create a risk of injury and fire.
- When battery pack is not in use, keep it away from other metal objects, like paper clips, coins, keys, nails, screws or other small metal objects that can make a connection from one terminal to another. Shorting the battery terminals together may cause burns or a fire.
- Under abusive conditions, liquid may be ejected from the battery; avoid contact. If contact accidentally occurs, flush with water. If liquid contacts eyes, additionally seek medical help. Liquid ejected from the battery may cause irritation or burns.
- Do not use battery pack or tool that is damaged or modified. Damaged or modified batteries may exhibit unpredictable behavior resulting in fire, explosion or risk of injury.
- Do not expose a battery pack or tool to fire or excessive temperature. Exposure to fire or temperature above 130 °C may cause explosion.
- Follow all charging instructions and do not charge the battery pack or tool outside the temperature range specified in the instructions. Charging improperly or at temperatures outside the specified range may damage the battery and increase the risk of fire.
Service
- Have your power tools serviced by a qualified repair person using only identical replacement parts. This will ensure that safety of the power tool is maintained.
- Never service damaged battery packs. Service of battery packs should only be performed by the manufacturer or authorized service providers.
Electrically powered grass trimmer safety warnings
IMPORTANT
READ CAREFULLY BEFORE USE KEEP FOR FUTURE REFERENCE
Training
- Read the instructions carefully. Be familiar with the controls and the proper use of the product.
- Never allow children, persons with reduced physical, sensory or mental capabilities or lack of experience and\ knowledge or people unfamiliar with these instructions to use the product. Local regulations may restrict the age of the operator.
- Keep in mind that the operator or user is responsible for accidents or hazards occurring to other people or their property.
Preparation
- Before use check the supply and extension cord for signs of damage or aging. If the cord becomes damaged during use, disconnect the cord from the supply immediately. DO NOT TOUCH THE CORD BEFORE DISCONNECTING THE SUPPLY. Do not use the machine if the cord is damaged or worn.
- Before use, always visually inspect the machine for damaged, missing or misplaced guards or shields.
- Never operate the machine while people, especially children, or pets are nearby.
Operation
- Wear eye protection and stout shoes at all times while operating the machine.
- Avoid using the machine in bad weather conditions especially when there is a risk of lightning.
- Use the machine only in daylight or good artificial light.
- Never operate the machine with damaged guards or shields or without guards or shields in place.
- Switch on the motor only when the hands and feet are away from the cutting means.
- Always disconnect the machine from the power supply (i.e. remove the plug from the mains, remove the disabling device or removable battery)
- whenever the machine is left unattended;
- before clearing a blockage;
- before checking, cleaning or working on the machine;
- after striking a foreign object;
- whenever the machine starts vibrating abnormally.
- Take care against injury to feet and hands from the cutting means.
- Always ensure that the ventilation openings are kept clear of debris.
- The operation of the tool must be limited, and some rest must be taken between two sessions (e.g. 60 min of operation and 30 min of rest).
Maintenance and storage
- Disconnect the machine from the power supply (i.e. remove the plug from the mains, remove the disabling device or removable battery) before carrying out maintenance or cleaning work.
- Use only the manufacturer’s recommended replacement parts and accessories.
- Inspect and maintain the machine regularly. Have the machine repaired only by an authorized repairer.
- When not in use, store the machine out of the reach of children.
Additional safety warnings for grass trimmer and brush cutter
- Do not use the machine in bad weather conditions, especially when there is a risk of lightning. This decreases the risk of being struck by lightning.
- Thoroughly inspect the area for wildlife where the machine is to be used. Wildlife may be injured by the machine during operation.
- Thoroughly inspect the area where the machine is to be used and remove all stones, sticks, wires, bones, and other foreign objects. Thrown objects can cause personal injury.
- Before using the machine, always visually inspect to see that the cutter or blade and the cutter or blade assembly are not damaged. Damaged parts increase the risk of injury.
- Follow instructions for changing accessories. Improperly tightened blade securing nuts or bolts may either damage the blade or result in it becoming detached.
- The rated rotational speed of the blade must be at least equal to the maximum rotational speed marked on the machine. Blades running faster than their rated rotational speed can break and fly apart.
- Wear eye, ear, head and hand protection. Adequate protective equipment will reduce personal injury by flying debris or accidental contact with the cutting line or blade.
- While operating the machine, always wear safety footwear. Do not operate the machine when barefoot or wearing open sandals. This reduces the chance of injury to the feet from contact with a moving cutter, line or blade.
- While operating the machine, always wear long trousers. Exposed skin increases the likelihood of injury from thrown objects.
- Keep bystanders away while operating the machine. Thrown debris can result in serious personal injury.
- Always use two hands when operating the machine. Holding the machine with both hands will avoid loss of control.
- Hold the machine by insulated gripping surfaces only, because the cutting line or blade may contact hidden wiring or its own cord. Cutting line or blades contacting a “live” wire may make exposed metal parts of the machine “live” and could give the operator an electric shock.
- Always keep proper footing and operate the machine only when standing on the ground. Slippery or unstable surfaces may cause a loss of balance or control of the machine.
- Do not operate the machine on excessively steep slopes. This reduces the risk of loss of control, slipping and falling which may result in personal injury.
- When working on slopes, always be sure of your footing, always work across the face of slopes, never up or down and exercise extreme caution when changing direction. This reduces the risk of loss of control, slipping and falling which may result in personal injury.
- Keep the supply cord away from the cutter, line or blade. A damaged supply cord may result in electric shock, fire and/or serious injury.
- Keep all parts of the body away from the cutter, line or blade when the machine is operating. Before you start the machine, make sure the cutter, line or blade is not contacting anything. A moment of inattention while operating the machine may result in injury to yourself or others.
- Do not operate the machine above waist height. This helps prevent unintended cutter or blade contact and enables better control of the machine in unexpected situations.
- When cutting brush or saplings that are under tension, be alert for spring back. When the tension in the wood fibers is released, the brush or sapling may strike the operator and/or throw the machine out of control.
- Use extreme caution when cutting brush and saplings. The slender material may catch the blade and be whipped toward you or pull you off balance.
- Maintain control of the machine and do not touch cutters, lines or blades and other hazardous moving parts while they are still in motion. This reduces the risk of injury from moving parts.
- When clearing jammed material or servicing the machine, make sure all power switches are off and the power cord is disconnected. Unexpected starting of the machine while clearing jammed material or servicing may result in serious personal injury.
- Carry the machine with the machine switched off Mand away from your body. Proper handling of the machine will reduce the likelihood of accidental contact with a moving cutter, line or blade.
- When transporting or storing the machine, always fit the cover on metal blades. Proper handling of the machine will reduce the likelihood of accidental contact with the blade.
- and blades specified by the manufacturer. Incorrect replacement parts may increase the risk of breakage and injury.
Blade thrust causes and related warnings
Blade thrust is a sudden sideways, forward or backward motion of the machine, which may occur when the blade jams or catches on an object such as a sapling or a tree stump. It can be violent enough to cause the machine and/ or operator to be propelled in any direction, and possibly lose control of the machine.
Blade thrust and its related hazards can be avoided by taking proper precautions as given below.
- Maintain a firm grip with both hands on the machine and position your arms to resist blade thrust. Position your body to the left side of the machine. Blade thrust can increase the risk of injury due to the machine moving unexpectedly. Blade thrust can be controlled by the operator if proper precautions are taken.
- If the blade binds, or when interrupting a cut for any reason, switch the machine off and hold the machine motionless in the material until the blade comes to a complete stop. While the blade is binding, never attempt to remove the machine from the material or pull the machine backward while the blade is in motion, otherwise blade thrust may occur. Investigate and take corrective actions to eliminate the cause of blade binding.
- Do not use blunt or damaged blades. Blunt or damaged blades increase the risk of jamming or catching on an object, resulting in blade thrust.
- Always maintain good visibility of the material being cut. Blade thrust is more likely to occur in areas where it is difficult to see the material being cut.
- If you are approached by another person while operating the machine, switch the machine off. There is an increased risk of injury to other persons being struck by the moving blade in the event of blade thrust.
Additional safety warnings for battery pack
- Battery pack needs to be charged before use. Always refer to the charger’s instruction and charge it properly.
- Remove the battery pack from the product when not in use.
- Don’t maintain the battery pack on the charger when not in use.
- After extended periods of storage, it may be necessary to charge and discharge the battery pack several times to obtain the maximum performance.
- Longer life and better performance can be obtained if the battery is charged when the air temperature is between 18 °C and 24 °C. Do not charge the battery in air temperature below 5 °C or above 40 °C. This is important as it can prevent serious damage to the battery.
- Do not charge battery in a damp or wet location. Following this rule will reduce the risk of electric shock.
- Do not disassemble the battery and avoid mechanical damage to the battery. Risk of short circuit and fumes may be emitted. Ensure fresh air and seek medical assistance in the event of discomfort.
- When disposing of battery pack, keep the battery pack of different electrochemical systems separate from each other.
Vibration and noise reduction
To reduce the impact of noise and vibration emission, limit the time of operation, use low-vibration and low-noise operating modes as well as wear personal protective equipment.
Take the following points into account to minimize the vibration and noise exposure risks:
- Only use the product as intended by its design and these instructions.
- Ensure that the product is in good condition and well maintained.
- Use correct attachments for the product and ensure they are in good condition.
- Keep tight grip on the handles/grip surface.
- Maintain this product in accordance with these instructions and keep it well lubricated (where appropriate).
- Plan your work schedule to spread any high vibration tool use across a longer period of time.
- Prolonged use of the product exposes the user to vibrations that can cause a range of conditions collectively known as hand-arm vibration syndrome (HAVS) e.g. fingers going white; as well as specific diseases such as carpal tunnel syndrome. To reduce this risk when using the product, always wear protective gloves and keep your hands warm.
Emergency
Familiarize yourself with the use of this product by means of this instruction manual. Memories the safety directions and follow them to the letter. This will help to prevent risks and hazards.
- Always be alert when using this product, so that you can recognize and handle risks early. Fast intervention can prevent serious injury and damage to property.
- Switch the product off and remove the battery pack
Safety warnings
If there are malfunctions. Have the product checked by a qualified professional and repaired, if necessary, before you operate it again.
Residual risks
Even if you are operating this product in accordance with all the safety requirements, potential risks of injury and damage remain. The following dangers can arise in connection with the structure and design of this product:
- Health defects resulting from vibration emission if the product is being used over long periods of time or not adequately managed and properly maintained.
- Injuries and damage to property due to broken attachments or the sudden impact of hidden objects during use.
- Danger of injury and property damage caused by flying objects.
WARNING!
This product produces an electromagnetic field during operation! This field may under some circumstances interfere with active or passive medical implants! To reduce the risk of serious or fatal injury, we recommend persons with medical implants to consult their doctor and the medical implant manufacturer before operating this product!
Symbols
On the product, the rating label and within these instructions you will find among others the following symbols and abbreviations. Familiarize yourself with them to reduce hazards like personal injuries and damage to property.
- V Volt, (direct current voltage) Hz Hertz
- A Ampere W Watt
- °C Degree Celsius mA Milliampere
- /min or Per minute mAh Milliampere per hour
- min-1 kg Kilogram
- g Gram mm Millimetre
- cm Centimeter m Metre
- dB(A) Decibel (A-rated) m/s² Metres per second squared
- Lock / to tighten Unlock / to loosen.or secure.
- Read the instruction manual. Note / Remark
Manufacturing date code; year of manufacturing (20xx) and week of manufacturing (Wyy
- Wear hearing protection. Wear eye protection.
- Wear a dust mask. Wear protective gloves.
- Wear protective, slip-resistant footwear.
- Wear tight-fitted protective clothes.
- Wear head protection, where there is a risk of falling objects.
- Switch the product off and remove battery pack before assembly,
- cleaning, adjustments, maintenance, storage and transportation.
- Do not expose the product to rain or wet conditions (moisture).
Symbols
- thrown by the product could hit the user or other bystanders.
- Always ensure that other people and pets remain at a safe distance from the product when it is in operation. In general, children must not come near the area where the product is.
- Inspect the area where the product is to be used and remove all objects which can be thrown by the product. If objects are hidden while operating stop the motor and remove the object.
- Keep other people out of working area during operation. A distance of at least 15 m must be observed.
- Contact of the guide bar tip with any object should be avoided.
- Do not use saw blades!
- Beware of blade thrust. Machines fitted with saw or grass blades can be thrown violently to the side when the blade comes into contact with a fixed object. The blade is capable of amputating an arm or leg. Always keep people and animals at least 15 metres from the product.
- Guaranteed sound power level value in 96 dB.
- WEEE symbol. Waste electrical products should not be disposed of with household waste.
- Please recycle where facilities exist. Check with your Local Authority or local store for recycling advice.
- Crossed out dust bin. Batteries and battery packs should not be disposed of with household waste. Please recycle where facilities exist. Check with your Local Authority or local store for recycling advice.
- Do not dispose of battery packs in rivers or immerse in water.
- Do not dispose of battery packs in fire. They will explode and cause injury.
- Do note expose battery packs to heat in excess of 40 ºC. Do not charge or store the battery pack in temperatures below 5 °C (41 °F) and above 40 °C (104°F).
- The product complies with the applicable European directives and an
- evaluation method of conformity for these directives was done.
- UK Conformity Assessed
Your product

- On/Off switch
- Lock-off button
- Right-handle bar
- Cord clip (smaller)
- Clamp lever
- Motor housing
- Air vents
- Battery docking port
- Upper pole
- Electric cord
- Cord clip (bigger)
- Suspension sleeve
- Left-handle bar
- Handle support
- Bolt (x2)*
- Lock button
- Pin
- Locking sleeve
- Bore
- Bolt
- Lower pole
- Protective sleeve*
- Guard
- Bolt
- Guard cover
- Guard support
- Knife*
- Knife protector*
- Slot*
- Buckle*
- Trimmer head
- Cover*
- Bumper*
- Trimming spool*
- Trimming line*
- Release latch (x2)*
- Eyelet (x2)*
- Spring*
- Housing*
- Battery pack
- Battery capacity indicators*
- Battery capacity button*
c. Release button
- Charger
- Cutter blade(3 Teeth)
- Nut
- Outer flange
- Locking flange*
- Backing flange*
- Spindle*
- Blade protector*
- Harness
- Securing clip
- Protection pad
- Release lever
- Multi tool
- Spindle lock rod
- Hex key (4mm)
NOTE: Parts marked with * are not shown in this overview. Please refer to the respective part in the instruction manual.
Unpacking
- Unpack all parts and lay them on a flat, stable surface.
- Remove all packing materials and shipping devices if applicable.
- Make sure the delivery contents are complete and free of any damage. If you find that parts are missing or show damage do not use the product but contact your dealer. Using an incomplete or damaged product represents a hazard to people and property.
- Ensure that you have all the accessories and tools needed for assembly and operation. This also includes suitable personal protective equipment.
WARNING! The product and the packaging are not children’s toys! Children must not play with plastic bags, sheets and small parts! There is a danger of choking and suffocation!
You will need
(items not supplied)
Suitable personal protective equipment Suitable crosshead screwdriver
(items supplied)
- Guard (17)
- Trimmer head (18) Battery pack (19)
- Charger (20) and its manual Cutter blade (3-Teeth) (21) Harness (22)
- Multi tool (23)
- Spindle lock rod (24)
- Hex key (4mm) (25)
NOTE: The accessories required depend on the intended application. Ask your dealer for advice.
Setup
- WARNING! The product must be fully assembled before operation! Do not use a product that is only partly assembled or assembled with damaged parts!
Follow the assembly instructions step-by-step and use the pictures provided as a visual guide to easily assemble the product!
Do not connect the product to battery pack (19) before it is completely assembled! - NOTE: Take care of small parts that are removed during assembly or when making adjustments. Keep them secure to avoid loss.
Pole assemble
- Loosen the lock knob (15) counter-clockwise (Fig. 1, step 1).
- Remove the black protective sleeve (16a) firstly, then align the lower pole (16) with the locking sleeve (15b) and insert it (Fig. 1, step 2). Make sure the pin (15a) matches the bore (15c).
- Make sure the pin (15a) snaps in place (Fig. 2).
- Secure the connections with the lock knob (15) (Fig. 1, step 3).

WARNING! Make sure bolt (15d) and lock knob (15) are properly tightened before using the product.
Guard
- Remove the bolt (17a) from the guard (17) by using the supplied multi tool (23) and keep it handy (Fig. 3, step 1).
- Align the guard (17) with the guard support (17c) on the lower pole (16) and keep it in place (Fig. 3, step 2).
- Align the guard cover (17b) with the guard support (17c) on the lower pole (16). Ensure that the sheet metal of the guard support (17c) is fully inserted the slot (17f). Ensure the clip of the guard cover (17b) is pressed through the buckle (17g) of the guard (17) with an audible click sound (Fig. 3, step 3).
- Make sure that the screw holes on guard (17), guard support (17c) and guard cover (17b) are well aligned.
- Secure the connections with the bolt (17a) clockwise by using the supplied multi tool (23) (Fig. 3, step 4).

WARNING! Never use the trimmer head (18) or cutter blade (21) without the guard (17) properly fitted.
NOTE: Always remove knife protector (17e) before use.
Before you start TTT817GBC by TITAN
Setup
WARNING! Never use the trimmer head (18) or cutter blade (21) without the guard (17) properly fitted.
NOTE: Always remove knife protector (17e) before use.
Handle bars
Adjust the handle bars (3, 13) to the suitable position to fit the intended use (Fig. 4, 5

- Unfold the clamp lever (5) but don’t remove it, then rotate two handle bars (3,
13) 90º from the storage positions to the working position (Fig. 6, step 1). - Pass the slot of the handle bars (3, 13) through the bolts (14a) of handle support (14) all the way until you hear a click and keep the handle bars (3, 13) in place (Fig. 6, step 2). Secure the connections by tightening the bolts (14a) clockwise using the supplied hex key (4mm) (25).
- Lock the handle bars (3, 13) by folding up the clamp lever (5). If clamp lever
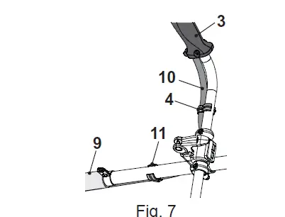
(5) cannot be folded, loosen it and fold again. If it is too loose, tighten it by swinging the clamp lever (5) in clockwise (Fig. 6, step 3). - Make sure the electric cord (10) run on the right-handle bar (3).

- Attach the electric cord (10) with the cord clip (smaller) (4) on the right-handle bar (3), the cord clip (bigger) (11) on the upper (9) (Fig. 7).

WARNING! Never use the product without the handle bars (3, 13) properly fitted!
Cutting options
Fit the relevant cutting attachment to suit the intended operation.
Guard
The trimmer head (18) was already pre-assembled for shipment. If not, please follow the below steps for assembly:
- Make sure the guard (17) has been attached properly.
- Rotate the backing flange (21d) until its hole is aligned with the notch in the gear head.
- Insert the spindle lock rod (24) into the hole to lock the spindle (21e).
- Fit the locking flange (21c) onto the backing flange (21d).
- Screw the trimmer head (18) onto the spindle (21e) and tighten it counterclockwise by hand.
- Remove the spindle lock rod (24) (Fig. 8).

Cutter blade
- Rotate the backing flange (21d) until its hole is aligned with the notch in the gear head.
- Insert the spindle lock (24) into the hole to lock the spindle (21e).
- Loosen the trimmer head (18) clockwise by hand and remove it together with the locking flange (21c).
- Fit the cutter blade (21) onto the spindle (21e). Ensure that the cutter blade (21) sits flush on the extruded ring on the backing flange (21d).
- Place the locking flange (21c) onto the cutter blade (21).
- Secure the cutter blade (21) by tightening the nut (21a) counter-clockwise using the supplied multi tool (23) and spindle lock rod (24).
- Remove the multi tool (23) and the spindle lock rod (24).
- Remove the blade protector (21f) (if provided) from the cutter blade (21) before operation (Fig. 9).

Battery pack
Attach / Release
- Align the battery pack (19) with the sliding slots of the battery docking port (8) and slide the battery pack in to attach it. Ensure it clicks in place (Fig. 10).
- Press the release button (19c) and remove the battery pack (19) from the battery docking port (8) (Fig. 11

Charge
The battery pack (19) for this product has been shipped in a low charge condition.
Charge it fully before first use.
Refer to the charger’s instruction manual (TTB815CHR) for the details.
Battery capacity indicators
The battery pack (19) is equipped with the battery capacity indicators (19a) which are used to give an indication of the battery pack’s remaining capacity. Press the battery capacity button (19b) to check battery capacity (Fig. 12). The LEDs will stay lit for approximately 5 seconds

Product functions
Intended use
This cordless 2-in-1 brush cutter TTT817GBC is designated with rated voltage of 36 V .
It is designed only to be used with the battery pack TTB812BAT and the charger TTB815CHR.
With the trimmer head attached the product is intended to cut smaller types of weed, lawn grass or similar soft vegetation.
With the cutter blade attached, the product is intended to cut heavier weeds, brush and similar vegetation with a thickness of up to 10 mm.
The product should not be used to cut unusually thick grass or vegetation, wet grass or to shred leaves etc.
For safety reasons it is essential to read the entire instruction manual before first operation and to observe all the instructions therein.
This product is intended for private domestic use only, not for any commercial trade use. It must not be used for any purposes other than those described.
Harness
The harness (22) helps the operator to carry the product.
- Adjust the position of the suspension sleeve (12) if necessary. Make sure it is well fixed on the upper pole (9) before operation.
- Place the harness (22) so that
- The securing clip (22a) and hip protection pad (22b) are on the right side,
- The quick release lever (22c) is in front;
- All strap closures are securely fastened,
- The belts must be tensioned in a way that the load is distributed evenly on the shoulders (Figs. 13, 14).

- Adjust the length of the harness (22) so that the securing clip (22a) is approximately 15 cm below your waist.
- Attach the securing clip (22a) to the loop the suspension sleeve (12) (Fig. 15).
- Lock the harness on the suspension sleeve (12). Make sure the protection pad (22b) runs under the upper pole (9) (Fig. 16).

- Ensure the position of the product is properly balanced.
- Ensure that the angle of the cutting head is parallel to the surface being cut (Fig. 17).

- In case of emergency hold the upper pole (9) with the right hand, and use the left hand to push open the release lever (22c). The harness (22) will be released automatically from the body because of the weight of the product (Fig. 18

Cutting attachments
Trimmer head
Use the trimmer head (18) to cut smaller types of weed, lawn grass or similar soft vegetation.
Cutter blade
Use the cutter blade (21) to cut heavier weeds, brush and similar vegetation
Guard
WARNING! Never attempt to lock the on/off switch (1) in its ON position!
The guard (17) protects the operator against thrown objects during operation. It is equipped with
a knife (17d) that cuts the trimming lines (18d) (Fig. 19).

NOTE: Always remove the knife protector (17e) before use.
Switching on/off
- Hold the product with one hand at the lefthander bar (13) and with the other at the righthandle bar (3).
- Press the lock-off button (2) and hold it in position (Fig. 20, step 1).
- Squeeze the on/off switch (1) to switch the product on (Fig. 20, step 2). Release the lookoff button (2) afterwards.
- Release the on/off switch (1) to switch the product off.

WARNING! Never attempt to lock the on/off switch (1) in its ON position!
General operation
- Check the product, its battery pack and charger as well as accessories for damage before each use. Do not use the product if it is damaged or shows wear.
- Double check that accessories or attachments are properly fixed.
- Always hold the product by its handles. Keep the handles dry to ensure safe support.
- Ensure that the air vents are always unobstructed and clear. Clean them if necessary with a soft brush. Blocked air vents may lead to overheating and damage the product.
- Switch the product off immediately if you are disturbed while working by other people entering the working area. Always let the product come to complete stop before putting it down.
- Do not overwork yourself. Take regular breaks to ensure you can concentrate on the work and have full control over the product.
Cutting
- Attach the cutter blade (21) to cut heavier weeds, brush and similar vegetation. Make sure that the guard (17) has been attached properly.
WARNING! To avoid hazards never cut heavier weeds, brush and similar vegetation with a thickness exceeding the capacity stated in section ”Technical specification”!
Avoid contact with stones, wire, glass etc. that may cause injury to the user! Inspect the blade regularly for damage, cracks or breaks! Always replace a damaged blade!
- Hold the product firmly so that it sits with a gap between the product and your right side.
- Stand upright, do not lean forward and pay attention to posture. Keep both feet apart to help retain your balance.
- Never hold the cutting head higher than your hip (Fig. 21), the higher you hold the cutting head will increase the risk of objects being thrown.
- Carefully plunge the blade from above when cutting long undergrowth.
Trimming
- Attach the trimmer head (18) to cut to cut smaller types of weed, lawn grass or similar soft vegetation. Make sure that the guard (17) has been attached properly.
- Hold the product firmly with a gap between the product and your right side.
- Stand upright, do not lean forward and pay attention to posture. Keep both feet apart to help retain your balance.
- Hold the trimmer head (18) just above the ground at an angle of approximately 30° (Fig. 22).
- Move the product with a slow regular arc from left to right before moving it back to the starting position before trimming the next area (Fig. 23

- Ensure the cutting device remains clean and free from off-cuts that may cause it to jam. Check regularly. Release the on/off switch (1) and disconnect the product from the power supply before checking.
- Trim longer grass in stages; do not cut long grass in one cut (Fig. 24). For the best results, cut longer grass in steps (Fig. 25).

- For best results, do not cut wet grass because it tends to stick to the cutting head and guard, prevents proper discharge of grass trimmings, and could cause you to slip and fall.
- Do not allow the spool cover to drag on the ground or other surfaces.
- Pay special attention when performing the work close to trees and bushes. The cutting head could damage sensitive bark, and damage fence posts (Fig. 26).

NOTE: The trimming line will wear faster and require more replacement if cutting is done along sidewalks or other abrasive surfaces or heavier weeds are being cut.
NOTE: While trimming, the cutting device is possible to be blocked by grass or unevenly ground. So the product will turn off automatically due to over current. Therefore release the on/off switch for over 3s and then press down again to go on with trimming.
Trimming Line feeding
During use, the tip of the trimming line (18d) will get shorter due to wear and the trimming line may break. Regularly check the condition of the trimming line (18d) and adjust if necessary.
The trimmer head (18) is equipped with a bumper (18b) helping to cut the trimming line (18d) while operating.
WARNING! Always switch the product off, disconnect the product from the power supply and let the product cool down before performing inspection, maintenance and cleaning work!
NOTE: The line feeding system works only when the product is switched on.
- Tap the bumper (18b) on solid ground and the trimmer head (18) will release trimming lines (18d).
- Excess line will be cut by the knife (17d)(Fig. 27).

WARNING! The trimming lines (18d) will be thrown out! Danger of injury especially for bystanders!
After use
- Switch the product off, remove the battery back and let it cool down.
- Attach the knife protector (17e) if necessary.
- Check, clean and store the product as described below.
The golden rules for care
- Keep the product clean. Remove debris from it after each use and before storage.
- Regular and proper cleaning will help ensure safe use and prolong the life of the product.
- Inspect the product before each use for worn and damaged parts. Do not operate it if you find broken and worn parts.
WARNING! Always switch the product off, remove the battery pack and let the product cool down before performing inspection, maintenance and cleaning work!
General Cleaning
- Clean the product with a damp cloth and pH-neutral soap. Use a brush for areas that are hard to reach.
- In particular clean the air vents (7) after every use with a cloth and brush.
- Remove stubborn dust with high pressure air (max. 3 bar).
NOTE: Do not use chemical, alkaline, abrasive or other aggressive detergents or disinfectants to clean this product as they might be harmful to its surfaces. - Check for worn or damaged parts. Replace worn parts as necessary or contact an authorised service centre for repair before using the product again. Check for worn or damaged parts. Replace worn parts as necessary or contact an authorised service centre for repair before using the product again.
Care and maintenance
Cutting attachments
Replace worn or damaged cutting attachments.
WARNING! Never use other blades including metal multi-piece pivoting chains and flail blades. Otherwise serious injury may result.
- Keep the cutting attachments and the safety guard clean and free of debris. Remove grass trimmings.
WARNING! Wear safety gloves when working on either cutting attachment. Use appropriate tools to remove debris e.g. a brush or wooden stick! Never use your bare hands! - Keep the cutter blade (21) sharp to retain a good cutting performance.
Guard
- Keep the guard (17) clean and free of debris. Remove trimmings.
- Replace the guard (17) with one of the same type when it is worn or shows damage.
Replace the trimming spool
Replace the line spool when it is empty or worn.
- Turn the product upside down to access the trimmer head (18).
- Rotate the trimmer head (18) until the hole on the backing flange (21d) is aligned with the notch in the gear head.
- Insert the spindle lock rod (24) into the hole to lock the spindle (21e) (Fig. 28, step 1).
- Loosen the trimmer head (18) clockwise (Fig. 28, step 2) by hand and remove it from the spindle (21e).
- Press the release latches (18e) on both sides and hold them in position (Fig. 29, step 1), then rotate the cover (18a) counter-clockwise to disengage it from the trimmer head (18) (Fig. 29, step 2).
- Remove the cover (18a) and the trimming spool (18c) from the housing (18h) (Fig. 29, step 3).

- Clean the housing (18h) before inserting a new trimming spool (18c) of the same type.
- Pull the trimming line (18d) from the new spool for a length of approx. 25 cm.
- Release the trimming line (18d) from the notches and hold it in position. Avoid the trimmer line (18d) scatted from the trimming spool (18c) (Fig. 30, Step 1).
- Lead the trimming line ending through the eyelet (18f) on the housing (18h) (Fig. 30, Step 2).
- Repeat the above steps (from 8 to10) to lead the other trimming line ending through the other eyelet (18f).
- Insert the trimming spool (18c) into the housing (18h) (Fig. 30, Step 3).
- Align the slots of the cover (18a) with the tip of release latches (18e).
- Press down the cover (18a) against the spring (18g) and rotate the cover (18a) clockwise and make sure it snaps into place.

Refill the trimming line in the trimming spool
- Remove the trimming spool (18c) from the housing (18h) as instructed in chapter “Trimming line -Replace the trimming spool”.
- Discard all the remaining line (18d) from the trimming spool (18c).
- Clean the housing (18h) and the trimming spool (18c).
- Cut a new 6 m long trimming line (18d) with a diameter of 2.0 mm.
- Double the trimmer line (18d) back and lead the loop through the slot of the trimming spool (18c) and hook it (Fig. 31).
- Wind all the trimming lines firmly around the trimming spool in direction of the arrows on the trimming spool (18c) (Fig. 32).

Spare parts/Replacement parts
Spare parts are available at an authorised dealer or through our customer service.
Repair
This product does not contain any parts that can be repaired by the consumer. Contact an authorised service centre or a similarly qualified person to have it checked and repaired.
Storage
- Switch the product off and remove the battery pack.
- Clean the product as described above.
- Disassemble two handle bars (3, 13) to storage position, if necessary.
- Store the product and its accessories in a dark, dry, frost-free, well-ventilated place.
- Always store the product in a place that is inaccessible to children. The ideal storage temperature is between 10 °C and 30 °C.
- We recommend using the original package for storage or covering the product with a suitable cloth or enclosure to protect it against dust.
Transportation
- Switch the product off and remove the battery pack
- Attach the knife protector (17e) if necessary.
- Always carry the product by its handle bars (3, 13).
- Protect the product from any heavy impact or strong vibrations which may occur during transportation in vehicles.
- Secure the product to prevent it from slipping or falling over.
Troubleshooting
Suspected malfunctions are often due to causes that the users can fix themselves.
Therefore check the product using this section. In most cases the problem can be solved quickly.
WARNING! Only perform the steps described within these instructions!
All further inspection, maintenance and repair work must be performed by an authorised service centre or a similarly qualified specialist if you cannot solve the problem yourself!
| Problem | Possible cause | Solution |
| 3. Unsatisfactory result | 3.1. Trimming line is worn / damaged 3.2. Cutter blade is worn / damaged | 3.1. Replace with a new one 3.2. Replace with a new one |
| 4. Excessive vibration or noise | 4.1. Trimmer head is damaged 4.2. Cutter blade is damaged 4.3. Bolts/nuts are loose 4.4. Trimming line is worn/ damaged | 4.1. Replace with a new one 4.2. Replace with a new one 4.3. Tighten bolts/nuts 4.4. Replace with a new one |
Troubleshooting / Recycling and disposal
| Problem | Possible cause | Solution |
| 3. Unsatisfactory result | 3.1. Trimming line is worn / damaged 3.2. Cutter blade is worn / damaged | 3.1. Replace with a new one 3.2. Replace with a new one |
| 4. Excessive vibration or noise | 4.1. Trimmer head is damaged 4.2. Cutter blade is damaged 4.3. Bolts/nuts are loose 4.4. Trimming line is worn/ damaged | 4.1. Replace with a new one
4.2. Replace with a new one 4.3. Tighten bolts/nuts 4.4. Replace with a new one |
Waste electrical products should not be disposed of with household waste. Please recycle where facilities exist.
Check with your Local Authority or local store for recycling advice.
For further information visit www.recycle-more.co.uk.
The product comes in a package that protects it against damage during shipping. Keep the package until you are sure that all parts have been delivered and the product is working properly. Recycle the package afterwards.
Disposal of an exhausted battery pack
The battery is Li-Ion type. To preserve natural resources, please recycle or dispose of the battery pack properly. Consult your local waste authority for information regarding available recycling and / or disposal options.
Discharge your battery pack by operating your tool, then remove the battery pack from the tool and cover the battery pack connections with heavy duty adhesive tape to prevent short circuit and energy discharge.
Do not attempt to open or remove any of the components.
Guarantee
We take special care to select high quality materials and use manufacturing techniques that allow us to create products incorporating design and durability. This product has a manufacturer’s guarantee of 2 years against manufacturing defects, from the date of purchase (if bought in store) or date of delivery (if bought online), at no additional cost for normal (non-professional or commercial) household use.
To make a claim under this guarantee, you must present your proof of purchase (such as a sales receipt, purchase invoice or other evidence admissible under applicable law), please keep your proof of purchase in a safe place. For this guarantee to apply, the product you purchased must be new, it will not apply to second hand or display products. Unless stated otherwise by applicable law, any replacement product issued under this guarantee will only be guaranteed until expiry of the original period guarantee period.
This guarantee covers product failures and malfunctions provided the product was used for the purpose for which it is intended and subject to installation, cleaning, care and maintenance in accordance with the information contained in these terms and conditions, in the user manual and standard practice, provided that standard practice does not conflict with the user manual.
This guarantee does not cover defects and damage caused by normal wear and tear or damage that could be the result of improper use, faulty installation or assembly, neglect, accident, misuse, or modification of the product. Unless stated otherwise by applicable law, this guarantee will not cover, in any case, ancillary costs (shipping, movement, costs of uninstalling and reinstalling, labour etc), or direct and indirect damage.
Rights under this guarantee are enforceable in the country in which you purchased this product. Guarantee related queries should be addressed to the store you purchased this product from.
The guarantee is in addition to and does not affect your statutory rights.
Manufacturer:
Kingfisher International Products Limited
3 Sheldon Square, W26PX London United Kingdom
www.kingfisher.com/products
Distributor:
B&Q plc
Chandlers Ford, Hants, SO53 3LE, United Kingdom
www.diy.com
Screwfix Direct Limited
Trade House, Mead Avenue, Yeovil, BA22 8RT, United Kingdom www.screwfix.com
Technical specifications
General
- > Rated voltage : 36 V
- > Rated no load speed n0 : 6500 min-1 (as grass trimmer)
- 6600 min-1 (as brush cutter)
- > Protection class : |||
- > Weight : approx. 4.3 kg
- > Dimensions (fully assembled) : approx. 1763*429*632 mm
Trimmer head capacity - > Item reference : PGT1001
- > Cutting width : 300 mm
- > Trimming line : nylon, Ø 2.0 mm, length 2*3 m
Cutter blade capacity - >>Blade item : PBC2303T
- >>Cutting width : 230 mm
Battery pack - > Model no. : TTB812BAT
- > Capacity : 8000/4000 mAh
- > Voltage : 18/36 V
- > Weight : approx. 1.02 kg
Charger - > Model no. : TTB815CHR
- > Rated input voltage : 220-240 V~, 50/60 Hz
- > Rated input power : 190 W
- > Rated output current : 8 A
- > Protection class : || /
- > Weight : approx. 0.62 g
- > Ambient temperature range for : 5 °C to 40 °C
charger and battery useSound values
> Sound pressure level at operator’s
position LpA , as lawn trimmer : 82 dB(A) - > Uncertainty KpA : 3 dB(A)
- > Sound pressure level at operator’s
position LpA , as brush cutter : 81 dB(A) - > Uncertainty KpA : 3 dB(A)
- > Measured sound power level LWA ,
as lawn trimmer : 94 dB(A) - > Uncertainty KWA : 1.5 dB(A)
- > Measured sound power level LWA , as brush cutter : 94.4 dB(A)
- > Uncertainty KWA : 2 dB(A)
Hand arm vibration values, as lawn trimmer : 1.9 m/s²
Hand arm vibration values, as brush cutter : 2.4 m/s² - > Uncertainty K : 1.5 m/s
The sound values have been determined according to noise test code given in EN 62841-1, using the basic standards EN ISO 11806-1 and EN ISO 3744. The sound intensity level for the operator may exceed 80 dB(A) and ear protection measures are necessary.
The declared vibration value has been measured in accordance with a standard test method (according to EN 62841-1) and may be used for comparing one product with another. The declared vibration value may also be used in a preliminary assessment of exposure.
WARNING! Depending on the actual use of the product the vibration values can differ from the declared total. Adopt proper measures to protect yourself against vibration exposures. Take the whole work process including times the product is running under no load or switched off into consideration.
Proper measures include among others regular maintenance and care of the product and accessories, keeping hands warm, periodical breaks and proper planning of work processes.
Rating label explanation
- 2-in-1 Brush Cutter: TTT817GBC TTT = TITAN (brand)
- 817 = Series number
- GBC = 2-in-1 Brush cutter
- Battery pack: TTB812BAT
- TTB = TITAN (brand)
- 812 = Series number
- BAT = Battery pack
- Charger: TTB815CHR
- TTB = TITAN (brand)
- 815 = Series number
- CHR = Charger




























