97003
2-IN-1 BRUSH CUTTER/STRING TRIMMER
WARNING: This product can expose you to chemicals including LEAD,
CADMIUM and Di(2-Ethylhexyl) phthalate (DEHP), which are known to the State
of California to cause cancer and birth defects or other reproductive harm.
For more information go to: www.P65Warnings.ca.gov
*Actual product may vary slightly
Please carefully read and save these instructions before attempting to assemble, maintain, install, or operate this product.
Observe all safety information to protect yourself and others. Failure to observe the instructions may result in property damage and/or personal injury. Please keep instructions for future reference.
For warranty purchases, please keep your dated proof of purchase. File or attach to the manual for safekeeping.
Important Operating Instructions
IMPORTANT!
When using equipment, a few safety precautions must be observed to avoid injuries and damage. Please read the complete operating manual with due care.
Keep this manual in a safe place, so that the information is available at all times. If you give the equipment to any other person, give them these operating instructions as well.
We accept no liability for damage or accidents which arise due to the non-observance of these instructions and the safety information herein.
CAUTION:
FOR YOUR OWN SAFETY READ THE INSTRUCTION MANUAL COMPLETELY AND CAREFULLY BEFORE OPERATING THIS BRUSH CUTTER/STRING TRIMMER.
SPECIFICATIONS
Fuel: Oil Ratio: 40:1
Attachments: String Trimmer, Cutting Blade
Engine Type: Air-cooled 2-stroke
Displacement: 42 cc7.
Max. Engine Speed: 10,500 RPM
Max. Blade Speed: 7,900 RPM
Torque: 1.25 ft./lb.
Line Coil Cutting Diameter: 16.93”
Any failures made in following the safety regulations and instructions may result in an electric shock, fire, and/or serious injury.
UNPACK
- Unpack all parts and lay them on a flat, stable surface.
- Remove all packing materials and shipping devices if applicable.
- Make sure the contents are complete and free of damage. If you find that parts are missing or damaged, contact your dealer. Using an incomplete or damaged product may cause damage to people or property.
- Ensure you have all the accessories and tools needed for assembly and operation. This also includes suitable personal protective equipment.
SAFETY WARNINGS
- This product is not intended for use by persons (including children) with reduced physical, sensory, or mental capabilities, or lack of experience or knowledge unless they have been given supervision or instruction concerning the use of the product by a person responsible for their safety.
- Children should be supervised to ensure that they do not play with the product.
TRAINING
- Read the following instructions carefully. Become familiar with the owner’s manual before attempting to operate this product.
- Never allow children or people unfamiliar with these instructions to use the product. Local regulations can restrict the age of the operator.
- Never operate while people, especially children, or pets are nearby.
- Keep in mind that the operator or user is responsible for accidents or hazards occurring to other people or their property.
- Allow the rope to return slowly and in a controlled manner each time it is pulled! Do not pull out the recoil starter beyond the red color band at the end of the recoil starter. Do not start the engine while handling the product with one hand!
- The product must not be used by persons under the influence of alcohol or drugs.
- Do not operate the product without guards or if it is damaged.
- Never use this product indoors.
- This product produces toxic exhaust fumes when the engine is started.
- During operation, this product may generate dust, fumes, and smoke containing chemicals that affect your health.
- Be careful when using this product and protect yourself properly.
- Avoid breathing exhaust fumes voluntarily, and always hold the product properly during operation.
- Wear gloves and keep hands warm.
- Prolonged use of the product exposes the user to vibrations that can cause a range of conditions collectively known as hand-arm vibration syndrome (HAVS) e.g. fingers going white; as well as specific diseases such as carpal tunnel syndrome.
- To reduce the risk of HAVS, always wear protective gloves and keep your hands warm.
- The symptoms of HAVS include any combination of the following:
• Tingling and numbness in the fingers,
• Not being able to feel things properly,
• Loss of strength in the hands,
• Fingers going white (blanching) and becoming red and painful on recovery (particularly in the cold and wet, and probably only in the tips at first).
Seek medical advice immediately if such symptoms are experienced.
PREPARATION
- This product can cause serious injuries. Read the instructions carefully for proper handling, preparation, maintenance, starting, and stopping of the product. Become familiar with all controls and the proper use of the product.
- Beware of power lines.
- Avoid operating while people, especially children, are nearby.
- Dress properly. Do not wear loose clothing or jewelry, which can get caught in moving parts. Use of sturdy gloves, non-skid footwear, and safety glasses are recommended.
- Use extra care when handling fuels. They are flammable and the vapors are explosive. Observe the following care:
• Use only an approved container.
• Never remove the fuel cap or add fuel with the power source running.
Allow engine and exhaust components to cool down before refueling.
• Do not smoke. Never refuel indoors.
• Never store the product or fuel container inside where there is an open flame, such as near a water heater.
• If fuel is spilled, do not attempt to start but move the product away from the spillage before starting.
• Always replace and securely tighten the fuel cap after refueling.
• If the fuel tank is drained, this should be done outdoors. - Store the product in a clean, dry place protected from direct sunlight only after the fuel tank has been emptied and the product is cleaned. The product may only be stored inside under these conditions.
- If the cutting mechanism strikes any foreign object or the product starts making unusual noises or vibrations, shut off the power source and allow the product to stop. Disconnect the spark plug wire from the spark plug and take the following steps:
• Inspect for damage,
• Check for, and tighten any loose parts,
• Have any damaged parts replaced or repaired with parts having equivalent specifications.
OPERATION
- This product should not be used for any other purpose than described.
- While operating, always wear non-skid footwear and long pants. Do not operate this product when barefoot or wearing sandals. Wear protective glasses or goggles.
- Thoroughly inspect the area where the product is to be used and remove all objects which can be thrown by the product.
- Before using this product and after any impact, check for signs of wear or damage and repair as necessary.
- Never operate this product with damaged guards or without the guards in place.
- Keep hands and feet away from the cutting implement at all times, especially when switching on the motor.
- Never allow children or people unfamiliar with the instructions to use this product.
- Stop using this product while people, especially children, or pets are nearby.
- Only use the product in daylight or in good artificial light.
- Stop the engine before:
• Cleaning or when clearing a blockage
• Checking, carrying out maintenance or working on the product
• Adjusting the working position of the cutting device
• Switching blades
• Leaving the product unattended - Ensure that the product is placed in a proper working position before starting the engine.
- While operating this product, ensure that the position is safe and secure.
- Do not operate this product with a damaged or excessively worn cutting device.
- To reduce fire hazards, keep the engine and silencer free of debris, leaves, and excessive lubricants.
- Always ensure that all handles and guards are fitted when using this product. Never attempt to use an incomplete product or one fitted with an unauthorized modification.
- Always use two hands to operate a product fitted with two handles.
- Always be aware of your surroundings and stay alert for possible hazards of which you may not be aware due to the noise of the product.
- Be careful when handling any cutting device/sharp edge fitted for trimming the filament line length. Ensure a new filament trimming line is installed correctly before turning the product on.
- Always ensure that air vents are kept clear of debris.
MAINTENANCE & STORAGE
- When the product is stopped for servicing, inspection, or storage, shut off the power source, disconnect the spark plug wire from the spark plug and make sure all moving parts have come to a stop. Allow the product to cool before making any inspections, adjustments, etc.
- Store the product where the fuel vapors will not reach any open flames or sparks. Always allow the product to cool down before storing.
- When not in use, store the product out of the reach of children.
- Use only the manufacturer’s recommended replacement parts and accessories.
- When transporting or storing this product, always fit the cutter transport guard.
LONGER TIME UNUSED MACHINE RESTARTING
The unused machine is in storage for longer than 90days, the ignition coil is not damaged, it’s only a carburetor issue. Please follow these instructions to restart the machine.
- Check whether the fuel pipe is aging or cracking, if any, easy to buy a new one for replacement at a local store
- Check whether the fuel pipe joint of the carburetor is loosening or aging, if any, cut the pipe joint a little bit to rejoin as well
- Please pull the starting rope 5-8 times before fuel refilling to the carburetor is in an operating state
- Refilling the fuel and then restarting the machine according to the cold start mode
FUEL HANDLING
- Follow the maintenance and repair instructions on this product. Never carry out any modifications to the product. Never change the preset rotary speed of the engine and product settings. Information about maintenance and repair is provided in this user manual.
- Never carelessly touch the product, doing so may cause serious injury. While the product is in operation or shortly thereafter, its parts, such as the exhaust pipe, engine, and other surfaces are extremely hot! Pay attention to the markings on the product.
- Make sure that the air intake of the combustion engine is clear. Keep the air intake free of dust, dirt particles, gases, and fumes.
- Make sure that air circulation is adequate. The product must be easily accessible from all sides.
- Always switch the product off and let it cool down, before refueling it. Gas is highly flammable. Never smoke when you are refueling the product. Do not refuel the product, if there is an open fire in the vicinity.
- Always use suitable aids such as funnels and filler necks. Do not spill any fuel on the product or its exhaust system. There is a risk of ignition. However, if fuel should be spilled, then you must remove it carefully from all parts of the product. Any residue which may be present must be completely removed before the product is operated.
- Exhaust gases and fuel fumes are noxious. Fuel fumes can ignite. Never use the product in environments where there is a risk of explosion.
- Never breathe in any fuel fumes when you are refueling the product. Never fill the tank in enclosed spaces, such as basements or sheds. There is a risk of poisoning and explosion.
- Avoid skin contact with the fuel.
- Do not eat or drink while refueling the product. If you have swallowed gas or oil, or if the gas or oil has got into your eyes, then seek medical advice immediately.
- Close the tank lid immediately after filling the tank. Make sure that it is properly closed.
- Never use the product without an air filter.
EMERGENCY
Familiarize yourself with the use of this product by means of this instruction manual. Memorize the safety directions and follow them to the letter. This will help to prevent risks and hazards.
- Always be alert when using this product, so that you can recognize and handle risks early. Fast intervention can prevent serious injury and damage to property.
- Stop the engine and unplug the spark plug connector if there are malfunctions. Have the garden power tool checked by a qualified professional and repaired, if necessary, before you operate it again.
- In case of fire, stop the engine and unplug the spark plug connector. Take fire-extinguishing measures immediately if the garden power tool switch is no longer accessible. WARNING: Never use water to extinguish a product on fire. Burning fuel must be extinguished with special extinguishing agents. It is recommended that you keep a suitable fire extinguisher within reach in your work area.
RESIDUAL RISKS
Even if you are operating this product in accordance with all the safety requirements, potential risks of injury, and damage remain. The following dangers may arise in connection with the structure and design of this product:
- Health defects result from vibration emission if the product is being used over long periods of time or not adequately managed and properly maintained.
- Injuries and damage to property due to broken accessories or the sudden impact of hidden objects during use.
- The danger of injury and property damage caused by flying objects.
- CAUTION: You may be burned if you touch hot surfaces.
WARNING: This product produces an electromagnetic field during operation. This field may under some circumstances interfere with active or passive medical implants. To reduce the risk of serious or fatal injury, it is recommended that persons with medical implants consult their doctor and the medical implant manufacturer before operating this product.
ASSEMBLY
1. Remove all packing and shipping materials.
2. Disconnect the spark plug connector (2) from the spark plug.
WARNING: The product must be fully assembled before operation. Do not use a product that is only partly assembled or assembled with damaged parts.
AUXILIARY HANDLE
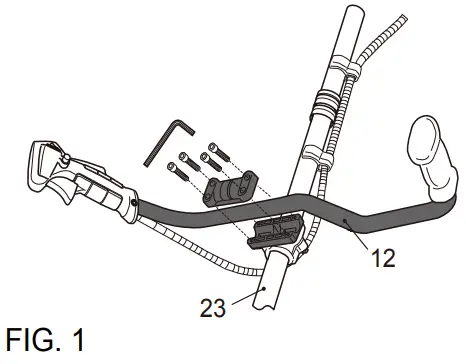
- Remove the pre-assembled bolts on the bracket of the auxiliary handle (12).
Note: Pay attention to the bolts. Keep them in a secure location. - Locate the handle (12) to the upper side of the upper shaft (23) and secure it in place with the bolts (Fig. 1).

- Insert the handle grip (25) to the end of the auxiliary handle (12) (Fig. 2).

- Strain and fix the control cable (11) with the cable ties (24) (Fig. 3).

SHAFT
- Remove the protection cap from the lower shaft (22) (Fig.4).

- Align the lower shaft (22) with the clamp (15) so that the slot is orientated to the slot in the clamp (15) (Fig. 5).

- Press the locking lever (17) and insert the lower shaft (22) into the upper shaft (23). The locking lever must engage in the slot of the lower shaft (Fig. 6).

- Secure the connection by tightening the locking knob (16) (Fig. 6).
SAFETY GUARDS
- Loosen the bolts with the hex key 6 mm (18) and remove them together with the washers , and spring washers.
- Please the safety guard (19) to bracket (19A). Secure the safety guard (19) with the hex key 6 mm. (Fig.7)

CUTTING OPTIONS
You will be required to assemble the relevant cutting head to suit the intended use of the product.
BRUSH CUTTER BLADE
- Ensure that the safety guard (19) is attached.
- Locate the backing flange (32) on the spindle (31).
- Rotate the backing flange until its hole is aligned with the notch in the gear head.
- Loosen the nut (36) and remove the washer (35) and lock the flange (34).
- Fit the cutter blade (33) onto the spindle (31) ensuring that the directional arrows on the guard and the cutter blade match. Ensure that the cutter blade sits flush on the extruded ring on the backing flange.
- Place the locking flange (34) and the washer onto the cutter blade (33).
- Secure the cutter blade (33) with the nut (36) (Fig. 8).

TRIMMER HEAD
- Make sure that the safety guard (19) has been attached properly.
- Locate the backing flange (32) on the spindle (31).
- Rotate the backing flange until its hole is aligned with the notch in the gear head.
- Screw the trimmer head (37) on the spindle (31) (Fig. 9).

WARNING: Do not attach the locking flange (34) when using the trimmer head.
FUEL
- This product is equipped with a 2stroke engine (1).
- Mix a regular-grade unleaded gas and quality 2-cycle motor oil for air-cooled 2-stroke engines.
- Do not use BIA or TWC (2-stroke water-cooling type) mixed oil.
- The recommended mixing ratio for fuel: and oil is 40:1 (Fig.10)

Note: Never mix fuel and oil directly in the tank of the product.
WARNING: This product is not supplied with fuel in the engine. Before operating this product it is essential to fill it with fuel.
WARNING: Ensure that there are no open flames around the product. Do not smoke while filling with fuel and oil.
- Unscrew and remove the fuel tank cap (7) (Fig. 11).

- Only use correctly mixed fuel/oil. Do not overfill. Leave a minimum of 5mm of space between the top of the fuel and the inside edge of the tank (6) to allow for expansion (Fig. 12).

- Use a fuel funnel fitted with a filter to avoid debris entering the tank.
- Wipe up spilled fuel with a soft cloth and refit the fuel tank cap (7).
- Always dispose of fuel, used oil, and soiled objects according to local regulations.
OPERATING CONTROLS

BEFORE STARTING, MAKE SURE YOU HAVE NOTED THE FOLLOWING INSTRUCTIONS:
- Make sure you have read and understood the entire instruction manual.
- Working with this product is demanding, therefore ensure you are physically and mentally fit to complete the job safely.
- Ensure that you have all the accessories and tools needed for assembly and operation.
- Make sure that you wear suitable personal protective equipment.
- Ensure that no unauthorized people, especially children, and pets are nearby or could enter the working area.
- Make sure no explosive or flammable materials are present.
- Ensure that the product is free from damage and that it is not worn.
- Ensure that the tank is filled with the correct fuel/oil mixture.
- Make sure that safety devices and accessories are correctly fixed.
- Double-check that all assembly tools have been removed from the product before use.
- Undertake periodic structural checks of this product, do not use it if you have any doubts about its suitability for its intended purpose.
WARNING: For your own and the safety of other people you must read and follow the safety instructions in this manual.
INTENDED USE
This brush cutter/string trimmer is designated with a maximum power output of maximum 42.6cc.
With the cutter blade attached, this product is intended to cut small types of weeds, lawn grass, or similar soft vegetation.
This product should not be used to cut unusually thick grass or vegetation, wet grass, shred leaves, etc.
This product is intended for private domestic use only. Not for commercial trade or use. It must not be used for any purposes other than those described.
PRIMER
Use the primer (8) when starting the product with a cold engine (Fig. 13).
RECOIL STARTER
1. The recoil starter handle (5) is positioned at the backside of the engine unit.
2. Pull on the recoil starter handle (5) to start the engine (Fig. 14).
WARNING: Do not suddenly release the recoil starter handle. Always allow it to return under controlled tension. Do not pull out the recoil starter BEYOND THE RED COLOR BAND at the end of the recoil starter (Fig. 14).
HAND GRIP CONTROLS
There are four controls at the handgrip with the following functions (Fig. 15).
- Adjust the engine speed with the throttle control (27).
- Use the )82( for temporarily setting the throttle in a partially open position, to aid starting.
- The ignition switch (29) electrically starts or stops the engine.
- The throttle interlock (30) prevents unintentional activation of the throttle trigger until manually released. starter aid button
HARNESS
- The harness (14) helps the operator carry the product.
- To remove the harness from the loop (26), open the securing clip.
- Place the harness so that it runs over the left shoulder, crossing the chest and back. The securing clip must be located at the right hip (Fig. 16).

- Adjust the length of the harness (14) so that the hook is approximately 6 in. below your waist; locate the product to the harness by using the securing clip ensuring that the angle of the cutting head is parallel to the surface being cut.
WARNING: Always attach the product to the harness. Do not carry it only with your hands. - In case of emergency, release the product from the harness by opening the securing clip.
AUXILIARY HANDLE
Adjust the position and angle of the auxiliary handle (12) on the upper shaft (23).
- Loosen the bolts on the bracket (13) and adjust the position and angle (Fig. 17).

- Afterward, tighten the bolts.
CUTTING HEADS
Blade
The cutter blade (33) is used to cut heavier weeds, brush, and similar vegetation with a thickness of up to 20mm.
Trimmer Head
- The trimmer head (37) is used to cut smaller types of weed, lawn grass, or similar soft vegetation.
- The trimmer head is equipped with a bumper (38) helping to cut the trimming line (39) while operating. Simply tap the bumper on a firm surface and the spool will release
a fresh trimming line (Fig. 18).
- A knife (20) is integrated with the safety guard (19) and this will cut the line to the necessary length.
WARNING: The cut line will be thrown out. The danger of injury especially for bystanders.
SAFETY GUARD
- The safety guard protects the operator against thrown objects during operation.
- The safety guard (19) is equipped with a knife (20) that cuts the trimming line (39) if required (Fig.19).
Note: Always remove the knife protection before use and replace it when work is completed.
CARBURETOR
If the cutting heads fail to operate at operational speed the carburetor may need to be adjusted. Please contact an authorized service center or qualified person to adjust it.
OPERATION PREPARATION
- Prior to use, first check the product for damage or any signs of wear, particularly if the product has not been used for a long time,
- Check the fuel level and refill with correctly mixed fuel/oil if necessary.
- wear correct personal protective equipment to protect yourself from hidden objects that may be thrown from the cutting heads.
- Ensure that the area to be worked is clear of stones, sticks, wires, or other products that could damage the product.
COLD START
- Set ignition switch to “I”.
- Press primer until the fuel is visible.
- Turn the chock lever to “ START”.
- Press throttle control and interlock.
- Pull the recoil starter until the engine started.
- Turn the chock lever to “RUN”.
- Press throttle control to release the starter aid button.
- Warm up the engine a few minutes on idling speed.
- Operate. (Fig.20)

WARM START
- Set ignition switch to “I”.
- Turn the chock lever to “RUN”.
- Press Primer until the fuel is visible.
- Pull recoil starter until the engine started.
- Operate. (Fig.21)

STOPPING
- Release throttle control and interlock.
- Run idle.
- Set ignition switch to “O”.
- Empty fuel tank.
- Maintain.
- Store. (Fig.22)
WARNING: Always attach the product to the harness. Do not carry it only with your hands.
CUTTING
- Use the cutter blade (33) to cut heavier weeds, brush, and similar vegetation with a thickness of up to 20mm.
WARNING: To avoid hazards, never cut heavier weeds, brush, and similar vegetation with a thickness of over 20mm. Avoid contact with stones, wires, glass, etc. that may cause injury to the user. Inspect the blade regularly for damage, cracks, or breaks. Always replace a damaged blade.
WARNING: When working with the cutter blade, there is always a risk of kickback if the cutting head comes into contact with a hard object. Kickback will cause the sudden stalling of the cutting head, which in turn results in the cutting head being forced in the opposite direction to the rotation of the cutter blade. Ensure that you retain a firm grip with both hands at any sign of such kickback. Pay attention and retain a firm stance to avoid injuries. - Hold the product firmly so that it sits with a gap between the product and your right side.
- Stand upright, do not lean forward, and pay attention to posture. Keep both feet apart to help retain y our balance.
- Never hold the cutting head higher than your hip; the higher you hold the cutting head, the greater the risk of objects being thrown.
- Carefully plunge the blade from above when cutting long under growth.
- Move the cutting head towards the base of young trees or thicker vegetation.
TRIMMING
- Use the trimmer head (37) to cut smaller types of weed, lawn grass, or similar soft vegetation.
- Hold the product firmly so that it sits with a gap between the product and your right side.
- Stand upright. Do not lean for ward and pay attention to posture. Keep both feet apart to help retain y our balance.
- Hold the trimmer head just above the ground at an angle of approximately 30
- Move the product with a slow and regular arc from the left to right before moving back to the starting position and trimming the next area.
- Ensure the cutting head remains clean and free from off-cuts that may cause it to jam. Check regularly. Stop the engine, switch the ignition switch (29) to STOP, and remove the spark plug connector (2) before checking.
- Trim longer grass in stages. DO NOT cut long grass in one cut (Fig. 23).

- Feed the trimming line if it is worn out or ripped by tapping the bumper (38) on stable ground.
TIPS
- For best results, do not cut wet grass because it tends to stick to the cutting heads and guard, prevents the proper discharge of grass trimmings, and could cause you to slip and fall.
- Pay special attention when performing the work close to trees and bushes. The cutting heads could damage sensitive bark, and damage fence posts (Fig. 24).

STOPPING
- Release the throttle interlock (30) and throttle control (27) and let the product run at its idle speed for 10-15 seconds (Fig. 25).

- Set the ignition switch (29) to position “O”.
WARNING: The cutting heads will continue to rotate for some time after the engine has been switched off. Wait until the head has come to a complete stop before placing the product on the ground.
AFTER USE
- Switch the product OFF, disconnect the spark plug connector, and let it cool down.
- Check, clean, and store the product as described.
SPOOL
WARNING: Before replacing the nylon line, stop the engine of the brush cutter and check whether the cutting head stops rotating.
- If the line is used up, the spool must either be replaced by one of the same types, or the trimming line (39) must be refilled.
We recommend using the nylon line which has good elasticity but contains no metal wire. - To refill the trimming line, lay the product on a flat, stable surface with its trimmer head facing upwards.
- Rotate the backing flange until one of the notches is aligned with the hole in the gear head.
- Replacement of nylon line.
Step (1): Press the stop claw in from both sides and remove the cover. Then remove the parts one by one.
Step (2): Remove the roll.
Step (3): When almost the whole nylon line on the roll is pulled out, remove the residual nylon line, and wind a new nylon line according to Step (4). If the nylon line on the roll is “molten and bonded”, remove the whole nylon line, strip the molten and bonded part, and rewind the residual line according to Step (4).
Step (4): Bend the nylon line 12cm away from the end. Then insert the bent part into the nylon line hole of the intermediate split plate.
Step (5): Tightly wind the line leftwards into the rolling groove.
Step (6): After winding, bend both ends into the hook shape and respectively insert them into the corresponding holes. Reserve about 10cm outside the holes.
Step (7): Align the holes of the roll and the small holes of the groove and install the cover.
Step (8): Pull the line out of the cover.
(A): Pull out one end of the line out of the corresponding hole of the roll.
(B): Install the line through the corresponding hole of the groove.
Step (9): Assemble the cover and shell.
(C): Align the hole of the cover and the groove of the shell.
(D): Press the fixing claw of the shell into the corresponding groove of the cover until the claw is fixed in the groove of the cover. - Wind the 2 parts of the trimming line in a clockwise direction firmly around each part in the guide on the spool.
- Insert each end of the threads in respective holes. The threads should stick out 1/2 in.on each side.
- Screw the bumper (38) anti-clockwise until it is completely and safely locked.
WARNING:
After changing the trimming line, run the product under no load for at least the line and the product are operating correctly.
WARNING: Never use steel thread. Always use cutting means in perfect condition, free of damage.
CARE & MAINTENANCE
WARNING: Always switch the product off, disconnect the spark plug connector, and let the product cool down before performing inspection, maintenance, and cleaning work.
- Keep the product clean and free from debris after each use and before storage.
- Inspect the product before each use for worn or damaged parts. Do not operate the product if any parts are broken or show signs of wear.
- Inspect the product before each use for worn or damaged parts. Do not operate it if you find broken or worn parts.
WARNING: Only perform repairs and maintenance according to these instructions. All further work must be performed by a qualified specialist.
GENERAL CLEANING
- Clean the product with a slightly damp cloth and mild soap. Use a brush for areas that are hard to reach.
- Pay attention to the air vents (9) and to cutting heads. Clean with a cloth and brush.
- Remove stubborn dirt with compressed air (max. 3 bar). Note: Do not use chemical, alkaline, abrasive, or other aggressive detergents or disinfection to clean the product as these may be harmful to its surface.
- Check for damage and wear. Repair damages in accordance with this instruction manual or take it to an authorized service center before using this product again.
CUTTING HEADS AND GUARD
- Keep the cutting heads and the safety guard clean and free from debris. Remove grass trimmings.
WARNING: Wear safety goggles when working on either cutting head. Use appropriate tools to remove debris (e.g. a brush or wooden stick). Never use your bare hands. - Keep the cutter blade (33) sharp to retain a good cutting performance.
- Replace worn or damaged cutter blades. Replace the trimming line on the trimmer head with new ones of the same type (Refer to Assembly – Trimmer Head for detailed instructions on how to remove and attach them).
AIR FILTER
- Inspect the air filter regularly. Clean it at least every 25 hours or replace it with a new one if necessary.
- Remove the screw and open the air filter case (9).
- Tap the filter on a stable surface to remove dust. Use high-pressure air (max. 3 bar) to remove stubborn dust.
- Apply a small amount of air filter oil to the filter to increase the filter performance. Wring out surplus oil and put the filter into the case.
- Close the air filter case (9) and secure it with the screw.
FUEL
- Empty the fuel tank when storing the product over 30 days to avoid deterioration of the fuel.
- Open the tank (6) by unscrewing the tank cap (7) and using a proper fuel pump to empty the tank (Refer to Fuel Handling).
Note: Fuel deteriorates over time. Engine starting may be difficult if you use fuel that has been kept for more than 30 days. Do not reuse any fuel that has been removed. Always empty the fuel tank when storing for over 30 days.
Note: Towards the end of the season, it is advisable to put only as much fuel in the tank as you need for each cut since it should be completely used up before storing the product.
SPARK PLUG
- Inspect the spark plug every 25 hours or prior to long-term storage over 30 days if the user has not been this high. Clean or replace with a new spark plug if necessary.
- Unplug the spark plug connector (2).
- Loosen the spark plug with the spark plug wrench (44) and carefully remove it.
- The color of the electrode should be light brown.
- Remove debris from the electrode with a soft wire brush; avoid heavy cleaning of the electrode.
- Dry the spark plug with a soft cloth if it is wet with fuel.
- Check the spark plug gap. It should be 0.6-0.7 mm.
- Replace with a new spark plug if either the electrode or the insulation is damaged.
- When replacing the spark plug, first screw it in hand tight and then lightly tighten it with the spark plug wrench.
WARNING: To avoid any damage, do not over-tighten the spark plug.
BEVEL GEAR
The bevel gear is filled with grease. Ask an authorized service center or similarly qualified person to check the quantity regularly and fill it up using proper grease if necessary.
CARBURETOR
The carburetor is pre-adjusted by the manufacturer. Should it be necessary to make any changes, please contact an authorized service center or similarly qualified person. Do not attempt to make adjustments by yourself.
SILENCER
Should it be necessary to make any changes or replacements, please contact an authorized service center or a similarly qualified person?
STORAGE
- Clean the product as described above.
- Store the product and its accessories in a dark, dry, frost-free, well-ventilated location.
- Always store the product in a place that is inaccessible to children. The ideal storage temperature is between 50 and 86′ F.
- It is recommended that you use the original package for storage or cover the product with a suitable cloth or enclosure to protect it against dust.
WARNING: Do not place the product on its cutting means to avoid damage. - If you are not going to use the product for an extended period of time (more than 3 months), and before storing it for the winter, empty the fuel tank (Refer to care & Maintenance- Fuel for instructions).
- Attach the protection guard to the cutter blade (33).
TRANSPORTATION
- Switch the product OFF and disconnect the spark plug connector before transporting it anywhere.
- Attach the protection guard to the cutter blade (33).
- Always carry the product by its handle.
- Protect the product from any heavy impact or strong vibrations which may occur during transportation in a vehicle.
- Secure the product to prevent it from slipping or falling over.
Troubleshooting Guide
| Problem | Possible Cause(s) | Corrective Action |
| The engine does not start | Not enough fuel in the fuel tank | Add fuel |
| Primer has not been pressed at cold start | Press the primer and restart | |
| Primer has been pressed at a warm start | Dry spark plug | |
| A spark plug is wet | Dry spark plug | |
| The spark plug is damaged | Replace spark plug | |
| Engine stops | Not enough fuel in the fuel tank | Add fuel |
| The cutting head is blocked | Remove blockage | |
| Poor cutting | The cutting head is not sharp enough | Replace cutting head |
| The cutting head is not fitted correctly | Fit cutting head correctly | |
| Cutting height is wrong | Adjust cutting height | |
| Guard is clogged | Clean guard | |
| Excessive vibration/noise or exhaust | The cutting head is damaged | Replace cutting head |
| Flanges on cutting head are loose | Tighten flanges | |
| Flanges on cutting head are broken | Replace flanges | |
| The fuel/oil mixture is incorrect or the wrong oil has been used | Empty out unused fuel and refill with the correct ratio of fuel/oil mixture |
Troubleshooting Guide
Symptom | Possible Cause(s) | Corrective Action |
| Engine is flooded | Set unit on the ground with the on/off switch set to on | |
| Set the choke lever fully open | ||
| Squeeze the throttle lever all the way down | ||
| In quick short pulls try starting the unit until you hear a ‘pop’ and then let go of The throttle lever. | ||
| Follow start-up procedure | ||
| An alternative to the above steps is to remove the spark plug and allow The cylinder and spark plug to “dry out. | ||
| Carburetor adjustments | The factory setting for this unit is at 1 -1 1Q turns out counterclockwise. | |
| This unit is equipped with only one carburetor adjuster. | ||
| The proper tool for adjusting The carburetor is a Pacman carburetor adjusting tool. | ||
| Depending on the area you live in or the length of time the unit has been used we depend on where the carburetor needs to be set. | ||
| Trimmer does not want to start | Possible spark plug failure (see no spark) | |
| Turn the carburetor adjuster clockwise until you feel it stop. DO NOT overtighten as damage can occur. | ||
| Turn the adjuster counterclockwise one-quarter of a turn and try starting the unit (follow start-up procedure. If it does not start repeat the step until the unit starts. | ||
| Mow unit to run and warn up. If idle is rough use 1/16th turns to flue tune the carburetor setting. | ||
| Trimmer wants to bog down during acceleration | NOTE: The following steps can also be used if unlace.), runs with choke set halfway. | |
| Gas oil mixture has too much of in m«. Remove gas from unit and remix to proper fuel gas rat o. | ||
| With a prow bet m« if unit s11 wants to bog down or requires to choke to be set halfway the carburetor will need adjustments. | ||
| Turn the carburetor adjuster clockwise until you feel it stop. DO NOT overtighten as damage can occur. | ||
| Turn the adjuster counterclockwise one-quarter of a turn and try starting the unit (follow start-up procedure. If it does not start repeat the step until the unit starts. | ||
| Mow unit to run and warn up. If idle is rough use 1/16th turns to fine-tune the carburetor setting. | ||
| Possible faulty spark plug | Replace spark plug | |
| The proper gap is 0.030 | ||
| A bad ignition coil or off meth | Test with the (clawing steps 1. Remove the air filter cover. | |
Parts List


# | Description | # | Description | |
| 1 | Engine | 21 | Gear Head | |
| 2 | Spark Plug Connector | 22 | Lower Shaft | |
| 3 | Air Vents | 23 | Upper Shaft | |
| 4 | Silencer | 24 | Cable Tie(x2) | |
| 5 | Recoil Starter Handle | 25 | Hand Grip | |
| 6 | Fuel Tank | 26 | Loop | |
| 7 | Fuel Tank Cap | 27 | Throttle Control | |
| 8 | Primer | 28 | Starter Aid Button | |
| 9 | Air Filter Case | 29 | Ignition Switch (ON/OFF) | |
| 10 | Choke Lever | 30 | Throttle Interlock | |
| 11 | Control Cable | 31 | Spindle | |
| 12 | Auxiliary Handle | 32 | Backing Flange | |
| 13 | Bracket | 33 | Cutter Blade | |
| 14 | Harness | 34 | Locking Flange | |
| 15 | Clamp | 35 | Washer | |
| 16 | Locking Knob | 36 | Nut | |
| 17 | Locking Lever | 37 | Trimmer Head | |
| 18 | Mounting Set(x4 | 38 | Bumper | |
| 18A | Bolt | 39 | Trimmer Line | |
| 18B | Spring Washer | 40 | Screwdriver | |
| 18C | Washer | 41 | Hex Key | |
| 18D | Nut | 42 | Hex Key | |
| 19 | Safety Guard | 43 | Spark Plug Wrench | |
| 19A | Bracket | |||
| 20 | Knife |
For Customer Service:
Please call 877-713-3189 (Toll-Free), or email: [email protected]















Note: Always remove the knife protection before use and replace it when work is completed.

WARNING: Always attach the product to the harness. Do not carry it only with your hands.



Step (2): Remove the roll.
Step (3): When almost the whole nylon line on the roll is pulled out, remove the residual nylon line, and wind a new nylon line according to Step (4). If the nylon line on the roll is “molten and bonded”, remove the whole nylon line, strip the molten and bonded part, and rewind the residual line according to Step (4).
Step (7): Align the holes of the roll and the small holes of the groove and install the cover.
(A): Pull out one end of the line out of the corresponding hole of the roll.
(C): Align the hole of the cover and the groove of the shell.
















