FOCAL POINT 83012 12-Inch Rotunda Medallion

MEDALLION INSTALLATION
Please Read And Follow All Installation Instructions Carefully
- Pre finish
Apply desired paint finish before installing. Minor touch up can be made once medallion is installed. (Do not use lacquer based paints) - Cutting Center Hole
If medallion has no center hole drill hole in the center using a spade or twist bit. The hole should be large enough to allow wiring and threaded bolt(s) to pass through. - Hanging Medallion
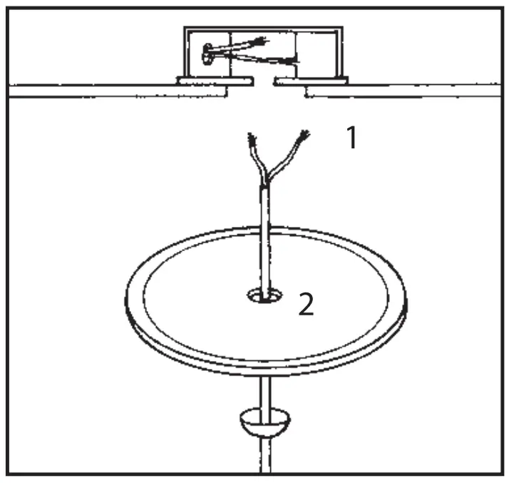
A. Before connecting wires (1) to power source, slip the medallion over hanger bar or chain of fixture (2). Screw the medallion to the wallboard using trim head screws (3).
Note: On plaster ceilings it may be necessary to use toggle bolts or hollow wall anchors. Pre-drill medallion.
B. Connect fixture wires to power source and hang fixture according to manufacturer’s instructions. Slide loop ring (4) up hanger bar and secure firmly in place, tightening loop ring. Canopy (5) is optional.
Note: Because some of the screws supplied with canopy covers are not long enough to screw into the ceiling when a medallion is used, you may need to purchase longer screws.
- Final Touch-Up
Countersink nails and fill with spackle. Use paintable caulk where the medallion meets the ceiling. Prime, where necessary, and paint with any high quality latex or oil based paint.
Important Information
Your Focal Point ceiling medallion functions as a decorative element only, and is not designed to serve as a support for your fixture or fan.
Focal Point advises that you first check local electrical codes on the use of medallions before installing.
When installing your medallion over an existing fixture, it is necessary to disconnect and take the fixture down.
Always turn off the electricity at the fuse or circuit breaker box before proceeding with any installation.
Customer Support
12 Arentzen Blvd. l Charleroi, PA 15022 l 800-662-5550 l www.focalpointproducts.com




















