
User Manual
Eterico Selfie Tripod S300BT
AET-SS30B

THANK YOU FOR CHOOSING US!
We value your trust. We hope that you will be happy with our product, and as excited about it as we are. We try to offer products of the highest quality that satisfy even the most demanding requirements. If you are satisfied, it would make us very happy if you chose us again the next time you make a purchase.
We are environmentally conscious, therefore we use special eco-friendly packaging. Please recycle!
Recycling and Environmental Protection
We try to avoid using plastic packaging and film and only use them when they are absolutely necessary to protect the product. So how are we different?
The packaging you can eat… Well, almost.:
- We use ink made from soybeans as opposed to classic petroleum-based ink.
- The majority of our packaging is made from 100% recyclable paper.
- We limit the use of adhesives. If absolutely necessary, we make sure to choose only water-soluble ones.
- We think globally, which means that we actively search for eco-friendly solutions. We keep an eye on trending technology and place the findings of the scientific community into practice.
- We don’t just try to meet quotas and mandates, we aim to exceed them.


THIS PACKAGE IS 100% RECYCLABLE.
TECHNICAL PARAMETERS
| Maximum extension length | 56 cm |
| Length when folded | 185 mm |
| Recommended phone width | 6-8.5 cm |
| Weight | 145 g |
| Maximum load | 1 kg |
| Remote control power supply | button battery CR1632, 3 V |
| Battery capacity | 130 mA |
| Phone connection | Bluetooth |
| OS compatibility | Android 4.3 and higher iOS 5 and higher |
| Name in Bluetooth | Eternico S300BT |
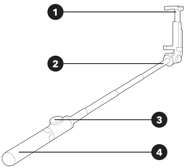
OVERVIEW

- Mobile phone holder
- Telescopic extension part
- Bluetooth removable remote controller
- Extendable stand
INSTRUCTIONS
Pairing
- Press and hold the button on the remote control for at least 3 seconds until the LED flashes green.
- Find device Eternico 53008T on the mobile phone and perform pairing. After successful pairing, the LED light will be green.
Insert the phone and extend the stick
- Open the phone holder and secure the mobile phone in it. The holder can be rotated in 45° increments.
- After inserting the phone into the holder, you can extend the stick up to a distance of 56 cm.
- After extending the stick, the tripod on the underside of the product can also be unfolded. You can then place the selfie stick on a horizontal surface and comfortably shoot remotely in combination with the remote control.
Using the remote controller
- The controller can be removed from the body of the selfie stick and used at a distance of up to 10 m.
- To turn on, press and hold the button on the remote control for at least 3 seconds. Then you can take a picture in the camera application on your mobile phone by briefly pressing the button.
- To switch off, press and hold the button again for at least 3 seconds.
- The controller is powered by a CR1632 button battery.
Maintenance
Clean the product only with a dry cloth. Do not use chemical cleaners or sprays. Avoid contact with water and other liquids. Do not leave the product near heat sources such as radiators.
SAFETY INFORMATION
Read this manual before using the product and keep it for future reference.
- Only use the product for the specified purpose of use.
- Incorrect use of the product can lead to a risk of fire, explosion, or other hazards and can result in a voided warranty.
- This product is not a toy. It may contain small components. Please keep away from children.
- Do not use or leave the product in dusty or otherwise contaminated environments.
- Do not expose the product to high temperatures or low temperatures. Keep the product in a dry environment.
- Do not disassemble the product. Attempting to modify the power bank may damage the product and result in a serious injury.
- Do not use the product if it is damaged or emits a suspicious odor.
R20201104


Alza.cz a.s., Jankovcova 1522/53, 170 00 Prague 7, Czech Republic © 2020 Alza.cz a.s.
All Rights Reserved.



















