
MPX2CABL, MPX2CABLARM
Multipolar cable with IP66 barrier cable gland for connection of the MAXIMUS MPX SERIES2 explosion-proof PTZ cameras
MPX2TAL
Cable tail with IP66 barrier cable gland for conduit for connection of the MAXIMUS MPX SERIES2 explosion-proof PTZ cameras
Instruction manual
About this manual
![]()
Read all the documentation carefully in the packaging or associated before installing and using this product.
Read all the documentation supplied carefully before installing and using this product. Keep the manual in a convenient place for future reference.
Typographical conventions
DANGER!
Explosion hazard.
Read carefully to avoid danger of an explosion.
DANGER!
High-level hazard.
Risk of electric shock. Disconnect the power supply before proceeding with any operation, unless indicated otherwise.
CAUTION!
Medium level hazard.
This operation is very important for the system to function properly. Please read the procedure described very carefully and carry it out as instructed.
INFO
Description of system specifications. We recommend reading this part carefully in order to understand the subsequent stages.
Notes on copyright and information on trademarks
The mentioned names of products or companies are trademarks or registered trademarks.
Safety rules
CAUTION!
Device installation and maintenance must be performed by specialist technical staff only.
- The manufacturer declines all responsibility for any damage caused by improper use of the appliances mentioned in this manual. Furthermore, the manufacturer reserves the right to modify its contents without any prior notice. The documentation contained in this manual has been collected and verified with great care. The manufacturer, however, cannot take any liability for its use. The same thing can be said for any person or company involved in the creation and production of this manual.
- Before starting any operation, make sure the power supply is disconnected.
- Be careful not to use cables that seem worn or old.
- Never, under any circumstances, make any changes or connections that are not shown in this handbook. Improper use of the appliance can cause serious hazards, risking the safety of personnel and of the installation.
- Use only original spare parts. Non-original spare parts could cause fire, electrical discharge or other hazards.
- Before proceeding with installation, check the supplied material to make sure it corresponds to the order specification by examining the identification labels (4.2 Product marking label, page 2).
- The equipment is intended for installation in a Restricted Access Area by specialist technical staff.
- Make all connections, installation and maintenance work in a non-explosive atmosphere.
- Electrical connections must be performed with the power supply disconnected and the circuit breaker open.
- Comply with all the national standards during the device installation.
- The external multipolar cable shield (armour) must be earthed.
Identification
Product description and type designation
Multipolar cable with IP66 barrier cable gland or cable tail with IP66 barrier cable gland for conduit for connection of the MAXIMUS MPX SERIES2 explosion-proof PTZ cameras.
Product marking label
Check the label on the product packaging.
Preparing the product for use
Any change that is not expressly approved by the manufacturer will invalidate the warranty.
The product must not be dismantled or tampered with. The only exceptions are those concerning the assembly and maintenance operations stipulated in this manual.
Unpacking
When the product is delivered, make sure that the package is intact and that there are no signs that it has been dropped or scratched. If there are obvious signs of damage, contact the supplier immediately. When returning a faulty product we recommend using the original packaging for shipping. Keep the packaging in case you need to send the product for repairs.
Contents
Check the contents to make sure they correspond with the list of materials as below:
- Multipolar cable with barrier cable gland or cable tail and barrier cable gland for conduit
- Cable gland manufacturer’s manual
- Instruction manual
Safely disposing of packaging material
The packaging material can all be recycled. The installer technician will be responsible for separating the material for disposal, and in any case for compliance with the legislation in force where the device is to be used.
Installation
Make all connections, installation, and maintenance work in a non-explosive atmosphere.
Electrical connections must be performed with the power supply disconnected and the circuit-breaker open.
Never, under any circumstances, make any changes or connections that are not shown in this handbook. Failure to follow the connection instructions that are given in the handbook may create serious safety hazards for people and for the installation.
Do not change the wiring in the product as it is supplied to you. Failure to follow this instruction may create serious safety hazards for people and for the installation, and will also invalidate the warranty.
Keep the connection diagram for future reference.
Multipolar cable connection
To avoid damaging the cables, insert them one at a time using the cable input.
Consult the product manual for all the operations for opening and closure of the connections compartment and the cable inputs.
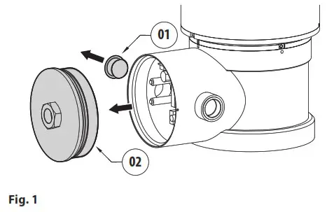
Remove the cable input safety plug on the left (01). Loosen the connection compartment cap (02).
To facilitate assembly, loosen the cable gland following the instructions provided in the manufacturer’s manual.
Pass the conductors through the cable input with the respective connectors. Insert in order:
- the cable bundle with the six-pole connector (which should be slightly tilted);
- the bundle with the five-pole connector;
- the power supply cables;
- the Ethernet cable.
The cables must not be twisted during cable gland tightening.
To maintain the product degree of IP, apply sealant to the threads, in compliance with IEC/EN60079-14.
Re-assemble the cable gland, fixing it to the product, following the instructions provided in the manufacturer’s manual.
Connect the Ethernet cable, the signal and power supply cables to the boards in the connections compartment.
Consult the use and installation manual of the product for further information.
Close the connections compartment.
Cable tail connection
To avoid damaging the cables, insert them one at a time using the cable input.
Consult the product use and installation manual for all the operations for opening and closure of the connections compartment and the cable inputs.
Disconnect the terminals, assemble the cable gland and fasten it to the conduit following the instructions outlined in the manufacturer’s manual. Remove the cable input safety plug on the left (01).
Loosen the connection compartment cap (02).
To facilitate assembly, loosen the cable gland following the instructions provided in the manufacturer’s manual.
Insert the conductors using the cable input.
The cables must not be twisted during cable gland tightening.
To maintain the product degree of IP, apply sealant to the threads, in compliance with IEC/EN60079-14.
Re-assemble the cable gland, fixing it to the product, following the instructions provided in the manufacturer’s manual. Re-connect the conductors to the terminals. Connect the Ethernet cable, the signal and power supply cables to the boards in the connections compartment.
Consult the use and installation manual of the product for further information.
Close the connections compartment.
Description of the multipolar cable and of the cable tail
Connect the connectors and the free ends of the multipolar cable or of the cable tail as described in the tables.
The shielding of the I/O cable must be grounded.
POWER SUPPLY CABLE
| Function | Type of connector | Position | Description | Colour/ Number | Notes |
| Power supply | 3 pole![]() | 1 | Phase (L) | Black/1 | – |
| 2 | Neutral (N) | Black/2 | – | ||
| 3 | Earth | Yellow-Green | The safety earthing system must be carried out according to local installation dispositions |
Tab. 1
I/O CABLE
| Function | Type of connector | Position | Description | Colour | Notes |
| Reset, alarm | 6 pole![]() | 1 | – | – | Not connected |
| 2 | – | – | Not connected | ||
| 3 | Reset | Yellow | – | ||
| 4 | Reset | White | – | ||
| 5 | GND | Green | – | ||
| 6 | Alarm 1 | Red | – | ||
| Relay | 5 pole![]() | 1 | – | – | Not connected |
| 2 | Relay 1, Terminal A | Brown | – | ||
| 3 | Relay 1, Terminal B | Grey | – | ||
| 4 | Relay 2, Terminal A | Pink | – | ||
| 5 | Relay 2, Terminal B | Blue | – | ||
| Protection from interference | – | Tinned copper braid shielding | The shielding must be grounded. |
Tab. 2
ETHERNET CABLE
| Function | Type of connector | Position | Description | Colour | Notes |
| Ethernet | RJ45 (8P8C) | Standard EIA/TIA 568-B | – | – | Multipolar cable Shielded connector |
| Cable tail Shielded connectors. The cable with the black sheath is connected to the shielding. |
Tab. 3
Information on disposal and recycling
The European Directive 2012/19/EU on Waste Electrical and Electronic Equipment (WEEE) mandates that these devices should not be disposed of in the normal flow of municipal solid waste, but they should be collected separately in order to optimize the recovery stream and recycling of the materials that they contain and to reduce the impact on human health and the environment due to the presence of potentially hazardous substances.
![]()
The symbol of the crossed-out bin is marked on all products to remember this.
The waste may be delivered to appropriate collection centers or may be delivered free of charge to the distributor where you purchased the equipment at the time of purchase of a new equivalent or without obligation to a new purchase for equipment with a size smaller than 25cm (9.8in).
For more information on the proper disposal of these devices, you can contact the responsible public service.
Technical data
MPX2CABL
General
Unarmoured, multipolar, assembled, black cable with barrier cable gland 3/4″ NPT
Mechanical
Length: 4m (13.1ft) or 10m (32.8ft)
External diameter: 18.6mm (0.73in) ± 0.35mm (0.01in)
Minimum bending radius: 186mm (7.3in)
Colour: black
Type of laying: fixed installation
Electrical
Power cable
- Number of conductors: 3
- Section: 1.5mm² (15AWG)
Shielded I/O cable
- Number of conductors: 8
- Section: 0.34mm² (22AWG)
Network
Ethernet cable
- External diameter: 6.2mm (0.24in)
- Section: 4x2x0.20mm² (24AWG)
- Category: 5e
- Shielding: SF/UTP
Environment
For indoors and outdoors installation Operating temperature: from -40°C (-40°F) up to +85°C (+185°F)
Certifications
UL Style 20233
Oil resistaxnt: complies with CNOMO E.03.40.150N, ASTM n.2, IRM 902, IEC60811-2-1
UV resistant: complies with UL1581 Resistance to flame spread: complies with IEC/ EN60332-1, IEC/EN 60079-14 (ATEX Ex II)
RoHS (CE): complies with 2015/863/EU
MPX2CABLARM
General
Armoured, multipolar, assembled, black cable with barrier cable gland 3/4″ NPT
Mechanical
Length: 4m (13.1ft) or 10m (32.8ft)
External diameter: 20.5mm (0.8in) ± 0.5mm (0.02in)
Diameter under armature: 16mm (0.63in)
Minimum bending radius: 184.5mm (72.6in)
Colour: black
Type of laying: fixed installation
Electrical
Power cable
- Number of conductors: 3
- Section: 2.5mm² (13AWG)
Shielded I/O cable
- Number of conductors: 8
- Section: 0.34mm² (22AWG)
Network
Ethernet cable
- External diameter: 6.6mm (0.3in)
- Section: 4x2x0.20mm² (24AWG)
- Category: 5e · Shielding: SF/UTP
Environment
For indoors and outdoors installation Operating temperature: from -60°C (-76°F) up to +105°C (+221°F)
Certifications
Oil resistant: complies with CNOMO E.03.40.150N, ASTM n.2, IRM 902, VDE 0472 p.803 test B
UV resistant: complies with IEC60068-2-5
Resistance to flame spread: complies with IEC/ EN60332-1, IEC/EN60332-3-22, IEC/EN 60079-14 (ATEX Ex II)
RoHS (CE): complies with 2015/863/EU
MPX2TAL
General
Cable tail for conduit with 3/4″ NPT barrier cable gland
Mechanical
Length: 4m (13.1ft) or 10m (32.8ft)
Type of laying: fixed installation
Electrical
Power cable
- External diameter: 8.7mm (0.34in)
- Number of conductors: 3
- Section: 2.5mm² (13AWG)
- Minimum bending radius: 43.5mm (1.7in)
Shielded I/O cable
- External diameter: 7mm (0.28in)
- Number of conductors: 8
- Section: 0.34mm² (22AWG)
- Minimum bending radius: 21mm (0.83in)
Network
Ethernet cable
- External diameter: 7.9mm (0.31in)
- Section: 4x2x0.20mm² (24AWG)
- Category: 5e
- Shielding: SF/UTP
- Minimum bending radius: 47.4mm (1.86in)
Environment
For indoors and outdoors installation Operating temperature: from -50°C (-58°F) up to +80°C (+176°F)
Certifications
Power cable
- Certified cable UL
- Resistance to flame spread: in compliance with UL 758 and test FT2 (CSA C.22.2 Nr. 210)
- RoHS (CE): in compliance with 2015/863/EU
Shielded I/O cable
- Certified cable UL
- Reaction to fire: Fire-self extinguish compliance, FT1 (CSA), IEC/CEI/EN 60332-1-2 · RoHS (CE): in compliance with 2015/863/EU
Ethernet cable
- Certified cable UL
- Resistance to flame spread: in compliance with UL 758 and test FT2 (CSA C.22.2 Nr. 210), IEC/CEI/ EN 60332-1
- RoHS (CE): in compliance with 2015/863/EU

Headquarters Italy VIDEOTEC s.r.l.
Via Friuli, 6 – I-36015 Schio (VI) – Italy
Tel. +39 0445 697411 – Fax +39 0445 697414
Email: [email protected]
www.videotec.com
MNVKMPX2C_2225






















