
SNOW THROWER

SNB408
CAN ICES-002 / NMB-002
www.greenworkstools.com
1 DESCRIPTION
1.1 PURPOSE
This product has been designed and built to remove and clear away snow from pavements, drives and other ground-level surfaces.
1.2 OVERVIEW


1 Self-propelled drive paddle
2 Chute deflector adjustment handle
3 Auger engagement paddle
4 Led headlight button
5 Self propelled drive speed control switch
6 ON/OFF button
7 Auger speed control switch
8 Led headlight
9 Discharge chute control rod
10 Upper handle
11 Lower handle
12 Battery compartment
13 Chute deflector
14 Discharge chute
15 3-in-1 Cleanout Tool
16 Drift cutter
17 Intake housing
18 Auger
19 Scraper plate
20 Skid shoe
21 Wheel
(1) Left zero turn trigger
(2) Right zero turn trigger
2 GENERAL APPLIANCE SAFETY WARNINGS
WARNING
Read all safety warnings and all instructions.
Failure to follow the warnings and instructions may result in electric shock, fire and/or serious injury.
Save all warnings and instructions for future reference.
The term “appliance” in the warnings refers to your battery-operated (cordless) snow thrower.
- Do not allow children under the age of 14 to operate this tool. Children who are 14 years of age or older must read and understand the operating instructions and safety rules in this manual and must be trained and supervised by a parent.
- Read the operating and service instruction manual carefully. Be thoroughly familiar with the controls and the proper use of the appliance. Know how to stop the unit and disengage the controls quickly.
- Never allow children to operate the appliance. Never allow adults to operate the appliance without proper instruction.
- Keep the area of operation clear of all persons, particularly small children, and pets.
- Exercise caution to avoid slipping or falling, especially when operating in reverse.
- Do not use on graveled surfaces.
- Dress Properly — Do not wear loose clothing or jewelry. They can be caught in moving parts.
- Wear rubber boots when operating the appliance.
- Operation of the appliance in the hand-held position is unsafe, except in accordance with the special instructions for such use provided in the operator’s manual.
- Thoroughly inspect the area where the appliance is to be used and remove all doormats, sleds, boards, wires, and other foreign objects.
- Do not operate the appliance without wearing adequate winter garments. Wear footwear, which will improve footing on slippery surfaces.
- Adjust the housing height to clear gravel or crushed rock surface.
- Never attempt to make any adjustments while the appliance is running (except where specifically recommended by manufacturer).
- Always wear safety glasses or eye shields during operation or while performing an adjustment or repair to protect eyes from foreign objects that may be thrown from the appliance.
- Prevent unintentional starting. Ensure the switch is in the off-position before connecting to battery pack, picking up or carrying the appliance. Carrying the appliance with your finger on the switch or energizing appliance that have the switch on invites accidents.
- Disconnect the battery pack from the appliance before making any adjustments, changing accessories, or storing appliance. Such preventive safety measures reduce the risk of starting the appliance accidentally.
- When battery pack is not in use, keep it away from other metal objects, like paper clips, coins, keys, nails, screw or other small metal objects, that can make a connection from one terminal to another. Shorting the battery terminals together may cause burns or a fire.
- Under abusive conditions, liquid may be ejected from the battery; avoid contact. If contact accidentally occurs, flush with water. If liquid contacts eyes, additionally seek medical help. Liquid ejected from the battery may cause irritation or burns.
- Do not put hands or feet near or under rotating parts. Keep clear of the discharge opening at all times.
- Exercise extreme caution when operating on or crossing gravel drives, walks, or roads. Stay alert for hidden hazards or traffic.
- After striking a foreign object, turn the machine off and remove the battery pack, and then inspect it for damage. Repair any damage before restarting and using the machine.
- If the appliance should start to vibrate abnormally, stop the machine and check immediately for the cause. Vibration is generally a warning of trouble.
- Stop the machine whenever you leave the operating position, before unclogging the collector/impeller housing or discharge guide, and when making any repairs, adjustments, or inspections.
- When cleaning, repairing, or inspecting, make certain the collector/impeller and all moving parts have stopped.
- Exercise extreme caution when operating on slopes.
- Never operate the appliance without proper guards, keep other safety protective devices in place and working.
- Never direct the discharge toward people or areas where property damage can occur. Keep children and others away.
- Don’t Overreach — Keep proper footing and balance at all times.
- Do not overload the machine capacity by attempting to clear snow at too fast a rate.
- Don’t Force appliance — It will perform better and safer at the rate for which it was designed.
- Never operate the appliance at high transport speeds on slippery surfaces. Use care when reversing.
- Never direct discharge at bystanders or allow anyone in front of the appliance.
- Disengage power to the auger/impeller when the appliance is transported or not in use.
- Use only attachments and accessories approved by the manufacturer of the appliance (such as wheel weights, counterweights, or cabs).
- Never operate the appliance without good visibility or light. Always be sure of your footing, and keep a firm hold on the handles.
- Walk, never run.
- Clear snow when discharger chute is clogged.
- The machine is not intended for use by persons (including children) with reduced physical, sensory or mental capabilities, or lack of experience and knowledge, unless they have been given supervision or instruction concerning use of the machine by a person responsible for their safety. Children should be supervised to ensure that they do not play with the machine.
- Hand contact with the rotating impeller inside the discharge chute is the most common cause of injury associated with this type of appliance. Never use your hand to clean out the discharge chute. To clear the chute:
1. SHUT THE ENGINE (Motor) OFF!
2. Wait 10 seconds to be sure the impeller blades have stopped rotating.
3. Always use a clean-out tool, not your hands.
• If the appliance strikes a foreign object follow these steps:
1. Stop the appliance. Release the switch.
2. Remove the battery pack.
3. Inspect for damage.
4. Repair any damage before restarting and operating the appliance. - Check shear bolts; engine-mounted bolt, etc., at frequent intervals for proper tightness to be sure the appliance is in safe working condition.
- Always refer to owner’s guide instructions for important details if the appliance is to be stored for an extended period.
- Store idle appliances Indoors – When not in use, the appliances should be stored indoors in a dry, locked-up place – out of reach of children.
- Check shear bolts and other bolts at frequent intervals for proper tightness to be sure the equipment is in safe working condition.
- Run the appliance a few minutes after throwing snow to prevent freeze-up of the auger/impeller.
- Do not use a battery pack or appliance that is damaged or modified. Damaged or modified batteries may exhibit unpredictable behavior resulting in fire, explosion or risk of injury.
- Do not expose a battery pack or appliance to fire or excessive temperature space. Exposure to fire or temperature above 265°F (130°C) may cause explosion.
- Follow all charging instructions and do not charge the battery pack or appliance outside of the temperature range specified in the instructions. Charging improperly or at temperatures outside of the specified range may damage the battery and increase the risk of fire.
- Recharge only with the charger specified by the manufacturer. A charger that is suitable for one type of battery pack may create a risk of fire when used with another battery pack.
- Use appliances only with specifically designated battery packs. Use of any other battery packs may create a risk of injury and fire.
- Have servicing performed by a qualified repair person using only identical replacement parts. This will ensure that the safety of the product is maintained.
- Do not modify or attempt to repair the appliance or the battery pack (as applicable) except as indicated in the instructions for use and care.
- Maintain appliance with care – follow instructions for changing accessories.
- Maintain or replace safety and instructions labels, as necessary.
3 RECOMMENDED AMBIENT TEMPERATURE RANGE:
| Item | Temperature |
| Snow shovel storage temperature range | 1.4 °F (-17 °C) – 113 °F (45 °C) |
| Snow shovel operation temperature range | 1.4 °F (-17 °C) – 113 °F (45 °C) |
| Battery charging temperature range | 39 °F (4 °C) – 104 °F (40 °C) |
| Charger operation temperature range | 39 °F (4 °C) – 104 °F (40 °C) |
| Battery discharging temperature range | 1.4 °F (-17 °C) – 113 °F (45°C) |
| Battery storage temperature range | 32 °F (0 °C) – 113 °F (45°C) |
4 SYMBOLS ON THE PRODUCT
Some of the following symbols may be used on this tool. Please study them and learn their meaning. Proper interpretation of these symbols will allow you to operate the tool better and safer.
| Symbol | Explanation |
| Direct current | |
![]() | Precautions that involve your safety. |
![]() | Read and understand all instructions before operating the product, and follow all warnings and safety instructions. |
![]() | Wear eye protection. |
![]() | Thrown objects can ricochet and result in personal injury or property damage. Wear protective clothing and boots. |
![]() | Keep bystanders a safe distance from the machine. |
![]() | Keep hands away from the discharge area. |
| Stay away from moving parts. Keep all guards and shields in place. | |
![]() | Keep feet out of impeller. Keep feet away from rotating impeller. |
![]() | Stop the motor and remove the battery before leaving the product. |
5 RISK LEVELS
The following signal words and meanings are intended to explain the levels of risk associated with this product.
| SYMBOL | SIGNAL | MEANING |
![]() | DANGER | Indicates an imminently hazardous situation, which, if not avoided, will result in death or serious injury. |
![]() | WARNING | Indicates a potentially haz-ardous situation, which, if not avoided, could result in death or serious injury. |
![]() | CAUTION | Indicates a potentially haz-ardous situation, which, if not avoided, may result in minor or moderate injury. |
| CAUTION | (Without Safety Alert Sym-bol) Indicates a situation that may result in property damage. |
6 SERVICE
Servicing requires extreme care and knowledge and must be performed only by a qualified service technician. For service we suggest you return the machine to your nearest AUTHORIZED SERVICE CENTER for repair. Use only identical manufacturer’s replacement parts and accessories.
7 ENVIRONMENTALLY SAFE BATTERY DISPOSAL

The toxic and corrosive materials below are in the batteries used in this machine: Lithium-Ion, a toxic material.
WARNING
Discard all toxic materials in a specified manner to prevent contamination of the environment. Before discarding damaged or worn out Li-ion battery, contact your local waste disposal agency, or the local Environmental Protection Agency for information and specific instructions. Take the batteries to a local recycling and/or disposal center, certified for lithium-ion disposal.
WARNING
If the battery pack cracks or breaks, with or without leaks, do not recharge it and do not use. Discard it and replace with a new battery pack. DO NOT TRY TO REPAIR IT! To prevent injury and risk of fire, explosion, or electric shock, and to avoid damage to the environment:
- Cover the terminals of the battery with heavy-duty adhesive tape.
- DO NOT try to remove or destroy any of the battery pack components.
- DO NOT try to open the battery pack.
- If a leak develops, the released electrolytes are corrosive and toxic. DO NOT get the solution in the eyes or on skin, and do not swallow it.
- DO NOT put these batteries in your regular household trash.
- DO NOT incinerate.
- DO NOT put them where they will become part of any waste landfill or municipal solid waste stream.
- Take them to a certified recycling or disposal center.
8 PROPOSITION 65
WARNING
This product contains a chemical known to the state of California to cause cancer, birth defects or other reproductive harm. Some dust created by power sanding, sawing, grinding, drilling, and other construction activities contains chemicals known to cause cancer, birth defects or other reproductive harm. Some examples of these chemicals are:
- Lead from lead-based paints;
- Crystalline silica from bricks and cement and other masonry products;
- Arsenic and chromium from chemically treated lumber.
Your risk of exposure to these chemicals varies depending on how often you do this type of work. To reduce your exposure to these chemicals, work in a well-ventilated area, and work with approved safety equipment, such as dust masks that are specially designed to filter out microscopic particles.
Save these instructions.
9 INSTALLATION
WARNING
Do not change or use accessories that are not recommended by the manufacturer.
Do not install battery pack until you assemble all the parts.
9.1 UNPACK THE MACHINE
WARNING
Make sure that you correctly assemble the machine before use.
WARNING
• If the parts are damaged, do not use the machine.
• If you do not have all the parts, do not operate the machine.
• If the parts are damaged or missing, speak to the service center.
1. Open the package.
2. Read the documentation in the box.
3. Remove all the unassembled parts from the box.
4. Remove the machine from the box.
5. Discard the box and package in compliance with local regulations.
9.2 INSTALL THE UPPER HANDLE

1. Align the holes in the middle handle and the upper handle.

2. Insert the bolt (22) through the middle handle and upper handle.
3. Tighten the handle knob (23) onto the bolt(22).
4. Repeat for left/right side.
9.3 INSTALL THE DISCHARGE CHUTE

1. Loosen the knob (24) and bolt (25) on the discharge chute assembly (14).
2. Align the holes on the discharge chute with the holes on the lower support.
3. Once you have engaged the discharge chute onto the chute base, push until you hear a click.

4. Insert the bolt (25) through the holes and tighten with the knob (24).
5. Fix the wire by rolling up the clip.
9.4 INSTALL THE CHUTE CONTROL ROD

1. Make sure that the discharge chute faces forward.
2. Keep the grip handle up.
3. Push the chute control rod (9) through the slot below the control panel.
4. Put the end of the chute control rod (9) straight through the hole of the chute support (28).
5. Align the holes on the bracket (26) with the holes below the control panel. Tighten with the bolts (27).
NOTE
Make sure that the bracket is in the middle of the spacers.

6. Pull the cable to attach onto bottom of the rod. Align the holes, insert the bolt through the holes and lock with the pin.

- Bolt
- Cable
- Pin
7. Pull the grip handle back and then turn the grip handle left and right to make sure that the discharge chute moves in the desired direction.
9.5 INSTALL THE BATTERY PACK

WARNING
• If the battery pack or charger is damaged, replace the battery pack or the charger.
• Stop the machine and wait until the engine stops before you install or remove the battery pack.
• Read, know, and do the instructions in the battery and charger manual.
NOTE
Install two batteries for operation or three for extended runtime.
1. Open the battery door.
2. Align the lift ribs on the battery pack with the grooves in the battery compartment.
3. Push the battery pack into the battery compartment until the battery pack locks into place.
4. When you hear a click, the battery pack is installed.
5. Close the battery door (12).
9.6 REMOVE THE BATTERY PACK
1. Open the battery door (11).
2. Push and hold the battery release button.
3. Remove the battery pack from the machine.
10 OPERATION
WARNING
Wear eye protection during operation.
10.1 COLD WEATHER OPERATION
The safe battery operation temperature ranges from 1°F (-17°C) to 113°F (45°C).
WARNING
Do not store or charge battery outside.
Battery must be charged and stored indoors prior to use of the machine.
If the machine does not start:
• remove the battery pack from the machine,
• charge the battery pack to 15 minutes in warm area, or when the charging light turns green.
• Install the battery pack back in the unit.
10.2 KNOW THE CONTROL PANEL


| No. | Name | Function |
| 1 | Self-propelled drive paddle | This machine allows self propelled drive mode that it can walk itself. Self propelled drive mode brings you easy operation. |
| (1)(2) | Zero turn trigger | Turn assist handles for quick and effortless steering. This machine is equipped with zero turn system, which gives the machine accurate and smooth steering without deviation. |
| 2 | Chute deflector control handle | The chute deflector can be adjusted up and down to adjust the throwing distance of snow. |
| 3 | Auger/ impeller control trigger | The auger/impeller can be started to rotate when machine is moving. Roatating auger/impeller breaks snow easily and clears snow quickly. |
| 4 | LED headlight button | Push button (A, B, C, D) to adjust the rear/front headlights. |
| E | Battery indicator | Power display for each battery (3 pcs). |
| 5 | Self-propelled drive speed control switch | Allows operators to select a comforta-ble driving speed. It gives 3 forward speeds and 1 backward self-propelled and 1 neutral. |
| 6 | ON/OFF button | The ON/OFF button is used to turn the machine on and off. |
| 7 | Auger/ impeller speed control switch | Adjust the switch to control the aug-er/impeller run fast or slowly. |
| 9 | Chute control rod | Control the 200° adjustable discharge chute to turn to multiple different directions. |
10.3 START AND STOP THE AUGER/ IMPELLER

To stop auger/impeller:
- Push the ON/OFF button (6).
- Depress and hold the auger paddle (3).
NOTE
Finish these 2 actions within 5 seconds.
To stop auger/impeller:
- Release the auger paddle (3).
NOTE
Lower the scraper to the ground to remove the snow.
WARNING
Keep bystanders a safe distance from the machine.
WARNING
Examine the work area. Remove all stones, sticks, wire, bones, and other debris that can ricochet because of the rotating impeller.
10.4 ADJUST THE AUGER SPEED
(If the unit is in the OFF position):
1. Push the ON/OFF button (6)
2. Depress and hold the auger paddle (3).
3. To increase the auger speed, push the auger speed lever (7) forward.
4. To decrease the auger speed, pull the auger speed lever (7) backwards.
NOTE
Lower the scraper to the ground to remove the snow.
WARNING
Keep bystanders a safe distance from the machine.
WARNING
Examine the work area. Remove all stones, sticks, wire, bones, and other debris that can ricochet because of the rotating impeller.
10.5 SELF PROPELLED DRIVE MODE
To start drive system:
1. Push the ON/OFF button (6).
2. Depress and hold the drive paddle (1).
3. To increase the drive speed, push the drive speed control lever forwards (5).
4. To decrease the drive speed, pull the drive speed control lever backwards (5).
To stop the drive system:
1. Release the drive paddle (1).
NOTE
If machine is left idle, in either operation for longer than 5 seconds, you will need to start the process over again.
To turn left:
1. Depress and hold the drive paddle (1).
2. Pull the left zero turn trigger to trun the machine to left.
To turn right:
1. Depress and hold the drive paddle (1 ).
2. Pull the right zero turn trigger to trun the machine to right.
NOTE
For self propelled drive mode, this machine provides with 3 forward speeds and 1 reverse.
10.6 START AUGER AND SELF-PROPELLED DRIVE AT THE SAME TIME
1. Push the ON/OFF button (6).
2. Depress and hold the auger engagement paddle (1) to start the auger.
3. Depress and hold the drive paddle (1) to start self-propelled drive.
NOTE
Finish these 3 actions within 5 seconds.
10.7 LOCK SELF-PROPELLED DRIVE PADDLE AND AUGER ENGAGEMENT PADDLE WITH ONE HAND

- Auger engagement paddle
- Self-propelled drive paddle
When you push the self-propelled drive paddle (1) and the auger engagement paddle (3) at the same time, the auger engagement paddle will be temporarily locked.
Release the auger engagement paddle (right hand) and the auger engagement paddle (3) will remain engaged.
This feature allows you to adjust the auger speed, self-propelling speed, and discharging direction of the snow while the auger rotates.
To stop the auger, release the self-propelled drive paddle and both the auger and the self-propel function will stop.
10.8 MANUALLY MOVE THE MACHINE
NOTE
When the pushing resistance of the whole machine becomes large or cannot be pushed, the user needs to check whether the unilateral wheel can be turned by hand when it is off the ground. If it can’t be rotated easily, you need to disassemble the chassis bottom plate and unplug the motor cable. Manual promotion can be resumed at this time.
1. Unscrew the eight screws.
2. Remove the bottom chassis plate.

- Chassis plate
3. Unplug the motor cable.
4. Reinstall the bottom plate with eight screws.
5. Manually push the machine to move.

10.9 LED HEADLIGHTS


Turning the headlights on :
- Push the button (6) to turn on the LED light.
Turning the headlights off :
- Push the button (6) to turn off the LED light.
Push button to adjust the light:
- A. Turn on the front lights.
- B. Turn on the rear lights.
- C. Turn off all the lights.
- D. Warinng.
10.10 ADJUST THE DISCHARGE CHUTE

You can adjust the discharge chute 200° to change the snow direction.
1. Pull back the chute adjustment handle (9) for a short distance. (The lock button (37) will be pulled down to allow the chute move.)


2. Rotate the chute adjustment handle (9) left to move the discharge chute (14) to the left. Release the grip handle to lock the chute in the desired direction.
3. Rotate the chute adjustment handle (9) right to move the discharge chute (14) to the right. Release the grip handle to lock the chute in the desired direction.

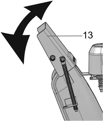
10.11 ADJUST THE CHUTE DEFLECTOR

You can adjust the chute deflector up and down to change the throwing distance of the snow.
WARNING
Turn off the machine before you adjust the chute deflector.
WARNING
Do not push the trigger so far forward that a gap shows between the deflector and the chute.

1. Grip and hold the chute deflector control lever (2).
2. Pull the chute deflector control lever (2) to the left and hold to unlock position.
3. Move the chute deflector control lever (2) forward to adjust the deflector (13) down and decrease the snow throw distance.
4. Move the chute deflector control lever (2) backward to adjust the deflector (13) up and increase the snow throw distance.
10.12 OPERATION TIPS
- If it is possible, clear the snow with the direction of the wind.
- In strong winds, lower the chute deflector to direct the snow to the ground.
- When you complete the work, let the machine operate for a while to prevent ice formation in the discharge chute.
- If the snow is deeper than 8″, decrease the speed and let the machine work at its own rhythm.
- Do not use the scraper to remove compact snow and ice.
11 MAINTENANCE
WARNING
Remove the safety key and battery pack from the machine before maintenance.
CAUTION
Use only approved replacement parts.
CAUTION
Do not let brake fluids, gasoline, petroleum-based materials touch the plastic parts. Chemicals can cause damage to the plastic, and make the plastic unserviceable.
CAUTION
Do not use strong solvents or detergents on the plastic housing or components.
11.1 GENERAL MAINTENANCE
- Before each use, examine the machine for damaged, missing, or loose parts such as screws, nuts, bolts and caps.
- Tighten correctly all the fasteners and caps.
- Clean the remaining snow on the machine with a brush.
11.2 CLEAR THE CLOGGED CHUTE

WARNING
- Never use your hand to clean out the chute. Failure to follow these instructions can result in serious personal injury.
- Never reach into the discharge chute or place any body part in front of the snow thrower when the unit is operating or when the battery packs are installed.
To clear the discharge chute:
- Push the ON/OFF button to turn off the machine.
- Remove the battery backs.
- Wait 10 seconds to be sure the auger has stopped rotating.
- Always use the chute clean tool (15) which is attached to the machine as an accessory.
11.3 REPLACE THE SKID SHOES

NOTE
The range of adjustable height for skid shoes is 1.5mm, when putting the bolts through the U-hole on the skid shoes.
1. Loosen the 2 sets of bolts (29), spacers (30) and nuts (31) that attach the skid shoe (20) to the snow thrower housing.
2. Remove the skid shoe (20).
3. Install the new skid shoe (20).
4. Repeat the same operation on the other side.
11.4 REPLACE THE SCRAPER PLATE

- Auger
- Impeller
WARNING
Use only approved replacement scraper plates.
WARNING
Wear heavy gloves or wind cloth around the blade when you touch the blade.
1. Remove the nuts (34) and spacers (33) from scraper plate.
2. Remove the screws (32) and discard the old scraper plate.
3. Install the new scraper plate.
4. Reinstall the screws (32), spacer plates (33) and tighten them with the nuts (34)
11.5 REPLACE THE SAFETY PIN

- Auger bar
- Safety pin
NOTE
The safety pin is used to disperse the pressure of snow to protect the auger/impeller bar.
1. Remove the nuts and safety pins.
2. Install the new safety pins. (The spare safety pins are on the top of the chute support.)

11.6 REPLACE THE DRIFT CUTTER

1. Remove the batteries.
2. Insert the two bolts into the intake housing wall.
3. Install the drift cutter and wing nuts onto the bolts.
4. Pre-tighten the wing nuts and keep the drift cutter a little loose for adjustment.
5. Move the drift cutter to the desired position and tighten the wing nuts.

11.7 STORE THE MACHINE
- Clean the machine before storage.
- Make sure the motor is not hot when you store the machine.
- Make sure that the machine does not have loose or damaged parts. If it is necessary, do these steps/ instructions:
• Replace the damaged parts.
• Tighten the bolts.
• Speak to a person at an approved service center. - Store the machine in a dry area.
- Make sure that children cannot come near the machine.
12 TROUBLESHOOTING
| Problem | Possible cause | Solution |
| The handle is not in position. | The bolts are not engaged correctly. | Adjust the height of the handle and make sure that the knobs and bolts are aligned correctly. |
| The machine does not start. | The battery is not charged. | Charge the bat-tery by following the procedures in the battery and charger manual. |
| The switch is defective. | Have the switch replaced by an authorized service center. | |
| Battery is too cold. | Remove battery from snow thrower. Place battery on charger and allow to charge for 10 minutes or until the changing light turns green. Remove from charger and install in snow thrower for use. | |
| Battery may require service or replacement. | Call toll free helpline, at 1-855-345-3934 or replace battery. | |
| The engine is on, but the impeller does not turn. | The belt is damaged. | Replace the belt. |
| A thin layer of snow stays behind. | The scraper is damaged. | Replace the scraper. |
* If you cannot find the solution to these problems, call 1-855-345-3934.
13 TECHNICAL DATA
| Voltage | 80V |
| Clearing width | 24 in. |
| Intake height | 20 in. |
| Throwing distance | 50 ft |
| Wheel size | 15 in. |
| Weight (without battery pack) | 80 kg (176.4 Ibs) |
| Battery | BAB727 and other BAB series |
| Charger | CAB812 and other CAC series |
14 LIMITED WARRANTY

Greenworks hereby warranties this product, to the original purchaser with proof of purchase, for a period of four (4) years against defects in materials, parts or workmanship. Greenworks, at its own discretion will repair or replace any and all parts found to be defective, through normal use, free of charge to the customer. This warranty is valid only for units which have been used for personal use that have not been hired or rented for industrial/commercial use, and that have been maintained in accordance with the instructions in the owners’ manual supplied with the product from new.
ITEMS NOT COVERED BY WARRANTY:
1. Any part that has become inoperative due to misuse, commercial use, abuse, neglect, accident, improper maintenance, or alteration; or
2. The unit, if it has not been operated and/or maintained in accordance with the owner’s manual; or
3. Normal wear;
4. Routine maintenance items such as lubricants, blade sharpening;
5. Normal deterioration of the exterior finish due to use or exposure.
HELPLINE:
Warranty service is available by calling our toll-free helpline, at 1-855-345-3934.
TRANSPORTATION CHARGES:
Transportation charges for the movement of any power equipment unit or attachment are the responsibility of the purchaser. It is the purchaser’s responsibility to pay transportation charges for any part submitted for replacement under this warranty unless such return is requested in writing by Greenworks.
USA address:
Greenworks Tools
P.O. Box 1238
Mooresville, NC 28115
Canadian address:
Greenworks Tools Canada Inc.
P.O. Box 93095, Newmarket, Ontario
L3Y 8K3
15 EXPLODED VIEW
1
2
3
4
5
6
7
8
| No. | Part No. | Qty | Description |
| 1 | R0203398-00 | 1 | Chute Deflector Assembly |
| 2 | R0203399-00 | 1 | Control Rod Assembly |
| 3 | R0203424-00 | 2 | Safety Pin Assembly |
| 4 | R0203400-00 | 1 | Skid Plate Assembly |
| 5 | R0203401-00 | 1 | Snow Breaker Assembly |
| 6 | R0203402-00 | 1 | Knob and Bolt |
| 7 | R0203403-00 | 1 | 3-in-1 Brush Assembly |
| 8 | R0203404-00 | 1 | Scraper Assembly |


























