Humanscale M-POWER Charging Station
Parts Included

Installation Guidelines
This product is intended to be used with Humanscale’s Monitor Arm product line and the following office desk styles placed on a non-skid surface:
- Systems Furniture with panel hung surfaces
- Systems Furniture with a floor mounted panel behind the desk
- Systems Furniture with a desk mounted panel in the rear of the desk
- Back-to-back desks sharing the same frame
When mounting monitor arm and monitor(s) with this product on a freestanding desk/table:
- The freestanding desk/table should have base that is no less than 30” deep and 66.5” wide
- The freestanding desk/table should be a minimum of 200 lbs and placed on a non-skid surface.
- The tabletop thickness should be no less than 1.2 inches and strong enough to support a minimum weight load of 165lb.
Identifying Ports


Assembly Instructions
Installing M/Power Onto Edge of Table
CAUTION: Maximum weightload of M/Connect is as follows: M2.1: 15.5 lbs. – M8.1: 28 lbs. – M10: 40 lbs. – M/Flex: 60 lbs. total M10 is not to be used on M/Flex when mounted to M/Power DO NOT exceed maximum weight limits. When used in conjunction with M/Power, M/Flex Post must be limited to 24 inches.
Place M/Power Clamp onto Table
Slide mount against work surface edge and fully tighten clamp screw (fig. A)
Installing M/Power Through A Grommet Hole or System Furniture
Disassemble ClampRemove the two screws (fig. B) using 4 mm hex key (fig. D) and detach the smaller clamp bracket (fig. C) from the larger bracket
Place into Grommet Hole or System Furniture Gap
Place the L Bracket of the M/Power through the grommet hole and to the desired position NOTE: Minimum hole diameter is 3” (76 mm
Reattach Clamps
Secure the lower bracket to the larger bracket reusing the two M6 screws (fig. E) NOTE: Minimum hole diameter is 3” (76 mm)
Installing M/Power onto Slide Desk
Place M/Power Clamp onto table edge
Slide unit with loosely mounted bracket against work surface edge.
Tighten Clamp
Tighten both set screws into bracket to a snug fit (fig. F
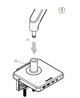
Attaching A Monitor Arm to M/Power
M2.1/M8.1 Monitor arm Adjust Base Clamp for Correct Work Surface Depth
- Insert Monitor Arm into the Base stem (fig. H) until you hear it click into place.
- Proceed to the “Attach VESA Bracket to Monitor” step in the main M2.1 or M8.1 instruction guide.

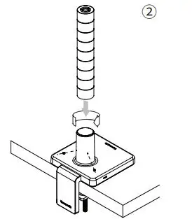
M/Flex Monitor Arm
- Adjust Base Clamp for Correct Work Surface Depth
- Back out the two set screws installed in stem
- Insert M/Flex post into Base and twist onto internal bolt until fully seated
- Tighten both set screws evenly to secure post using hex key

Installation Guidelines
- This product is intended to be used with Humanscale’s Monitor Arm product line and the following office desk styles placed on a non-skid surface:
- Systems Furniture with panel hung surfaces
- Systems Furniture with a floor mounted panel behind the desk
- Systems Furniture with a desk mounted panel in the rear of the desk
- Back-to-back desks sharing the same frame
When mounting monitor arm and monitor(s) with this product on a freestanding desk/table:
- The freestanding desk/table should have base that is no less than 30” deep and 66.5” wide
- The freestanding desk/table should be a minimum of 200 lbs and placed on a non-skid surface.
- The tabletop thickness should be no less than 1.2 inches and strong enough to support a minimum weight load of 165lb.
Plug in power cable
- Insert power cable into rearward power jack
- LED light (fig. K) will illuminate to indicate power

Connect auxiliary cable for audio pass through
- Insert auxiliary audio cable into rearward audio jack, connect to computer
- Insert headphones into front audio jack

Electrical Specifications
FCC Notice
M/Power Models MP-AXY (where X and Y can be alphanumeric or blank)
This device complies with part 15 of the FCC Rules. Operation is subject to the following two conditions:
- This device may not cause harmful interference,
- this device must accept any interference received, including interference that may cause undesired operation.
Note: This equipment has been tested and found to comply with the limits for a Class B digital device, pursuant to part 15 of the FCC Rules. These limits are designed to provide reasonable protection against harmful interference in a residential installation. This equipment generates, uses and can radiate radio frequency energy and, if not installed and used in accordance with the instructions, may cause harmful interference to radio communications. However, there is no guarantee that interference will not occur in a particular installation. If this equipment does cause harmful interference to radio or television reception, which can be determined by turning the equipment off and on, the user is encouraged to try to correct the interference by one or more of the following measures:
- Reorient or relocate the receiving antenna.
- Increase the separation between the equipment and receiver.
- Connect the equipment into an outlet on a circuit different from that to which the receiver is connected.
- Consult the dealer or an experienced radio/TV technician for help.
The FCC requires the user be cautioned that any changes or modifications made to this device that are not expressly approved by Humanscale may void the user’s authority to operate the equipment.
How TO CONNECT
Humanscale 1114 Avenue of the Americas New York, NY 10036 +1 (800) 400-0625 Innovation, Science and Economic Development Canada ICES-003 Compliance Notice: CAN ICES-3 (B)/NMB-3(B)





















