
Wall Mount Soundbar
Bracket Kit
User Guide
BE-SBM110
Before using your new product, please read these instructions to prevent any damage.
IMPORTANT SAFETY INSTRUCTIONS
SAVE THESE INSTRUCTIONS
CAUTION: Do not use this product for any purpose not explicitly specified by Best Buy essentials.
- Improper installation may cause property damage or personal injury. If you do not understand these directions or have doubts about the safety of the installation, contact Customer Service or call a qualified contractor. Best Buy is not responsible for damage or injury caused by incorrect installation or use.
- This product contains small items that could be a choking hazard if swallowed. Keep these items away from young children!
Weight restrictions
Make sure that the weight does not exceed 20 lbs. (9 kg).
CAUTION: Avoid potential personal injuries and property damage!
Wall Mount Soundbar Bracket Kit
Tools needed
You need the following tools to assemble your new soundbar bracket:

Package contents
Parts
Make sure that you have all the parts and hardware necessary to assemble your new soundbar bracket:

| LABEL | HARDWARE | QUANTITY |
| 2 | Lag screw | 4 |
| 3 | Anchor | 4 |
| 4 | Om M4 x 10 mm screw | 2 |
| 4 | M4 x 16 mm screw | 2 |
| 4 | M5 x 16 mm screw | 2 |
| 4 | M6 x 16 mm screw | 2 |
| 5 | M4/M5 washer | 2 |
| 5 | M6/M8 washer | 2 |
Preparing for the installation
- Look at the mounting holes on the back or bottom of your soundbar to determine which method you need to use.

Installation instructions
STEP 1 – Determining the bracket location You’ll need
Determining the height of the mounting brackets
Note: We suggest that you check the documentation that came with your soundbar for the recommended distance from the TV to the soundbar.
- If your TV is already mounted on the wall, measure down from the bottom of the TV to where you want the top of the soundbar, then measure down the height of the soundbar. This should be the height of the bottom of the mounting brackets (1).
OR
If your TV isn’t mounted on the wall, determine where the bottom of your TV will be when mounted, then measure as indicated in Step 1.
- Measure the distance of the soundbar bracket mounting holes from the bottom of the soundbar bracket (1). This should be the height of the mounting holes. Mark this with a pencil.

- Use a level to mark a corresponding hole for the other mounting bracket (1).
Determining the width between the mounting brackets
- If the soundbar mounting brackets (1) will be mounted to the soundbar on the bottom with threaded inserts, measure the distance between the threaded inserts.
OR - If the soundbar will be mounted shelf-style, measure from the edges of the soundbar (centered under the TV) two to five inches.

- Mark this distance on the wall with a pencil at the height previously measured, centered under the TV.
- Center the triangular holes in the two mounting brackets (1) on these marks, then mark the mounting holes with a pencil. Be sure the marks are level.
STEP 2 – Installing the soundbar brackets You’ll need

- Drill test holes on the pencil marks with the 1/8 in. drill bit.

- If you hit drywall only in any of the holes, re-drill those holes with the 3/8 in. drill bit and insert anchors (3) in each of the holes, then go to STEP 3 below.
Note: Fold the “wings” of the anchors forward as shown below, so that they expand when pushed through the wallboard.
OR
If you hit a wood stud in any of the holes, go to STEP 3 below. - 3Secure the mounting brackets (1) with lag screws (2).

STEP 3 – Installing your soundbar You’ll need

- Loosen the screws on the bottom of the mounting brackets (1) and pull the front of the mounting brackets out.

- Connect the necessary cables to the back of your soundbar, then place your soundbar on the mounting brackets (1).

- If your soundbar is bottom mounted (with threaded inserts), you can (optionally) install the correct sized mounting screws (4) through washers (5), into the threaded holes. Snug the screws.

- Adjust the front portion of the mounting brackets (1) so that they contact the front of your soundbar.
CAUTION: Take care not to crimp the cables on the back of your soundbar. You could damage them.
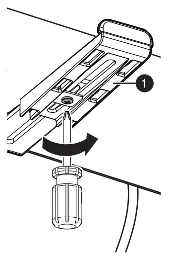
- Adjust the mounting brackets (1) so that the bracket extends for the whole width of the soundbar, then tighten the adjustment screws with a Phillips screwdriver.

- Tighten the screws on the bottom of the mounting brackets (1).
For customer service, call: 1-866-597-8427 (U.S. and Canada)
ONE-YEAR LIMITED WARRANTY
Definitions:
The Distributor* of Best Buy essentials branded products warrants to you, the original purchaser of this new Best Buy essentials-branded product (“Product”), that the Product shall be free of defects in the original manufacturer of the material or artistry for a period of one (1) year from the date of your purchase of the Product (“Warranty Period”).
For this warranty to apply, your Product must be purchased in the United States or Canada from a Best Buy branded retail store or online at www.bestbuy.com or www.bestbuy.ca and is packaged with this warranty statement.
How long does the coverage last?
The Warranty Period lasts for 1 year (365 days) from the date you purchased the Product. Your purchase date is printed on the receipt you received with the Product.
What does this warranty cover?
During the Warranty Period, if the original manufacture of the material or workmanship of the Product is determined to be defective by an authorized Best Buy essentials repair center or store personnel, Best Buy essentials will (at its sole option): (1) repair the Product with new or rebuilt parts; or (2) replace the Product at no charge with new or rebuilt comparable products or parts. Products and parts replaced under this warranty become the property of Best Buy essentials and are not returned to you. If service of Products or parts are required after the Warranty Period expires, you must pay all labor and parts charges. This warranty lasts as long as you own your Best Buy essentials Product during the Warranty Period. Warranty coverage terminates if you sell or otherwise transfer the Product.
How to obtain warranty service?
If you purchased the Product at a Best Buy retail store location or from a Best Buy online website (www.bestbuy.com or www.bestbuy.ca), please take your original receipt and the Product to any Best Buy store. Make sure that you place the Product in its original packaging or packaging that provides the same amount of protection as the original packaging.
To obtain warranty service, in the United States and Canada call 1-866-597-8427. Call agents may diagnose and correct the issue over the phone.
Where is the warranty valid?
This warranty is valid only in the United States and Canada at Best Buy branded retail stores or websites to the original purchaser of the product in the country where the original purchase was made.
What does the warranty not cover?
This warranty does not cover:
- Customer instruction/education
- Installation
- Set up adjustments
- Cosmetic damage
- Damage due to weather, lightning, and other acts of God, such as power surges
- Accidental damage
- Misuse
- Abuse
- Negligence
- Commercial purposes/use, including but not limited to use in a place of business or in communal areas of a multiple dwelling condominium or apartment complex, or otherwise used in a place other than a private home.
- Modification of any part of the Product, including the antenna
- Display panel damaged by static (non-moving) images applied for lengthy periods (burn-in).
- Damage due to incorrect operation or maintenance
- Connection to an incorrect voltage or power supply
- Attempted repair by any person not authorized by Best Buy essentials to service the Product
- Products sold “as is” or “with all faults”
- Consumables, including but not limited to batteries (i.e. AA, AAA, C etc.)
- Products where the factory-applied serial the number has been altered or removed
- Loss or Theft of this product or any part of the product
- Display panels containing up to three (3) pixel failures (dots that are dark or incorrectly illuminated) grouped in an area smaller than one-tenth (1/10) of the display size or up to five (5) pixel failures throughout the display. (Pixel-based displays may contain a limited number of pixels that may not function normally.)
- Failures or damage caused by any contact including but not limited to liquids, gels, or pastes.
REPAIR REPLACEMENT AS PROVIDED UNDER THIS WARRANTY IS YOUR EXCLUSIVE REMEDY FOR BREACH OF WARRANTY. Best Buy essentials SHALL NOT BE LIABLE FOR ANY INCIDENTAL OR CONSEQUENTIAL DAMAGES FOR THE BREACH OF ANY EXPRESS OR IMPLIED WARRANTY ON THIS PRODUCT, INCLUDING, BUT NOT LIMITED TO, LOST DATA, LOSS OF USE OF YOUR PRODUCT, LOST BUSINESS OR LOST PROFITS. Best Buy essentials PRODUCTS MAKES NO OTHER EXPRESS WARRANTIES WITH RESPECT TO THE PRODUCT, ALL EXPRESS AND IMPLIED WARRANTIES FOR THE PRODUCT, INCLUDING BUT NOT LIMITED TO ANY IMPLIED WARRANTIES OF AND CONDITIONS OF MERCHANTABILITY AND FITNESS FOR A PARTICULAR PURPOSE, ARE LIMITED IN DURATION TO THE WARRANTY PERIOD SET FORTH ABOVE AND NO WARRANTIES, WHETHER EXPRESS OR IMPLIED, WILL APPLY AFTER THE WARRANTY PERIOD. SOME STATES, PROVINCES, AND JURISDICTIONS DO NOT ALLOW LIMITATIONS ON HOW LONG AN IMPLIED WARRANTY LASTS, SO THE ABOVE LIMITATION MAY NOT APPLY TO YOU. THIS WARRANTY GIVES YOU SPECIFIC LEGAL RIGHTS, AND YOU MAY ALSO HAVE OTHER RIGHTS, WHICH VARY FROM STATE TO STATE OR PROVINCE TO PROVINCE. Contact Best Buy essentials: 1-866-597-8427
www.bestbuy.com/bestbuyessentials
Best Buy essentials is a trademark of Best Buy and its affiliated companies.
*Distributed by Best Buy Purchasing, LLC
7601 Penn Ave South, Richfield, MN 55423 U.S.A.
©2021 Best Buy. All rights reserved.
Part #6907-302053
Lag screw
Anchor
Om M4 x 10 mm screw
M5 x 16 mm screw
M4/M5 washer
M6/M8 washer



























