



Depending on model

Read the instructions carefully as well as the safety guidelines before use.
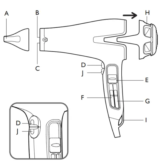
DESCRIPTION
A. Ultra slim concentrator (9 mm)
B. Automatic ionic function
C. Ceramic air outlet grid
D. Cool air button
E. «RESPECT» button
F. Temperature switch (positions 1-2-3)
G. Airspeed switch (positions 1-2)
H. Removable rear housing
I. Hanging loop
J. Turbo-charge button
SAFETY
- For your safety, this appliance complies with the applicable standards and regulations (Low Voltage Directive, Electromagnetic Compatibility, Environmental…).
- The appliance’s accessories become very hot during use. Avoid contact with the skin.
Make sure that the supply cord never comes into contact with the hot parts of the appliance. - Check that the voltage of your electricity supply matches the voltage of your appliance. Any error when connecting the appliance can cause irreparable harm, not covered by the guarantee.
- For additional protection, the installation of a residual current device (RCD) having a rated residual operating current not exceeding 30 mA is advisable in the electrical circuit supplying the bathroom. Ask for an installer for advice.
- The installation of the appliance and its use must however comply with the standards in force in your country.

- WARNING: do not use this appliance near bathtubs, showers, basins, or other vessels containing water.
- When the appliance is used in a bathroom, unplug it after use since the proximity of water presents a hazard even when the appliance is switched off.
- When using the appliance in the bathroom, unplug it after use as the presence of water nearby may pose a danger even when the appliance is turned off.
- This appliance is not intended for use by persons (including children) with reduced physical, sensory or mental capabilities, or lack of experience and knowledge unless they have been given supervision or instruction concerning the use of the appliance by a person responsible for their safety. Children should be supervised to ensure that they do not play with the appliance.
- This appliance can be used by children aged 8 years and above and persons with reduced physical, sensory or mental capabilities or lack of experience and knowledge if they have been given supervision or instruction concerning the use of the appliance in a safe way and understand the hazards involved. Children shall not play with the appliance. Cleaning and user maintenance shall not be made by children without supervision.
- If the supply cord is damaged, it must be replaced by the manufacturer, its service agent, or similarly qualified persons in order to avoid a hazard.
- Stop using your appliance and contact an Authorised Service Centre if:
- your appliance has fallen.
- it does not work correctly. - The appliance is equipped with a heat-sensitive safety device. In the event of overheating (for example if the rear grill is blocked), the dryer will stop automatically: contact the After-Sales Service.
- The appliance must be unplugged:
- before cleaning and maintenance procedures.
- if it is not working correctly.
- as soon as you have finished using it.
- if you leave the room, even momentarily. - Do not use if the cord is damaged.
- Do not immerse or put under running water, even for cleaning purposes.
- Do not hold with damp hands.
- Do not hold the appliance by the casing, which is hot, but by the handle.
- Do not unplug by pulling on the cord, rather pull out by the plug.
- Do not use an electrical extension lead.
- Do not clean with abrasive or corrosive products.
- Do not use at temperatures below 0°C and above 35°C.
GUARANTEE :
Your appliance is designed for use in the home only.
It should not be used for professional purposes.
The guarantee becomes null and void in the case of improper usage.
USE
- “IONIC-CERAMIC” System (1): your hairdryer will automatically disperse negative ions which reduce static electricity, add shine to your hair and make your hair easier to manage. This effect is reinforced by the gentle radiant heat emitted by the ceramic coating.
- SEPARATE SPEED AND TEMPERATURE SETTINGS (2-3-4): “RESPECT” SETTING (5)
- Turn on the appliance.
- Turn on the RESPECT function by pressing the RESPECT switch. - The screen on your hair dryer will light up and the word RESPECT will appear. You are now in automatic mode. A steady temperature of 65°C and an airflow of 15m/sec protects your hair and dries it efficiently.*
- The temperature and speed controls have no effect in RESPECT mode.
*Test conducted by external laboratory compared with conventional drying at the maximum setting (France, April 2010).
ACCESSORIES (DEPENDING ON MODEl)
- Concentrator: (6-7)
- “Classic Volume” diffuser (8-9)
- “Moving Massager” diffuser (10-11)
ClEANING
Warning: always unplug the appliance before cleaning it.
- Your hairdryer requires very little maintenance. You can clean it, as well as the accessories, with a slightly damp cloth to remove any hair or impurities that may be clinging to the rear grid.
- Removable rear housing (12).
ENVIRONMENT PROTECTION FIRST!![]()
Your appliance contains valuable materials which can be recovered and recycled.
Leave it at a local civic waste collection point.
These instructions are also available on our website www.rowenta.com.



















