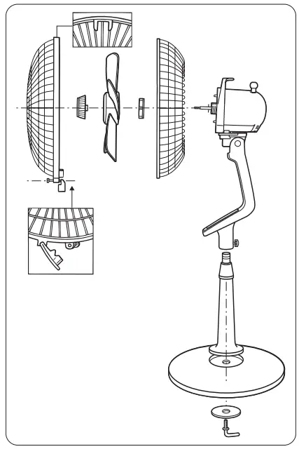
RowenTa VF5640 Turbo Silence Extreme Fan

Instructions for Use









Please read carefully the “Safety and use instructions” booklet before first use
For more information
RowenTa VF5640 Turbo Silence Extreme Fan










Please read carefully the “Safety and use instructions” booklet before first use
For more information
Download manual
Here you can download full pdf version of manual, it may contain additional safety instructions, warranty information, FCC rules, etc.