

INFRARED QUARTZ
HEATER
EP23757
The device should not be used by persons [including children] whose physical, sensory, or mental capacities are impaired, or who lack experience or knowledge unless such persons are afforded supervision or training to operate the appliance by a person responsible for their safety. Children should be supervised not to use the device as a toy. If the power cord is damaged, it must be replaced by the manufacturer, its authorized service agent, or by qualified personnel in order to avoid hazards. WARNING: In order to avoid overheating, do not cover the heater. The heater must not be located immediately below a socket outlet
PACKAGE CONTENTS

| PART | DESCRIPTION | QUANTITY |
| A | Infrared Heater | 1 |
| B | Remote Control | 1 |
| C | Control Panel (pre-assembled to Infrared Heater (A) | 1 |
| D | Master Power Switch (pre-assembled to Infrared Heater (All) | 1 |
| E | Easy Carry Handle [pre assembled to Infrared Heater(A) | 1 |
| F | Cell Phone Holder | 1 |
SAFETY INFORMATION
Please read and understand this entire manual before attempting to assemble, operate, or install the product.
IMPORTANT SAFETY INSTRUCTIONS
WARNING: POTENTIAL ELECTRICAL HAZARD IF NOT ADHERED TO. When using electrical appliances, basic precautions should always be followed to reduce the risk of fire, electric shock, and injury to persons, including the following:
- This heater must be plugged into a 120 V, 15 amp for more) circuit of its own. Do not plug anything else into the same circuit. If unsure if your home meets this specification, consult a certified electrician prior to use. Risk of fire, overheating, malfunction, property damage, injury, or even death may result If not adhered to!
- Connect to a properly grounded, outlet only. Do not connect the heater to extension cords, surge protectors, timers, direct breakers, or an outlet with other appliances connected to the same Risk of fire, overheating, malfunction, property damage, injury, or even death may result if not adhered to!
- This heater is hot when in use. To avoid burns, do not let bare skin touch hot surfaces. Use handles [certain models) or wheels to move this heater.
- Keep combustible materials, such as furniture, pillows, bedding, papers, clothes, and curtains at least 3 (0.9 m) from the front of the heater and keep them away from the sides and rear of the heater.
- Extreme caution is necessary when any heater is used by or near children, invalids, or pets, or when the heater is left operating unattended.
- Always unplug the heater when not in use.
- Do not operate any heater with a damaged cord or plug or after the heater malfunctions, has been dropped, or damaged in any manner. Contact the manufacturer for resolution options.
- Do not use outdoors. Exposure to outdoor elements such as rain, snow, sun, wind, or extreme temperatures may cause the heater to become a safety hazard.
- This heater is not intended for use in bathrooms, laundry areas, and similar indoor locations, nor any locations that use GM outlets.
- Never place the heater where it may fall into a bathtub or other water receptacles.
- Do not run the cord under the carpet. Do not cover the cord with throw rugs, runners, or similar coverings. Arrange the cord away from traffic areas and where it will not be tripped over.
- The heater must be plugged into a wall outlet that is a dedicated circuit with a minimum 15 amp rating on that individual circuit.
- To disconnect the heater, first, turn the power button to the OFF position and then remove the plug from the wall outlet.
- Do not allow foreign objects to enter or block any ventilation or exhaust opening as this may cause electric shock, fire, or damage to the heater.
- Allow at least 3 ft. of unobstructed space to the front and rear of the heater to allow for maximum heat, air, and ventilation flow.
- A heater has hot and arcing or sparking parts inside. Do not use it in areas where gasoline, paint, or flammable liquids are used or stored, nor use flammable solvents to clean the heater. Keep the heater dry at all times.
- Use this heater only as described in this manual. Any other use not recommended by the manufacturer may cause fire, electric shock, or injury to persons.
- Do not use abrasive solvents to clean the heater as it may cause damage to the finish or casing.
- To prevent a possible fire, do not block air intakes or exhaust in any manner. Do not use it on soft surfaces, like a bed, where the opening may become blocked.
- Always plug heaters directly into a wall outlet/receptacle. Never use an extension cord or relocatable power tap (outlet/power strip).
SAVE THESE INSTRUCTIONS
SAFETY INFORMATION
Child Lock Safety Feature
Press and hold the TEMP UP and TEMP DOWN buttons located on the control panel for 5 seconds. Locking is confirmed when a buzzer rings and the control panel displays -CU. When locked, the control panel and remote control (if provided) will not function. To unlock the control panel or remote (if provided), repeat this procedure. Unlocking is confirmed when a buzzer rings and the lock indication disappears.
Tip-Over Safety Feature
This heater is equipped with a tip-over safety feature. Once the heater is tipped over, an internal switch will automatically shut the heater off. Once the heater is restored to an upright position, the heater will reset. To continue operation, turn on the heater using the control panel or supplied remote control (if provided) on the heater.
Overheat Safety Feature
This heater is equipped with an overheat safety feature. When the internal components of the heater reach a certain temperature that could cause overheating or possible fire, the heater will automatically shut off.
WARNING: TO PREVENT ELECTRICAL SHOCK, MATCH THE WIDE BLADE OF THE PLUG TO THE WIDE SLOT OF THE RECEPTACLE AND FULLY INSERT.
WARNING: It is normal for the power cord to feel warm to the touch. However, a loose fit between the outlet and the plug may cause overheating of the plug. If this occurs, try inserting the plug into a different outlet. Contact a qualified electrician to inspect the original outlet for damage.
Specifications
| Factory No | HT1167 |
| Voltage Rating | 120 V160 Hz) |
| Power Consumption | 1,000 W/1,500 W |
| Unit Size | 8.23 in. (W) x 7.95 in. ID) x 18.45 in. (H) |
| Unit Weight | 5.25 lbs. |
FREQUENTLY ASKED QUESTIONS
Please review these frequently asked questions on the next few pages prior to using your heater.
O. My heater emits a strange odor when I first open the box and when I turn the heater on for the first time. Why Is this happening?
This is normaL This heater is treated with a special heat-safe/resistant coating. This odor will sometimes be present when the box is opened. When the coating is exposed to heat, it produces this particular odor during the first few hours of operation. This will dissipate after the break-in period. If you are sensitive to odors, you may want to pre-bum the unit in a garage with the door open until the initial odor dissipates.
O. If my heater runs on its max wattage setting, how many BTUs is that?
A. This heater is intended to be used as supplemental heat in areas most needed. It may take several minutes to several hours to heat your area, depending on various factors. The below chart provides BTU translations for different wattages.
| WATTAGE | BTUS |
| 1,500 | 5,118 |
| 1,000 | 3,412 |
| 750 | 2,559 |
| 500 | 1,706 |
O.Can the heating elements be replaced?
A. Replacement heating elements can be obtained from the manufacturer. AU parts may be purchased through the manufacturer if your product is out of warranty. If you feel that the elements are definitely faulty right out of the box, contact Customer Support. A representative can then direct you to the next step.
O.Once I plug the unit in and turn it on, how long will it take to heat my room?
A. The heating process in the heater begins immediately upon powering on and setting the desired temperature above the ambient temperature. A noticeable change in the ambient temperature of the room will vary due to variables such as the location of the heater (in the home), floor plan and size of the room, how well the room is insulated, how many doors/windows, how much bare concrete (acts as a heat sink with any type of heating), the opening and closing of an exterior door, long hallways, high ceilings, etc. Customers with smaller rooms experience quick heat changes. Rooms with larger and open floor plans can expect up to 24 hours to completely heat up.
O.I does not have a grounded outlet. Can I use adapters, a 2-prong power strip, or remove the ground prong from the cord?
A. NW If you do not have a grounded outlet, contact a certified electrician for advice. Removing or altering any part of the heater’s original design or intent [including the power cord) will void the warranty and make you liable for any unexpected or hazardous results.
O.Does my Heater have an ECO setting? How does this setting work?
A. The ECO mode on your heater is a program that attempts to keep the temperature strictly at a “warm” 68° F 120°C). This also helps with efficiency, as it is programmed to 11 Increase the power to the unit maximum wattage if the temperature drops below 64.4°F (18°C) 21 Gradually reduce the wattage used as it approaches 66.2° 119°C1 F and 3) Stop heating when 68° F120°C1 is achieved. This is considered an Economical function, since, in the ECO setting, the heater is almost never running at the maximum watts.
PREPARATION
Place the heater on a firm, level surface and plug it into a grounded 120 V, 60 Hz power outlet, and turn on the power switch on the rear of the unit Only operate the heater in an upright position.
Insert two MA batteries into the remote control before using (batteries not included). “(Not all products will include a remote control.)
Please note that infrared heaters do not heat like a traditional space heater. You should not expect infrared heaters to blow hot air like a traditional space heater. Infrared heaters heat objects not air. Infrared heaters are intended to supplement an already heated, insulated room. Square footage specifications assume a single enclosed room, not an entire home. Infrared heaters do not heat through walls, or floors, and are not intended to replace the main heat source. Infrared heat can take at least 24 hours to warm a room but operate much more efficiently to maintain the desired temperature. Infrared heaters will not work well in uninsulated unheated spaces like screened-in porches, RVs, garages, and unheated basements. etc.
TROUBLESHOOTING
| PROBLEM | POSSIBLE CAUSE | CORRECTIVE ACTION | ||
| The heater does not turn on | 1. | The power cord is not plugged in. The electricity at the main fuse | 1. | Plug the power cord into an electrical outlet. |
| 2. | the box is not working. | 2. | Check the electricity at the main fuse box. | |
| 3. | The battery in the remote control is dead. | 3. | Replace the batteries in the remote control | |
| 4. | The thermostat on the heater is set lower than the room temperature. | 4. | Increase the thermostat temperature on the heater for a higher heat setting. | |
| 5. | The power switch in the back of the unit is not in the ON position. | 5. | Switch the power switch to the ON position. | |
| The heater displays an error code “Er | 1. | The heater has overheated. | 1. | Unplug the heater from the wall. wait a few seconds then plug the power cord back in. |
| 2. | Insufficient power to the unit | 2. | Make sure the unit is plugged into a dedicated 3-prong outlet, with no extension cords or surge protectors. | |
| 3. | The air filter is clogged. | 3. | Clean the air filter located on the back of the unit. see page 13. | |
| 4. | Insufficient airflow to the heater. | 4. | Move the unit at least 3ft from the wall. | |
| The heater displays an error code “Er | 1. | The temperature sensor not functioning properly. | 1. | Please contact technical support. |
CONTROL PANEL

PART | NAME | DESCRIPTION |
| 1 | High, Low, Eco Heat Indicator Lights | Indicates when the heater is in High, Low, or ECO heat mode |
| 2 | Digital Display | Readout of the set room temperature or timer value |
| 3 | Fan Indicator Light | Indicates when the fan is on |
| 4 | USB Charging Port | Charges any compatible USB device. Output Rating: 2.1A |
| 5 | Fahrenheit / Celsius Indicator Light | Indicates that the temperature is being displayed in Fahrenheit or Celsius |
| 6 | Timer Indicator Light | Indicates when the timer function is active |
| 7 | Power Indicator Light | Indicates when the unit is receiving power from the wall outlet |
| 8 | Timer Button | Powers off the unit after a selected time |
| 9 | Temp-Down Button | Decreases the set temperature |
| 10 | Power Switch Button | Powers the heater ON or OFF |
| 11 | Temp-Up Button | Increases the set temperature |
| 12 | Heater Mode Button | Cycles between High / Low / Eco Heat Modes |
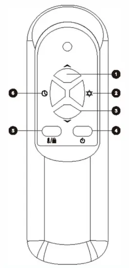
REMOTE CONTROL

PART | NAME | DESCRIPTION |
| 1 | Temp Up Button | Increases the set temperature value |
| 2 | Heater Mode Button | Toggles between Hi / Low/ Eco Modes |
| 3 | Temp Down Button | Decreases the set temperature value |
| 4 | Power Button | Powers the heater on or off |
| 5 | Ambient/Lock Button | Shows ambient temp/hold to engage or disengage safety lock function |
| 6 | Timer Button | Engages the on/off timer |
OPERATING INSTRUCTIONS
- Turn the heater on or off by pressing the Power button on the control panel ICI or by pressing the Power button on the remote control (B).
Once the power is off, heating elements will stop working first. The fan will continue working for up to 90 seconds to dispense residual heat inside the heater. This is a normal function.
- Select a heat setting by pressing the HEAT button on either the control panel IC) or the remote control to toggle between the three heat settings.
Power for heat-up mode is 1,500 W; heat-down is 1,000 W. ECO mode is an Economic Energy Saving Function. When ECO mode is chosen, the heater will operate to maintain a constant warm 68°F
Note: The ECO LED light will only illuminate when the ECO function is active and the ambient room temperature falls below 621°F / 20°C.
- Set the temperature by pressing the arrows on the control panel ICI or the remote control
You can set the temperature on the heater anywhere between 50°F and 90°F or between 10°C and 32°C. Once you have chosen the desired temperature, the heater will remain on until the room temperature increases to the temperature on the digital display. The heater will cycle on and off to maintain the desired room temperature.
To view the ambient temperature press and hold the timer button for 5 seconds on the control panel ICI or short press on the remote control (8)
Note: To switch between Fahrenheit and Celsius, press and hold the TEMP UP button on the control panel IC) for 5 seconds.
Note: To engage the child lock on the control panel (C), press and hold the temp UP and temp DOWN buttons for 5 seconds. Deactivate the lock by repeating these steps.
- To set the timer power off, start the unit and press the Timer button on the control panel (C) or remote control (B).
Note: The timer-power-off function can only be set when the heater is in power-on mode. The digital display on the control panel (C) changes from the set temperature readout to a time value for the timer. Press the Timer button repeatedly to change the number value between a range of 0 to 12 hours in 1-hour intervals).
The Timer light turns on when the timer is set.
- To set the timer power on, while powering off the unit press the Timer button on the control panel (C)
Note: The timer-power-on function can only be set when the heater is in power-off mode. The digital display on the control panel (C) will indicate the time value for the timer. Press the Timer button repeatedly to change the number value between a range of 0 to 12 hours (in 1-hour intervals). The Timer light turns on when the timer is set.
- To replace the batteries, remove the battery cover (1) from the remote IBI by applying pressure to the battery cover (1) and sliding it away from the remote (B). Insert two AAA batteries (not included) (2) and close the remote by placing the battery cover (1) back on the remote (B).
Note: Do not mix old and new batteries. Do not mix alkaline, standard (carbon-zinc), or rechargeable (NiCad, name, etc) batteries.
CARE AND MAINTENANCE
WARNING: Before performing any maintenance task, turn off the power switch In the rear of the unit, unplug the unit, and allow it to coot completely.
- To keep the heater clean, clean the outer shell with a soft, damp cloth. Use a mild detergent if After cleaning. dry the unit with a soft cloth.
CAUTION: DO NOT let the liquid enter the heater. - DO NOT use alcohol, gasoline, abrasive powders, or furniture polish. or rough brushes to clean the This may cause damage or deterioration to the surface of the heater.
- DO NOT immerse the heater in water.
- Wait until the unit is completely dry before use.
- If you will not be using the heater for a while, take the batteries out of the remote control and store them for future use.
- Store the heater in a cool, dry location when not in use. To prevent dust and dirt build-up, use the original packaging to repack the unit.
ONE-YEAR LIMITED WARRANTY
The manufacturer warrants this heater against defects in materials and workmanship on functional parts, for a period of 1 year from the original date of purchase. Your sales receipt showing the date of purchase of the product is your proof of purchase. Keep it In a safe place for future reference. This warranty is subject to personal use only, commercial or rental applications will not be covered.
This product is made with the highest quality materials and is warranted to be free from defects in materials and workmanship at the time of purchase. This limited warranty applies to products manufactured or distributed by the manufacturer, are delivered in the continental United States or Canada, and extends to the original purchaser, or gift recipient This warranty becomes valid at the time of purchase and terminates either by the specified time frame listed above and/or owner transfer. Any refunds or monetary compensations must be claimed through the place of purchase (retailer), and not through the manufacturer. Any extended warranties (warranties that cover above and beyond this manufacturer warranty) that are sold through a retailer or third party, are not directly correlated with this product’s limited warranty and may be redirected to said retailer or third party for coverage.
This warranty extends through the manufacturer of the product and covers functional parts only. Cosmetics are not covered unless unequivocally determined it is a workmanship defect. Shipping damage should be addressed with the shipping company, retailer, or place of purchase, not the manufacturer unless the manufacturer was the direct shipper.
The manufacturer’s sole obligation under this warranty shall be limited to furnishing the original purchaser replacement parts for units deemed repairable by the supplier’s warranty department. The purchaser is responsible for insuring any parts are shipped or returned if desired. The purchaser is responsible to prepay any shipping charges (both ways) including, but not limited to taxes and duties. All exchanged parts and products replaced under this warranty will become the property of the manufacturer. The manufacturer reserves the right to change manufacturers of replacement parts or products for use, in order to cover any existing warranty.
The purchaser may be asked to provide the supplier with proof of purchase documents (including the date of purchase) if requested. Any evidence of alteration, erasing, or forgery of proof of purchase documents will be just caused to VOID this limited warranty. Products, in which the serial number has been defaced or removed are not eligible for warranty coverage.
This warranty does not apply if the unit has been subject to negligence, fabrication, misuse, abuse, or repairs, alteration by non-manufacturer authorized personnel, inappropriate installations, or any cause beyond the control of the manufacturer. Examples of warranty invalidation may also include, but are not limited to:
- Use of lacquer or paints inland around) the heaters
- Heater placed on non-approved surfaces
- Electrical requirement deficiencies 115-20 amp dedicated outlet)
- Use on extension cords/timers/surge protectors/GFCI
- Outdoor applications
- Normal wear/tear/weathering
- Pet/consumer accidents
The manufacturer shall not be liable for any loss due to use (or misuse) of the heater or other incidental or consequential costs, expenses,s or damages without irrefutable foundations. Under no circumstances shall the manufacturer or any of its representatives be held liable for injury to any person or damage to any property, however arising. Any implied warranty shall have a duration equal to the applicable warranty stated above. Specifications are subject to change without notice or obligation.
This limited warranty gives the original purchaser specific legal rights. Other rights may vary from state to state.
REPLACEMENT PARTS LIST
For replacement parts. cal our technical support department at 657-341-0362. 8 a.m. – 5 p.m., CST, Monday – Friday
| PART | DESCRIPTION | PART# |
| A | Control Board | 04.01.3.001 |
| B | Fan | 04.04.1.001 |
| C | Power Board | 04.01.1.001 |
| D | Manual Reset Limit Sensor | 04.04.1.009 |
| E | Limit Switch | 04.04.1.004 |
| F | Master Power Switch | 04.04.1.003 |
| G | Quartz Heating Element | 04.04.1.018 |
| H | Temperature Sensor | 04.03.1.001 |
| I | Remote Control | 04.01.2.001 |

Printed warranty in the manual is not valid in Mexico
Importer: SERVICES HOME DEPOT. S. DE R.L DE C.V.
Ricardo Marga in 605,Sant a Engracia, San Pedro Garza Garcia. Nuevo Leon. Mexico. C.P. 66267 Tel 01800004 6633


























