JORDAN JF-ASS Helix Adjustable Squat Stand
Product Information: JORDAN Helix Adjustable Squat Stand (JF-ASS)
The JORDAN Helix Adjustable Squat Stand is a sturdy and durable piece of fitness equipment that allows users to perform a variety of exercises, including squats, lunges, and bench presses. The stand is adjustable, making it suitable for users of different heights and abilities. The stand is made from high-quality materials and is designed to withstand heavy use in commercial gym settings.
Product Usage Instructions
- Ensure that the assembly of the product is only undertaken by an individual who has the necessary skills and experience.
- Make sure you have all the required tools: 1 x Socket Wrench (17mm) and 1 x Spanner (17mm).
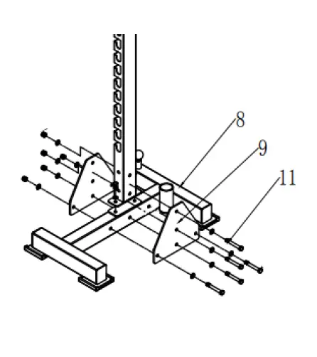
- Start by attaching the Upright (1) to the Base (8) using M10x90 nut, washer, and bolt x2 per upright (11). Assemble Upright (2) to Base (7) in the same way.
- Attach Side Plates (9) to the sides of the Base using M10x90 bolt, washer, and nuts x 5 per upright (11). Attach Side Plates to Upright (2) and Base (7) in the same way.
- Insert Adjuster Bar (10) into Base (7) using the Adjuster Pin to select the required setting. Use adjuster pin on Base (8) to secure to Adjuster Bar at the required setting.
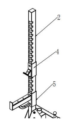
- Slide Bar Holder (3) and Safety Squat Arm (6) at the desired setting on Upright (1).
- Slide Bar Holder (4) and Safety Squat Arm (5) at the desired setting on Upright (2).
- Perform a safety and maintenance check on the equipment regularly to keep it in good working condition.
For more information on safety and maintenance checks, contact Jordan Fitness at +44 (0) 1553 763 285 or [email protected]. Annual maintenance services are also available.
WARNING
Assembly of product should only be undertaken by an individual who has:
- Read and understood this manual
- Is familiar with assembling similar equipment
TOOLS REQUIRED
- 1 x Socket Wrench (17mm)
- 1 x Spanner (17mm)

PARTS INCLUDED
INATALLATION INSTRUCTION
- STEP 1
Attach Upright (1) to base (8) using M10x90 nut, washer, and bolt x2 per upright (11) Assemble upright (2) to base (7) in the same way
- STEP 2
Attach side plates (9) to sides of base using M10x90 bolt, washer, and nuts x 5 per upright (11) Attach side plates to upright (2) and base (7) in the same way.
- STEP 3
Insert Adjuster Bar (10) into base (7) using the Adjuster Pin to select required setting. Use adjuster pin on base (8) to secure to Adjuster Bar at required setting.
- STEP 4
Slide Bar holder (3) and Safety Squat Arm (6) at desired setting on Upright (1)
- STEP 5
Slide Bar Holder (4) and Safety Squat Arm (5) at desired setting on Upright (2)
Safety & Maintenance Checks
Our service starts from as little as £199.
At Jordan we believe in Quality and strive to supply only premium products that we know will last…. but even the best products need a little care and attention. To keep your kit in tip top shape we offer annual maintenance services on all your Jordan Equipment.
Once our checks are completed, you will receive a detailed report of all works undertaken and peace of mind that your kit is safe, functioning and the best it can be for your clients.
56 Oldmedow Road, Hardwick Ind. Est.
King’s Lynn, Norfolk, PE30 4JJ
United Kingdom
+44 (0) 1553 763 285
[email protected]
www.jordanfitness.com
References
Jordan Fitness | Commercial Gym Equipment Supplier & Functional Fitness Specialist | Commercial Gym Equipment Suppliers | Functional Fitness Specialists
Jordan Fitness | Commercial Gym Equipment Supplier & Functional Fitness Specialist | Commercial Gym Equipment Suppliers | Functional Fitness Specialists
Jordan Fitness | Commercial Gym Equipment Supplier & Functional Fitness Specialist | Commercial Gym Equipment Suppliers | Functional Fitness Specialists

























