INDESIT 617D2BDD Washer Dryer

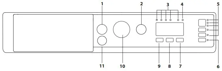
CONTROL PANEL
- ON/OFF button
- START/PAUSE button with indicator light
- WASH CYCLE PROGRESS indicator lights
- DOOR LOCKED indicator light
- FUNCTION buttons with indicator lights
- DRYING ONLY button with indicator light
- DRYING LEVELS button
- TIME DRYING button
- TEMPERATURE button
- WASH CYCLE knob
- PUSH & GO button
WASH CYCLE TABLE
This data may differ in your home due to changing conditions in inlet water temperature, water pressure etc. Approximate programme duration values refer to the default setting of the programmes, without options. The values given for programmes other than the Eco 40-60 programme are indicative only.
For all Test Institutes
- Eco 40-60 (Wash)- Test wash cycle in compliance with EU Ecodesign regulation 2019/2014. The most efficient programme in terms of energy and water consumption for washing normally soiled cotton laundry.
- Eco 40-60 (Wash&Drying)- Test the wash&drying cycle in compliance with EU Ecodesign regulation 2019/2014. To access the “wash and dry” cycle select the “Eco 40-60” wash programme and set the “Drying” option level to “ ”. The most efficient programme in terms of energy and water consumption for washing and drying is normally soiled cotton laundry. At the end of cycle, the garments can be immediately stored in the cupboard.
PRODUCT DESCRIPTION
- Top
- Detergent dispenser drawer
- Control panel
- Handle
- Porthole door
- Drain pump
- Adjustable feet (4)
- Long cotton programme: set the “2“ programme with a temperature of 40°C.
- The synthetic program along: set the “3“ programme with a temperature of 40°C.
After the programme end and spinning with maximum selectable spin speed, in default programme setting. Note: for the Eco 40-60 program in the WASH CYCLE TABLE the value of the maximum effective spin is shown.
DETERGENT DISPENSER DRAWER
- Compartment 1:
Do not insert detergent in this compartment. - Compartment 2: Washing detergent (powder or liquid)
- Compartment 3: Additives (fabric softener, etc.) The fabric softener must never exceed the “max” level indicated on the central pin.
- Use powder detergent for white cotton garments, for pre-washing, and for washing at temperatures over 60°C.
- Follow the instructions given on the detergent packaging.

WASH CYCLES
Follow the instructions on the symbols of the garment’s wash care label. The value indicated in the symbol is the maximum recommended temperature for washing the garment.
Mixed
For washing lightly to normally soiled resilient garments in cotton, linen, synthetic fibres and mixed fibres.
Cotton
Suitable for washing towels, underwear, table cloths, etc. made of resistant linen and cotton that are moderately to heavily soiled.
Synthetics
Suitable for washing moderately soiled garments made of synthetic fibres (e.g. polyester, polyacrylic, viscose, etc.) or mixed synthetic-cotton fibres.
White
For heavily soiled whites and resistant colours.
Colours
A 30°C cycle that helps to preserve colours, suitable for cotton or synthetic coloured garments. It allows for reducing electricity consumption for heating the water while guaranteeing good washing results. Suitable for lightly soiled garments.
Eco 40-60
For washing normally soiled cotton garments declared to be washable at 40 °C or 60 °C, together in the same cycle. This is the standard cotton programme and the most efficient in terms of water and energy consumption.
Sport
A cycle designed for washing lightly soiled sports clothing (tracksuits, shorts, etc.); for best results, we recommend not exceeding the maximum load indicated in the “Wash Cycle Table”. We recommend using liquid detergent and adding the amount suitable for a half-load.
20 °C
For washing lightly soiled cotton garments, at a temperature of 20 °C. Anti Odour use programme for washing garments with bad odours (e.g. smoke, sweat, fried food). The programme is designed to remove bad odours while preserving the fabric fibres. Synthetics fabrics or mixed loads should be washed at 40°, and resistant cotton fabrics at 60°.
Delicates
use programme to wash very delicate garments. It is advisable to turn the garments inside out before washing them. For best results, use liquid detergent on delicate garments.
When selecting an exclusively time-based drying function, a drying cycle is performed at the end of the wash cycle that is particularly delicate, thanks to light handling and appropriate temperature control of the water jet. The recommended durations are:
- 1 kg of synthetic garments –> 150 min
- 1 kg of synthetic and cotton garments –> 180 min
- 1 kg of cotton garments –> 180 min
- The degree of dryness depends on the load and fabric composition.
Wool – Woolmark Apparel Care – Blue:
The “Wool” wash cycle is approved by the Woolmark Company for washing wool garments classified as “hand-washable”, provided that the wash complies with the instructions appearing on the garment’s label and with those provided by the manufacturer of this washer- dryer (M1126).
Rapid 30’
For washing lightly soiled garments in a short time. Not suitable for wool, silk and garments to be washed by hand.
Wash&Dry 45 min
select programme for washing and drying lightly soiled garments (Cotton and Synthetic) in a short time. This cycle may be used to wash and dry a laundry load of up to 1 kg in just 45 minutes. To achieve optimum results, use liquid detergent and pre-treat cuffs, collars and stains.
AirFresh
ideal cycle to refresh garments and remove bad odours, in particular smoke, from cotton and synthetic items in 30’ (max 1.5kg) without the washing phase.
Rinse + Spin
Designed for rinsing and spinning.
Spin + Drain
Designed to spin and drain the water.
WASH CYCLE PHASE INDICATOR LIGHTS
Once the desired wash cycle has been selected and has begun, the indicator lights switch on one-by-one to indicate which phase of the cycle is currently in progress.
- Wash
- Rinse
- Spin/Drain
- Drying
- END End of Wash Cycle
DOOR LOCKED INDICATOR
When lit, the symbol indicates that the door is locked. To prevent any damage, wait until the symbol turns off before opening the door. To open the door while a cycle is in progress, press the START/PAUSE button; if the indicator light is off, the door can be opened.
FIRST-TIME USE
Once the appliance has been installed, and before it is used for the first time, run a wash cycle with detergent and no laundry, by setting the “Auto-Clean” cycle.
DAILY USE
Prepare the laundry by following the suggestions appearing under the “TIPS AND SUGGESTIONS” section.
Rapid programming
- Turn the washer-dryer on by pressing the ON/OFF button. All the indicator lights will light up for a few seconds, then only the lights corresponding to the settings for the selected wash cycle will remain lit; the START/PAUSE indicator light will also flash.
- Open the door. Load the laundry while making sure not to exceed the maximum load quantity indicated in the cycle table.
- Pull out the detergent dispenser drawer and pour the detergent into the relevant compartments as described in “DETERGENT DISPENSER DRAWER section”.
- Close the door.
- Press the PUSH & GO button to start the wash cycle.
Traditional programming
- Turn the washer-dryer on by pressing the ON/OFF button. All the indicator lights will light up for a few seconds, then only the lights corresponding to the settings for the selected wash cycle will remain lit; the START/PAUSE indicator light will also flash.
- Open the door. Load the laundry while making sure not to exceed the maximum load quantity indicated in the Wash Cycle Table.
- Pull out the detergent dispenser drawer and pour the detergent into the relevant compartments as described in “DETERGENT DISPENSER DRAWER” section.
- Close the door.
- Set the WASH CYCLE knob to the desired cycle.
- Modify the temperature: pressing the button allows for gradually reducing the temperature down to the cold wash level ( ).
- Select the desired wash cycle.
- Select the desired options.
- Press the START/PAUSE button to start the wash cycle; the relative indicator light will light up steady green and the door will lock ( indicator light on).
PAUSING A CYCLE
To pause the wash cycle, press the START/PAUSE button again; the indicator light will flash . If the indicator light is not lit, the door may be opened. To start the wash cycle from the point at which it was interrupted, press the START/PAUSE button again.
OPENING THE DOOR, IF NECESSARY
Once a cycle starts, the indicator light turns on to signal that the door cannot be opened. While a wash cycle is running, the door remains locked. To open the door while a cycle is under way, for example, to add or remove garments, press the START/PAUSE button to pause the cycle; the indicator light will flash . If the indicator light is not lit, the door may be opened. Press the START/PAUSE button again to continue the cycle.
CHANGING A RUNNING WASH CYCLE
To change a wash cycle while it is in progress, pause the washer-dryer using the START/PAUSE button (the relative indicator light will flash ), then select the desired cycle and press the START/PAUSE button again. To cancel a cycle that has already begun, press and hold the ON/OFF button. The cycle will be stopped and the machine will switch off.
END OF THE CYCLE
Once the cycle terminates the END indicator light will light up; when the indicator light switches off, the door may be opened. Open the door, unload the laundry and switch off the machine.If you do not press “ON/OFF” button, the washer-dryer will switch off automatically after about a 10 minutes. Close the water tap, open the door and unload the washer-dryer. Leave the door ajar to allow the drum to dry.
FUNCTIONS
- If the selected option is not compatible with the set wash cycle, the indicator light will flash and the option will not be activated.
- If the selected option is not compatible with another previously selected option, the indicator light will flash accompanied by a buzzer, and only the latter option will be activated; the indicator light corresponding to the activated option will turn on.
Stain removal
This option allows for selecting the type of dirt so as to optimally adjust the cycle for removing the stains. The following types of dirt can be selected:
- Food: for stains caused by foodstuffs and beverages, for example.
- Work: for grease and ink stains, for example.
- Outdoor: for mud and grass stains, for example.
The wash cycle duration varies according to the type of selected dirt. Slow Spin - By selecting this function, reduces the spin speed. Extra rinse
- By selecting this option, the efficiency of the rinse is increased and optimal detergent removal is guaranteed. It is particularly useful for sensitive skin.
- Temperature Each wash cycle has a pre-defined temperature. To modify the temperature, press the button.
- Drying Drying may be set as follows: – Based on the desired laundry dryness level:
- Iron “”: suitable for clothes which will need ironing afterwards. the remaining dampness softens creases, making them easier to remove.
Hanger:
ideal for clothes which do not need to be dried fully. Cupboard “ ”: suitable for laundry which can be put back in a cupboard without being ironed. Based on a set time period: between 40 and 180 minutes. If your laundry load to be washed and dried is much greater than the maximum stated load, perform the wash cycle, and when the cycle is complete, divide the garments into groups and put some of them back in the drum. At this point, follow the instructions provided for a “Drying only” cycle. Repeat this procedure for the remainder of the load. A cooling-down period is always added to the end of each drying cycle.
Drying only
Press button to perform the drying-only cycle. After selecting the desired cycle (compatible with the type of garments), press button to exclude the washing phase and start the drying phase at the maximum level for the selected cycle.
Push & Go
To start the Push & Go cycle press and hold the button for 2 seconds. The indicator lights up to show that the cycle has started. The wash and drying cycle is ideal for cotton or synthetic fabrics, as it washes them at a temperature of 30° and a maximum spin speed of 1000 rpm. During the drying cycle the maximum temperature is 60°C. At the end of the cycle the residual humidity will be the same as for the “ ” level. Max recommended load 3,5 kg. (Cycle duration 210’).
How does it work?
- Load the laundry (cotton and/or synthetic garments) and close the door.
- Pour the detergent and/or additives.
- Start the cycle by pressing and holding the Push & Go button for 2 seconds. The relevant indicator light will turn green and the door will lock (the DOOR LOCKED symbol is lit).
NB: starting the cycle through the Push & Go button activates an automatic non-customisable wash and drying cycle recommended for cotton and synthetic fabrics. - The automatic cycle can be used only for washing, excluding the drying phase. Press the Push & Go button and then the drying button : the drying icon of the “ ” level will switch off. Maximum load for washing-only is 4 kg (Cycle duration 45’). The cycle cannot be customised further. To open the door while an automatic cycle is under way, press the START/PAUSE button. If the DOOR LOCKED symbol is off, the door may be opened only during the washing phase. Press the START/PAUSE button again to restart the wash cycle from the point at which it was interrupted.
- Once the programme is finished, the END indicator light turns on.
TIPS AND SUGGESTIONS
Divide the laundry according to:
Type of fabric (cotton, mixed fibres, synthetics, wool, garments to be hand-washed). Colour (separate coloured garments from whites, wash new coloured garments separately). Delicates (small garments such as nylon stockings – and items with hooks – such as bras: insert them in a fabric bag).
Empty the pockets:
Objects such as coins or lighters can damage the washer-dryer and the drum. Check all buttons.
Follow the dosage recommendation/additives
It optimizes the cleaning result, it avoids irritating residues of surplus detergent in your laundry and it saves money by avoiding waste of surplus detergent
Use low temperature and longer duration
The most efficient programmes in terms of energy consumption are generally those that perform at lower temperatures and longer duration.
Observe the load sizes
Load your washer-dryer up to the capacity indicated in the “PROGRAMME CHART” table to save water and energy.
Noise and remaining moisture content
They are influenced by the spinning speed: the higher the spinning speed in the spinning phase, the higher the noise and the lower the remaining moisture content.
CARE AND MAINTENANCE
Before performing cleaning and maintenance, switch the washer-dryer off and disconnect it from the mains power. Do not use flammable liquids to clean the washer-dryer. Clean and maintain your washer-dryer periodically (at least 4 times per year).
Disconnect the water and power supplies
Close the water tap after every wash. This will limit wear on the hydraulic system inside the washer-dryer and help to prevent leaks. Unplug the washer-dryer when cleaning it and during all maintenance work.
Clean the washer-dryer
The outer parts and rubber components of the appliance can be cleaned using a soft cloth soaked in lukewarm soapy water. Do not use solvents or abrasives. The washer-dryer has a “Auto-clean” cycle for its internal parts; it must be run without any load in the drum. To optimise this cycle, it is possible to use either detergent (10% of the quantity specified for lightly soiled garments) or special additives to clean the washer-dryer. We recommend running a cleaning cycle every 40 wash cycles. To start the cycle press buttons and simultaneously for 5 seconds. The cycle will start automatically and will run for about 70 minutes. To stop the cycle, press the START/PAUSE button.
Clean the detergent dispenser drawer
Wash it under running water; this operation should be repeated frequently.
Care for the door and drum
Always leave the porthole door ajar in order to prevent unpleasant odours from forming.
Clean the pump
The washer-dryer is fitted with an auto-cleaning pump that does not require any maintenance. Small items (such as coins or buttons) may sometimes fall into the protective pre-chamber situated at the base of the pump. Make sure the wash cycle has ended and unplug the appliance. To access the pre-chamber:
- loosen the drainage pump cover by turning it anti-clockwise: it is normal for some water to leak out;
- clean the inside thoroughly;
- screw the cover back on;
- Check the water inlet hose Check the water inlet hose at least once a year. If it is cracked or broken, it must be replaced: during wash cycles, the high pressure of the water could suddenly split the hose open.
Never use hoses that have already been used.
LOAD BALANCING SYSTEM
Before every spin cycle, to avoid excessive vibrations before every spin and to distribute the load in a uniform manner, the drum rotates continuously at a speed which is slightly greater than the washing rotation speed. If, after several attempts, the load is not balanced correctly, the machine spins at a reduced spin speed. If the load is excessively unbalanced, the washer-dryer performs the distribution process instead of spinning. To encourage improved load distribution and balance, we recommend small and large garments are mixed in the load.
TRANSPORT AND HANDLING
Do not lift the washer-dryer by gripping it from the upper section. Unplug the appliance and close the water tap. Check that the door and detergent dispenser drawer are tightly closed. Detach the filling hose from the water tap then detach the drain hose. Empty all the water remaining in the hoses and secure the latter so that they do not get damaged during transport. Apply the transport bolts back on. Repeat, in reverse order, the transport bolt removal procedure described in the “Health & Safety and Installation Guides”.
TROUBLESHOOTING
| Anomalies | Possible causes / Solution |
| The washer-dryer does not start. | The appliance is not plugged into the socket, or not sufficiently to make contact. |
| There is no power in the house. | |
|
The wash cycle does not start. | The washer-dryer door is not closed properly. |
| The ON/OFF button has not been pressed. | |
| The START/PAUSE button has not been pressed. | |
| The water tap has not been opened. | |
| A delay has been set for the start time. | |
|
The machine does not fill with water or the indicator light for the first wash cycle stage flashes rapidly. | The water inlet hose is not connected to the tap. |
| The hose is bent. | |
| The water tap has not been opened. | |
| There is no water supply in the house. | |
| The pressure is too low. | |
| The START/PAUSE button has not been pressed. | |
|
The washer-dryer continuously loads and unloads water. | The drain hose is not fitted between 65 and 100 cm from the floor. |
| The free end of the hose is immersed in water. | |
| The wall drainage system does not have a breather pipe.
If the problem persists even after these checks, turn off the water tap, switch the appliance off and contact the Technical Assistance Service. If the home is on one of the upper floors of a building, there may be problems relating to back-siphonage, causing the washer-dryer to fill with water and drain continuously. Special anti-siphon valves are available in shops and help to prevent this inconvenience. | |
| The washer-dryer does not drain or spin. | The cycle does not include drainage: with certain cycles it must be started manually. |
| The drain hose is bent. | |
| The drainage duct is clogged. | |
| The washer-dryer vibrates a lot during the spin cycle. | The drum was not unlocked correctly during installation. |
| The washer-dryer is not level. | |
| The washer-dryer is tucked between furniture cabinets and the wall. | |
| The washer-dryer leaks. | The water inlet hose is not screwed on properly. |
| The detergent dispenser drawer is obstructed. | |
| The drain hose is not properly attached. | |
| The “Options” lights and the START/PAUSE indicator light flash while one of the wash cycle progress and DOOR LOCKED lights are lit in a fixed manner. | Switch off the machine and unplug it, wait for approximately 1 minute and then switch it back on again. If the problem persists, contact the Technical Assistance Service . |
| There is too much foam. | The detergent is not suitable for machine washing (it should be marked with “for washer-dryer use” or “hand wash and machine wash” or similar). |
| Too much detergent was used. | |
| The Push & Go function does not activate. | After switching on the machine, a control other than Push & Go was activated. Switch the machine off and press the Push & Go button. |
| The washer-dryer does not dry. | The appliance is not plugged into the socket, or not enough to make contact. |
| There has been a power failure. | |
| The appliance door is not shut properly. | |
| All the drying indicator lights are off. |
You can download the Safety Instructions, Product Fiche and Energy data by:
- Visiting our website – http://docs.indesit.eu
- Using QR Code
- Alternatively, contact our technical Assistance Service (See phone number in the warranty booklet). When contacting our After-sales Service, please state the codes provided on your product’s identification plate.
For User’s Repair & Maintenance Information visit www.indesit.com The model information can be retrieved using the QR-Code reported in the energy label. The label also includes the model identifier that can be used to consult the portal of the registry at https://eprel.ec.europa.eu























