WIDXL102 Washer Dryer
Instruction Manual
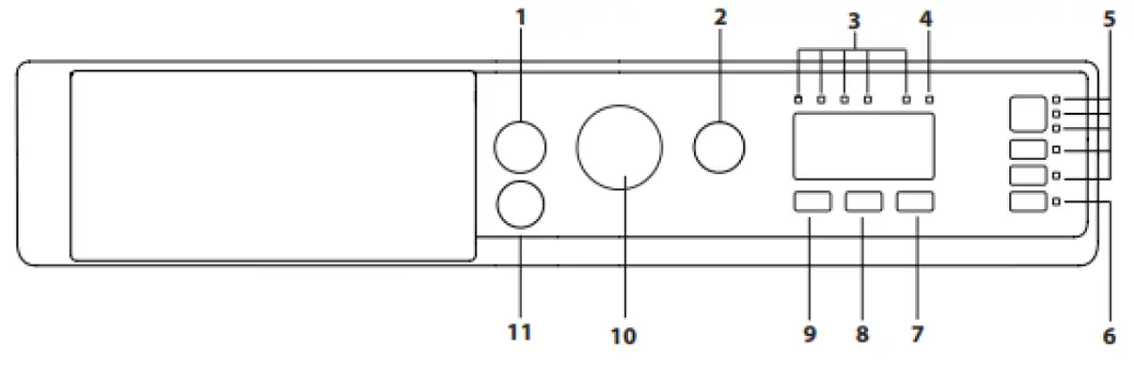
CONTROL PANEL

- ON/OFF button
- START/PAUSE button with indicator light
- WASH CYCLE PROGRESS indicator lights
- DOOR LOCKED indicator light
- FUNCTION buttons with indicator lights
- DRYING ONLY button with indicator light
- DRYING LEVELS button
- TIME DRYING button
- TEMPERATURE button
- WASH CYCLE knob
- PLISH & GO button
Rapid programming
- Open the door. Load the laundry while making sure not to exceed the maximum load quantity indicated in the cycle table.
- Pull out the detergent dispenser drawer and pour the detergent into the relevant compartments as described in “DETERGENT DISPENSER DRAWER section”.
- Close the door.
- Press the PUSH & GO button to start the wash cycle. Traditional programming
- Turn the washing machine on by pressing the ON/OFF button. All the indicator lights will light up for a few seconds, then only the lights corresponding to the settings for the selected wash cycle will remain lit; the START/PAUSE indicator light will also flash.
- Open the door. Load the laundry while making sure not to exceed the maximum load quantity indicated in the Wash Cycle Table.
- Pull out the detergent dispenser drawer and pour the detergent into the relevant compartments as described in “DETERGENT DISPENSER DRAWER” section.
- Close the door.
- Set the WASH CYCLE knob to the desired cycle.
- Modify the temperature: pressing the 40° 60° button allows for gradually reducing the temperature down to the cold wash level ( ).
- Select the desired wash cycle.
- Select the desired options.
- Press the START/PAUSE button to start the wash cycle; the relative indicator light will light up steady green and the door will lock ( indicator light on).
Table of wash cycles

Setting the temperature
Turn the temperature knob to set the wash temperature. The temperature can be lowered, or even set to a cold wash.
Set the drying cycle
Turn the drying knob to set the desired drying type. Two options are available:
A: Based on time from 40 minutes to 150
B: Based on the damp level of the dry clothes
Iron: Slightly damp clothes, easy to iron.
Hanger: Dry clothes to put away,
Upboard: Very dry clothes recommended for to welling and bathrobes.
A cooling stage is foreseen at the end of the drying cycle.
Table of drying times

Dry only
Turn the programme knob to one of the drying settings (7-8) depending on the type of fabric, then select the desired drying type using the drying knob.
Functions
To enable a function:
- Press the button corresponding to the desired function, according to the table below
- The function is enabled when the corresponding button is illuminated.
(The rapid flashing of the button indicates that the corresponding function cannot be selected for the programme set).


















