DLR4 Frame System
INSTALLATION INSTRUCTIONS
MODEL: DLR4-FRAME with DLR45 or later series
DLR-FRAME New Construction Frames for DLR Trims
THIS PRODUCT MUST BE INSTALLED IN ACCORDANCE WITH THE APPLICABLE INSTALLATION CODE BY A PERSON FAMILIAR WITH THE CONSTRUCTION AND OPERATION OF THE PRODUCT AND THE HAZARDS INVOLVED
ATTENTION:
Turn power off before inspection, installation, or removal.
Use only on 120VAC, 60Hz circuits.
NOTE: For use with NICOR DLR45 or later retrofit downlight ONLY
What’s In The Box
Tools Needed
The DLR4 Recessed Frame requires very few tools for installation. A drill or screwdriver, a pair of wire cutters, and a hammer will help with installation.
Installing the DLR4-5-Frame
Make sure all power is turned off before beginning installation
- Carefully unpack the frame from its packaging. Inspect product for defects due to shipping.
- If necessary, adjust hangar bar length by separating bars, snapping to length at score marks, and reassembling.
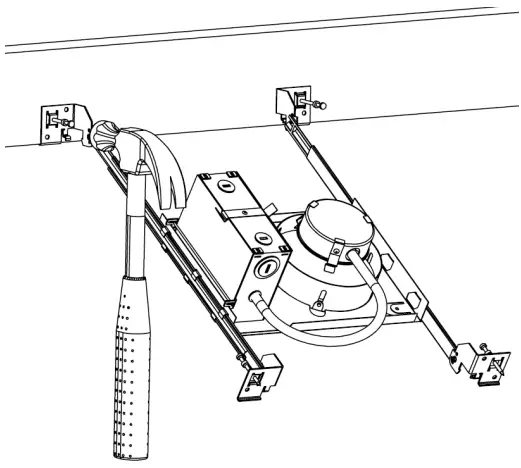
- Position frame between joists, ensuring hangar bars are in the correct position. Bottom edge of hangar bars should be level with the bottom of the joists.
Starting with the swivel foot end of the hangar bar, secure the hangar bars to the joists with the captive nails provided.
- Lift and secure opposite side of frame to ceiling joist.
Position frame in desired place on hangar bars and tighten set screw to lock frame in place.
- Place Frame cap on top of cardboard insulation cover to avoid interference with ceiling surface (sheetrock) installation.

- Connect building power to the frame junction box per the below wiring diagram.

Installing the DLR4 Downlight into the DLR4-Frame
- Carefully unpack the downlight from its packaging. Inspect product for defects due to shipping.
- If using optional colored trim, align trim onto downlight and secure by bending over tabs.
- Push cardboard insulation cover up from frame, moving insulation out of the way. Pull frame cap into room.

- Join the DLR’s female quick connector to the Frame’s male quick connector.

- Align the tabs of the frame cap to the depressions on the DLR and snap the cap in place, making sure no wiring is pinched.

- Align downlight to frame opening.Carefully push the downlight upwards making sure it is flush to the ceiling surface.

- View of properly installed downlight system

GENERAL PRODUCT WARRANTY. Each NICOR product will be free from defect in materials and workmanship for a period of one (1) year from the date of delivery to the end-user. Powder Coat paint finish on products, other than natural aluminum or brass, will not exhibit cracking, peeling, excessive fading, or corrosion during the warranty period. Exceptions apply as defined in each NICOR product’s specification sheets, which are incorporated by reference herein. Warranty does not cover improper installation, operation, alterations, power surges, overheating due to external conditions, or acts of nature including but not limited to lightning strikes.
POLE WARRANTY. Each NICOR Pole will be free from defect in materials and workmanship for a period of (1) year from the date of delivery to the end-user. Powder Coat paint finish on products, other than natural aluminum or brass, will not exhibit cracking, peeling, excessive fading, or corrosion during the warranty period. Poles must be installed by a properly insured and licensed contractor, using the supplied anchor bolts and mounting templates. Using a pole product in any manner other than as disclosed in the Application Specification automatically voids the warranty and may cause failure resulting in injury, death, or significant property damage.
ALL NICOR WARRANTIES APPLY ONLY TO NICOR PRODUCTS THAT HAVE BEEN PURCHASED FROM AN AUTHORIZED NICOR DISTRIBUTOR; WHO PURCHASED THE PRODUCT DIRECTLY FROM NICOR; THE PRODUCT WAS NEW AND IN AN UNOPENED NICOR PACKAGE AT THE TIME OF INSTALLATION; AND WAS INSTALLED BY A LICENSED ELECTRICIAN OR UNDER THE SUPERVISION OF A LICENSED ELECTRICIAN.
This device complies with part 15 of the FCC Rules. Operation is subject to the following two conditions: (1) This device may not cause harmful interference, and (2) this device must accept any interference received, including interference that may cause undesired operation.
NOTE: This equipment has been tested and found to comply with the limits for a Class B digital device, pursuant to part 15 of the FCC Rules.
These limits are designed to provide reasonable protection against harmful interference in a residential installation.
This equipment generates, uses and can radiate radio frequency energy and, if not installed and used in accordance with the instructions, may cause harmful interference to radio communications.
However, there is no guarantee that interference will not occur in a particular installation. If this equipment does cause harmful interference to radio or television reception, which can be determined by turning the equipment off and on, the user is encouraged to try to correct the interference by one or more of the following measures:
- Reorient or relocate the receiving antenna.
- Increase the separation between the equipment and receiver.
- Connect the equipment into an outlet on a circuit different from that to which the receiver is connected.
- Consult the dealer or an experienced radio/TV technician for help
NICOR, Inc. 2200 Midtown Place NE, Albuquerque,
NM 87107
P: 800.821.6283
F: 800.892.8393
www.nicorlighting.com
August 24, 2022 3:12 PM


























