Clarke CS10PRH Tonne Pump Ram and Hose

INTRODUCTION
Thank you for purchasing this CLARKE hydraulic pump, ram & hose. This manual covers the ram and hose which can be used in conjunction with components from the 10 Tonne body repair kits type CS10BRK/CS10SBRK.
Body repair kits are designed for bending chassis frames and vehicle body panels. In most cases, the equipment will only return the vehicle body parts to approximately their original position. Additional work will be required to complete the repair. The hydraulic ram and hose must be connected to the pump unit and suitable accessories. It requires a solid immovable base, directly in line with the damaged area.
Before attempting to use this product, please read this manual thoroughly and follow the instructions carefully. In doing so you will ensure the safety of yourself and that of others around you, and you can look forward to your purchase giving you long and satisfactory service.
SPECIFICATIONS
| CS10PRH | |
| Hose dimensions (L x O/D) | 1350 x 17 mm |
| Hose max operating pressure | 140 psi |
| Ram unit length (ret/ext) | 370 x 512 mm |
| Ram rated operating force | 10 Tonne |
| Ram piston stroke | 142 mm |
| Pump oil capacity | 500 g |
| Pump rated operating pressure | 62 Mpa |
| Pressure relief valve operating pressure | 10 Tonne |
SAFETY PRECAUTIONS
WARNING: THE OPERATOR MUST FOLLOW ALL INSTRUCTIONS WITHIN THIS INSTRUCTION BOOKLET
WORK AREA
- Keep the work area clean and well lit. Cluttered and dark areas invite accidents.
- Keep children and bystanders away while working. Distractions can cause you to lose control and bystanders should be kept at a safe distance from the working area especially when work is in progress.
PERSONAL SAFETY
- Stay alert, watch what you are doing and use common sense when using this equipment. Do not operate this equipment when you are tired, ill or under the influence of alcohol, drugs or medication.
- Do not over-reach. Keep your proper footing and balance at all times. This enables better control of the equipment in unexpected situations.
- Concentrate on the job in hand, no matter how trivial it may seem. Be aware that accidents are caused by carelessness due to familiarity.
- Do not wear loose clothing or jewelry which may get caught in moving parts. Wear protective hair covering to contain long hair. For best footing, wear rubber soled footwear. Keep floor clear of oil, scrap wood, etc.
- Before working on a vehicle with this repair kit, ensure the vehicle is well supported and completely stable.
- Remember that during body repair, there is always the possibility of a fixture slipping or a body part failing, which could cause the vehicle to jolt suddenly. If the vehicle is not adequately supported, it could fall with possibly serious consequences.
- Never use an additional extension handle to operate the pump.
- Never modify this equipment in any way.
- Check the equipment for damage before use. Any damaged part should be discarded and replaced. Check for alignment of parts, breakage of parts, and any other condition that may affect the operation. Any damage should be properly repaired or the part replaced. If in doubt, DO NOT use. Consult your local Clarke dealer.
- Store out of the reach of children and do not allow persons unfamiliar with these instructions to use this product.
ASSEMBLY
When assembling the Hydraulic Ram, Pump unit and attachments, unscrew and retain the plastic end plugs on the connections for future use. Ensure the hydraulic hose is tightly screwed to the connection.
- Screw the Pump Handle into the socket in the pump unit.
- Connect the pump to the ram using the hose.
- Fit a Flat Base to the static end of the ram using a male connector. Connect other attachments to the moving end of the ram as required.

- Various combinations of extension tubes and attachments can be assembled as shown, according to the distance between the work surface and the supporting frame.
For full instructions including the use of the various attachment available, refer to the manual supplied with the CS10BRK/CS10SBRK Body Repair Kits.
OPERATION
Assemble the components including a flat base and as many extension tubes as required.
CAUTION: NOTE THAT WHEN ADDING FURTHER EXTENSION TUBES, THE MAXIMUM RATED LOAD IS REDUCED. (SEE WARNING LABEL)
- Connect the Hydraulic Ram or Hydraulic Spreader to the connecting hose using the screw-on hose connector. Use the male connector to join the ram to your selected attachment or any extension tube.
- To operate the Hydraulic Pump, position it on a stable, level surface close to the damaged area. Close the Release Valve by turning it clockwise and pump the handle to create pressure.
- Turn the Release Valve counter-clockwise to release the pressure.
• The pump may be positioned horizontally or vertically. When using the Hydraulic Ram in a vertical position, always keep the hose end facing downward.
CAUTION: NEVER OVERLOAD THE RAM BEYOND ITS CAPACITY. ENSURE THE BEARING POINT IS STABLE AND PROPERLY CENTRED ABOVE THE RAM. NEVER OVERLOAD THE ATTACHED COMPONENTS BEYOND THEIR RATED CAPACITIES AS STATED IN THE SPECIFICATION.
Always apply the load slowly to be sure that everything is secure. Take care that the load is always in line with the ram.
USING THE RAM
- Determine in which direction the target area needs to be pushed.
- Remove any obstructions that are in the way and could be damaged.
- Connect a Flat Base to the stationary side of the Hydraulic Ram and connect the appropriate attachment to the working end of the Ram.
NOTE: When repairing larger body panel dents such as a dented door, wing or quarter panel, the correct pushing attachment will be the Rubber Head. - Position the Hydraulic Ram so that the flat base is resting against a frame member opposite the damaged area. It must be in line with the direction in which the damaged area needs to be pushed and have enough support that only the damaged area will be displaced by the ram pressure.
• Use soft pads or wooden supports where necessary to protect the body. - Aim the pushing end towards the damaged area and slowly apply pressure with the pump.
- Once contact is established at each end, keep as well clear as practical and slowly apply pressure to the damaged area until the desired correction has been made.
CAUTION: KEEP HANDS AWAY FROM CONTACT AREAS AND TIGHT SPACES IN CASE THE COMPONENTS SHOULD SLIP AND CAUSE INJURY. - When the damaged area has been bent to the desired position, slowly turn the release valve on the pump unit in a counterclockwise direction to release hydraulic pressure before removing the Ram.
FAULTFINDING
| PROBLEM | CAUSE | SOLUTION |
| Ram does not operate when handle is pumped | Release valve not tightly closed. | Firmly close the release valve. |
| Air trapped in system | Purge air from the system by pumping the operating handle. | |
| Ram will not hold load. | Release valve not tightly closed. | Firmly close the release valve. |
| Malfunction in pump such as dirt inside valve mechanism. | Return pump to dealer for overhaul. | |
| Ram reluctant to lower when load removed. | Oil reservoir overfilled. | Drain oil to the correct level |
| Piston binding. | Clean and lubricate moving parts. | |
| Ram will not extend to full range of stroke | Low oil level. | Add hydraulic oil to the reservoir. |
| Ram tries to tilt to one side. | Poor positioning of the footing | Stop work and reposition ram and base, ensuring it is well supported and as close to the perpendicular to the repair as possible. |
MAINTENANCE
If the pump has been stored for long periods, check the oil level before use. Stand the pump on a level surface and remove the breather valve on the oil reservoir. If necessary, top up via the breather valve which is then screwed on finger tight.

NOTE: Only unscrew this when the system is not under pressure.
The oil level should be near the bottom of the opening. If required, oil can be topped top using Clarke Hydraulic Oil. (part no. 3050830 for 1 litre).
After extensive use, the hydraulic oil should be replaced to ensure longer equipment life. Do not overfill, or the piston rod will be unable to move freely. Replace the breather valve after re-filling. The required oil volume is 500 ml + 5ml.
STORAGE
After use, screw the valve cover on to the pump to keep the connection clear of dust and dirt and cover the hydraulic hose end with the plastic cap.
When not in use, the pump should be stored with the release valve open. Store all the equipment in its case in a clean, dry environment protected from the weather.

ENVIRONMENTAL PROTECTION
One of the most damaging sources of environmental pollution is oil products. Never throw away used hydraulic oil with domestic refuse or flush it down a sink or drain. Collect any hydraulic oil in a leak proof container and take it to your local waste disposal site.
If disposing of this product or any damaged components, do not dispose of with general waste. This product contains valuable raw materials and should be taken to your local civic amenity site for recycling of metal products.
PUMP COMPONENT PARTS
| No | Description |
| 1 | Valve Body |
| 2 | Oil Filter |
| 3 | O-ring |
| 4 | Oil Reservoir |
| 5 | Sealing Ring |
| 6 | Thumb Nut |
| 7 | Sealing Ring |
| 8 | Tie Rod |
| 9 | O-ring |
| 10 | Pump Foot |
| 11 | Hydraulic Hose |
| 12 | Coupling |
| 13 | Dust Seal |
| 14 | Steel Ball |
| 15 | O-ring |
| 16 | Release Valve |
| 17 | Sealing Ball |
| 18 | Spring |
| 19 | Screw |
| 20 | Steel Ball |
| 21 | Ball Cup |
| 22 | Spring |
| 23 | Screw |
| 24 | Screw Protector |
| 25 | O-ring |
| 26 | Nylon Sealing Ring |
| 27 | Screw |
| 28 | O-ring Seal |
| 29 | Piston |
| 30 | Hinge Pin |
| 31 | Circlip |
| 32 | Pivot Pin |
| 33 | Handle Socket |
| 34 | Operating Handle |
| 35 | Handle Grip |
| 36 | Screw |
| 37 | Spring |
| 38 | Bushing |
GUARANTEE
This product is guaranteed against faulty manufacture for a period of 12 months from the date of purchase. Please keep your receipt which will be required as proof of purchase.
This guarantee is invalid if the product is found to have been abused or tampered with in any way, or not used for the purpose for which it was intended.
Faulty goods should be returned to their place of purchase, no product can be returned to us without prior permission.
This guarantee does not effect your statutory rights.
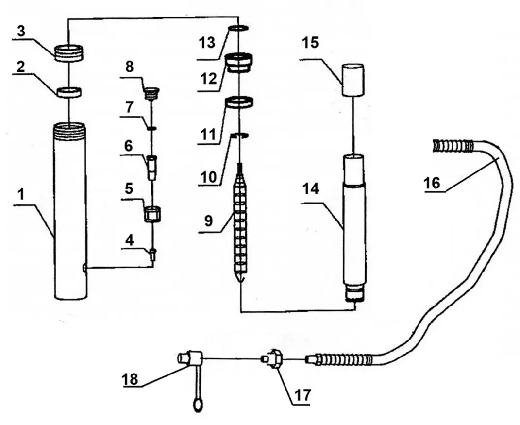
COMPONENT PARTS

| No | Description |
| 1 | Ram Cylinder |
| 2 | Ram Cylinder Seal |
| 3 | Screw Cover |
| 4 | Screw M6 |
| 5 | Connecting Nut |
| 6 | Cylinder Screw |
| 7 | O-ring |
| 8 | Dust Cover |
| 9 | Tension Spring |
| 10 | Circlip |
| 11 | Nylon Sealing Ring |
| 12 | Bushing |
| 13 | O-ring |
| 14 | Piston Rod |
| 15 | Piston End Cover |
| 16 | Hydraulic Hose |
| 17 | Coupling |
| 18 | Dust Seal |
DECLARATION OF CONFORMITY


A SELECTION FROM THE VAST RANGE OF Clarke® QUALITY PRODUCTS


AIR COMPRESSORS
From DIV to industrial, Plus air tools, spray guns and accessories.
GENERATORS
Prime duty or emergency standby for business, home and leisure.
POWER WASHERS
Hot and cold, electric and engine driven – we have what you need.
WELDERS
Mig, Arc, Tig and Spot. From DIV to auto/industrial.
METALWORKING
Drills, grinders and saws for DIV and professional use.
WOODWORKING
Saws, sanders, lathes, mortisers and dust extraction.
HYDRAULICS
Cranes, body repair kits, transmission jacks for all types of workshop use.
WATER PUMPS
Submersible, electric and engine driven for DIV, agriculture and industry.
POWER TOOLS
Angle grinders, cordless drill sets, saws and sanders.
STARTERS/CHARGERS
All sizes for car and commercial use.
Customer Support
PARTS & SERVICE: 028 988 7400
Parts Enquiries
[email protected]
Servicing & Technical Enquiries
[email protected]
SALES: UK 01992 565333 or Export 00 44 (0) 1992565335





















