iDEAL FP14KCX-ALIGNKIT Runway Bolt-On Alignment Kit

NOTE!
(Supplement to the FP14KC-X Lift Installation & Operation Manual)
IMPORTANT!!
READ MANUAL THOROUGHLY BEFORE ASSEMBLING, INSTALLING, OPERATING, OR MAINTAINING ALIGNMENT KIT. WHEN DONE WITH INSTALLATION BE SURE TO RETURN DOCUMENTS TO PACKAGE AND GIVE ALL MATERIALS TO LIFT OWNER / OPERATOR.
Product Description
The iDEAL Runway ‘Bolt-On’ Alignment Kit (FP14KCX-ALIGNKIT) is designed to be applied to the FP14KC-X four post, closed front Service Lift model, allowing to easily convert into a premium Alignment Lift. The FP14KCXALIGNKIT will increase the Runway height by 2 inches. Alignment Turntables not included in Kit.
NOTE: Mounting holes are already predrilled in Runways for quick Runway Alignment Kit installation.
Main Kit Components
- Alignment Wheel Stop
- Front Spacer
- ‘Sliding’ Turntable Pad
- ‘Movable’ Spacer
- Long Spacer
- Rear Slip Plate
- Ramp Support
- Ramp Extension
- Ramp Pivot Pin
Required Tools
- Fork Lift (Recommended to offload Kit package upon delivery & installation assist)
- Crow Bar
- Metric Sockets or Open Wrench Set (13mm thru 18mm)
- Medium Flat & Philip Screwdrivers
- Needle Nose Pliers
- Safety Glasses
- Gloves
Installation Instructions
- Remove bolts that attaches the Wheel Stop & Runway to the Front Crossbeam, if required.
- Position the Front Spacer (#2) on Runway, so the bolt holes align with the Wheel Stop holes and the center hole in Runway – Fig. 2.

- Secure back of Front Spacer to Runway using M8 Bolt & Nut, while also securing the front using M12 x 40mm Bolts – Fig. 2.
NOTE: Alignment Wheel Stop is mounted between Front Spacer & Runway. - Position the ‘sliding’ Turntable Pad (#3), so the front edge is positioned against the rear of the Front Spacer – Fig. 3.

- Center and square the Long Spacer (#5) on Runway. Align the Tab Holes, bolting only the Front Tab to the Runway, secure using M8 Bolt & Nut – Fig. 4.
- Position Movable Spacer (#4) on Runway behind Turntable Pad. Insert the hooks of Movable Spacer into the holes of the Long Spacer – Fig. 5.
- Carefully, center and square the Rear Wheel Slip Plate (#6) on Runway – Fig 6. NOTE: Slip Plate Tabs to be positioned above the top of the Long Spacer Tabs. Also Ensure Pins are positioned to the outside of Runway.
- Remove the Slip Plate L-Pins to gain access to the front holes by angling the front of the Slip Plate. Align the Slip Plate holes to the Tab Holes for the Long Spacer & Runway, secure using M8 Bolts & Nuts noted for – Fig. 6. NOTE: DO NOT Bolt the back end of Slip Plate at this time.

- Position and slide the Ramp Support (#7) Tabs under the rear of the Slip Plate. Access the rear Slip Plate holes by angling the rear of the Slip Plate. Align the rear Slip Plate holes to the Tab Holes for the Ramp Support & Runway, secure using M8 Bolts & Nuts – Fig. 7.

- Insert L-Pins back in Slip Plate holes to secure – Fig 6.
- Remove the Pivot Pin (#9) from Ramp – Fig. 8.
- Position the Ramp Extension (#8) bracket holes to align to the outside of the pivot tube holes on end of Runway. Insert Pivot Pin to secure Ramp Extension & Spacer to end of Runway. Center & secure Pivot Pin with Cotter Pins at each end – Fig 8.

- Ensure all ‘bolt-on’ Alignment Kit components are properly aligned & fully tightened to Runway.
- Apply the same installation steps for the other Runway.
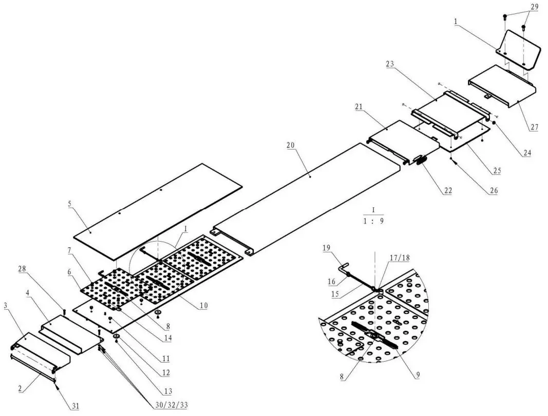
Exploded View 
Parts List
| ITEM | Tux P/N | M-REF P/N | DESCRIPTION | QTY |
| 1 | FP14KCX-ALIGNKIT-001 | TT-8861-700-01 | ‘Align’ Wheel Stop (9.8” Ht.) | 2 |
| 2 | FP14KCX-ALIGNKIT-002 | TT-8861-700-02 | ‘Align’ Pivot Pin (Long) 21.7”L | 2 |
| 3 | FP14KCX-ALIGNKIT-003 | TT-8861-700-03-HJ | Ramp Extension | 2 |
| 4 | FP14KCX-ALIGNKIT-004 | TT-8861-700-05-HJ | Ramp Support | 2 |
| 5 | FP14KCX-ALIGNKIT-005 | TT-8861-700-06-HJ | Top Plate | 2 |
| 6 | FP14KCX-ALIGNKIT-006 | TT-8861-700-07 | Roller Ball Retainer | 6 |
| 7 | FP14KCX-ALIGNKIT-007 | TT-8861-700-08 | Pin Plug | 24 |
| 8 | FP14KCX-ALIGNKIT-008 | TT-8861-700-09 | Retainer Ring | 6 |
| 9 | FP14KCX-ALIGNKIT-009 | TT-8861-700-10 | Spring | 12 |
| 10 | FP14KCX-ALIGNKIT-010 | TT-8861-700-11-HJ | Base Plate | 2 |
| 11 | FP14KCX-ALIGNKIT-011 | TT-8861-700-12 | Nylon Pin | 24 |
| 12 | FP14KCX-ALIGNKIT-012 | TT-8861-700-13 | Nylon Washer | 6 |
| 13 | FP14KCX-ALIGNKIT-013 | GB70.3-2000 M8X16 | Screw, M8 x 16mm | 6 |
| 14 | FP14KCX-ALIGNKIT-014 | TT-8861-700-14 | Roller Balls | 396 |
| 15 | FP14KCX-ALIGNKIT-015 | TT-8861-700-15 | Link Chain | 4 |
| 16 | FP14KCX-ALIGNKIT-016 | TT-8861-700-16 | Ring | 8 |
| 17 | FP14KCX-ALIGNKIT-017 | TT-8861-700-17 | Terminal Ring | 4 |
| 18 | FP14KCX-ALIGNKIT-018 | GB818-2000 M6X10 | Screw, M6 x 10mm | 4 |
| 19 | FP14KCX-ALIGNKIT-019 | TT-8861-700-18 | L-Pin | 4 |
| 20 | FP14KCX-ALIGNKIT-020 | TT-8861-700-19-HJ | Long Spacer | 2 |
| 21 | FP14KCX-ALIGNKIT-021 | TT-8861-700-20-HJ | Movable Spacer | 2 |
| 22 | FP14KCX-ALIGNKIT-022 | TT-8861-700-21 | Plastic Handle Pocket | 4 |
| 23 | FP14KCX-ALIGNKIT-023 | TT-8861-700-25-HJ | Sliding Turntable Pad | 2 |
| 24 | FP14KCX-ALIGNKIT-024 | TT-8861-700-26 | Nylon Guide Plug | 8 |
| 25 | FP14KCX-ALIGNKIT-025 | TT-8861-700-27 | Rubber Pad | 2 |
| 26 | FP14KCX-ALIGNKIT-026 | GB819-2000 M6X10 | Recessed Screw, M6 x 10mm | 8 |
| 27 | FP14KCX-ALIGNKIT-027 | TT-8861-700-28-HJ | Front Spacer | 2 |
| 28 | FP14KCX-ALIGNKIT-028 | GB5783/2000 | Bolt, M8 x 40mm | 12 |
| 29 | FP14KCX-ALIGNKIT-029 | GB/T5789-1986 | Bolt, M12 x 40mm | 4 |
| 30 | FP14KCX-ALIGNKIT-030 | GB6170-2000 M8 | Nut, M8 | 12 |
| 31 | FP14KCX-ALIGNKIT-031 | GB/T91-2000 5X40 | Cotter Pin | 4 |
| 32 | FP14KCX-ALIGNKIT-032 | GB93-1987 D8 | Lock Washer, D8 | 12 |
| 33 | FP14KCX-ALIGNKIT-033 | GB95-1985 D8 | Flat Washer, D8 | 12 |
LIMITED WARRANTY
Structural Warranty:
The following parts and structural components carry a five-year warranty:
| Columns | Arms | Uprights | Swivel Pins |
| Legs | Carriages | Overhead Beam | |
| Tracks | Cross Rails | Top Rail Beam |
Limited One-Year Warranty:
Tuxedo Distributors, LLC (iDEAL) offers a limited one-year warranty to the original purchaser of Lifts and Wheel Service equipment in the United States and Canada. Tuxedo will replace, without charge, any part found defective in materials or workmanship under normal use, for a period of one year after purchase. The purchaser is responsible for all shipping charges. This warranty does not apply to equipment that has been improperly installed or altered or that has not been operated or maintained according to specifications.
Other Limitations:
This warranty does not cover:
- Parts needed for normal maintenance
- Wear parts, including but not limited to cables, slider blocks, chains, rubber pads and pulleys
- Replacement of lift and tire changer cylinders after the first 30 days. A seal kit and installation instructions will be sent for repairs thereafter.
- On-site labor
Upon receipt, the customer must visually inspect the equipment for any potential freight damage before signing clear on the shipping receipt. Freight damage is not considered a warranty issue and therefore must be noted for any potential recovery with the shipping company.
The customer is required to notify Tuxedo of any missing parts within 72 hours. Timely notification must be received to be covered under warranty.
Tuxedo will replace any defective part under warranty at no charge as soon as such parts become available from the manufacturer. No guarantee is given as to the immediate availability of replacement parts.
Tuxedo reserves the right to make improvements and/or design changes to its lifts without any obligation to previously sold, assembled, or fabricated equipment.
There is no other express warranty on the Tuxedo lifts and this warranty is exclusive of and in lieu of all other warranties, expressed or implied, including all warranties of merchantability and fitness for a particular purpose.
To the fullest extent allowed by law, Tuxedo shall not be liable for loss of use, cost of cover, lost profits, inconvenience, lost time, commercial loss or other incidental or consequential damages.
This Limited Warranty is granted to the original purchaser only and is not transferable or assignable.
Some states do not allow exclusion or limitation of consequential damages or how long an implied warranty lasts, so the above limitations and exclusions may not apply. This warranty gives you specific legal rights and you may have other rights, which may vary from state to state.
8320 E Hwy 67, Alvarado, TX 76009
Ph. 817-558-9337
Fax 817-558-9740

























